Geben Sie hier Ihre MwSt.-Nummer ein und klicken Sie auf Überprüfen:
Sie brauchen den Ländercode Ihrer MwSt.-Nummer nicht einzugeben, da dieser bereits oben in Ihrer Rechnungsadresse ausgewählt wurde.
Ihre Angaben wurden überprüft. MwSt.-Nummer registriert auf:
,
.
Ihre Bestellung ist nun mehrwertsteuerfrei. Wir behalten uns das Recht vor, diese Angaben nach Ihrer Bestellung zu überprüfen und gegebenenfalls die Mehrwertsteuer wieder einzuführen.
Ihre MwSt.-Angaben wurden nicht erkannt oder waren ungültig. Ihre MwSt.-Nummer muss mit Ihrem Rechnungsland übereinstimmen, wie oben angegeben. Dies ist derzeit als angegeben. Sie brauchen den Ländercode Ihrer MwSt.-Nummer nicht einzugeben, da Sie diesen bereits in den Angaben zu Ihrer Rechnungsadresse oben ausgewählt haben.
Der Dienst zur Überprüfung von MwSt.-Nummern ist derzeit offline. Bitte geben Sie Ihre MwSt.-Daten im Feld „Kommentare“ oder „Besondere Hinweise“ unten an, und wir werden nach Ihrer Bestellung einen MwSt.-Rabatt gewähren.
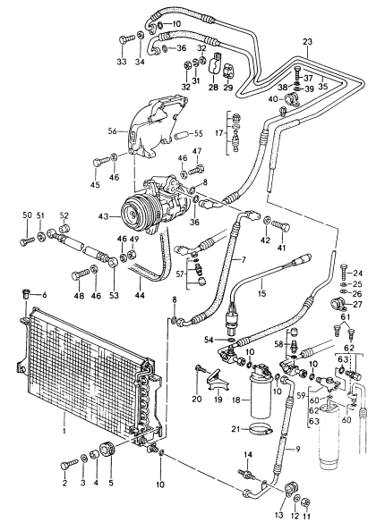
Passend für:
Fahrzeuge mit Kältemittel R134A (PR KK1)
Porsche 95B-1 Macan 2.0L I4 2014-18
Porsche 95B-2 Macan 2.0L I4 2019-21
Porsche 95B-3 Macan 2.0L I4 2022>>
Porsche 95B-3 Macan T 2.0L I4 2022>>
Diagramm-Nr. 1.
HINWEIS: Dieser Kompressor ist nur mit Fahrzeugen kompatibel, die das Kältemittel R134a verwenden (Optionscode KK1). Im Zweifelsfall überprüfen Sie bitte den Aufkleber im Motorraum oder kontaktieren Sie uns mit Ihrer Fahrzeugidentifikationsnummer (FIN) zur Bestätigung.
Zugehörige Referenznummern
Verwandte, ersetzte, Querverweisoder Alternativnummern zum Vergleich.
PAB820803
Das von Ihnen angezeigte Produkt verweist auf diese Nummern
- Porsche 95B.1 Macan Petrol 2.0L (237Bhp) 2014-18
- Porsche 95B.2 Macan Petrol 2.0L (245Bhp) 2019-21
- Porsche 95B.3 Macan Petrol 2.0L (265Bhp) 2022>>
- Porsche 95B.3 Macan T Petrol 2.0L (265Bhp) 2022>>


