Geben Sie hier Ihre MwSt.-Nummer ein und klicken Sie auf Überprüfen:
Sie brauchen den Ländercode Ihrer MwSt.-Nummer nicht einzugeben, da dieser bereits oben in Ihrer Rechnungsadresse ausgewählt wurde.
Ihre Angaben wurden überprüft. MwSt.-Nummer registriert auf:
,
.
Ihre Bestellung ist nun mehrwertsteuerfrei. Wir behalten uns das Recht vor, diese Angaben nach Ihrer Bestellung zu überprüfen und gegebenenfalls die Mehrwertsteuer wieder einzuführen.
Ihre MwSt.-Angaben wurden nicht erkannt oder waren ungültig. Ihre MwSt.-Nummer muss mit Ihrem Rechnungsland übereinstimmen, wie oben angegeben. Dies ist derzeit als angegeben. Sie brauchen den Ländercode Ihrer MwSt.-Nummer nicht einzugeben, da Sie diesen bereits in den Angaben zu Ihrer Rechnungsadresse oben ausgewählt haben.
Der Dienst zur Überprüfung von MwSt.-Nummern ist derzeit offline. Bitte geben Sie Ihre MwSt.-Daten im Feld „Kommentare“ oder „Besondere Hinweise“ unten an, und wir werden nach Ihrer Bestellung einen MwSt.-Rabatt gewähren.
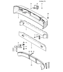
930 WIDEBODY Dichtungen für hintere Stoßstange Standardkarosserie 1983-89
Passt:
Porsche 930 1983-89
Klicken Sie auf Zoom in, um zu sehen, was Sie in diesem Paket erhalten.
Paket beinhaltet:
1 FALTENBALG HINTEN Links
1 FALTENBALG HINTEN Rechts
2 BALGSCHELLE
8 UNTERLEGSCHEIBE FÜR HINTEREN STOSSFÄNGER
8 UNTERLEGSCHEIBE FÜR HINTEREN STOSSFÄNGER
8 UNTERLEGSCHEIBE FÜR HINTEREN STOSSFÄNGER
8 SICHERUNGSMUTTER DES HINTEREN STOSSFÄNGERS
1 DICHTUNG HECKSCHWANZ AN STOSSFÄNGER
1 STOSSSTANGENGUMMI HINTEN - RECHTS
1 STOßSTANGE ECKE GUMMI HINTEN - LINKS
1 HINTERER STOßSTANGE GUMMI - KAPPE (Kunststoffeinsatzkappe)
2 SCHRAUBENABDECKUNGSSTOPFEN FÜR HINTEREN STOßSTANGE
4 SECHSKANTMUTTER DES HINTEREN STOSSFÄNGERS
4 UNTERLEGSCHEIBE FÜR HINTEREN STOSSFÄNGER
2 TÜLLE FÜR HINTEREN STOSSFÄNGER
1 OBERE DICHTUNG HINTERER STOSSFÄNGER
Zugehörige Referenznummern
Verwandte, ersetzte, Querverweisoder Alternativnummern zum Vergleich.
SEALKIT9304
Das von Ihnen angezeigte Produkt verweist auf diese Nummern
- Porsche 911 1978-1989 3.3L Turbo (930)
-
109-00
-
202-10
-
401-00
-
403-00
-
501-00
-
702-00
-
702-05
-
702-10
-
801-20
-
801-30
-
802-00
-
802-05
-
803-00
-
803-05
-
809-05
-
809-15
-
811-00
-
811-13
-
813-00
-
813-10
-
813-30
-
813-35
-
813-55
-
902-05
-
905-00
-
907-00
-
104-01
-
105-00
-
107-05
-
108-10
-
109-00
-
401-00
-
501-00
-
702-00
-
702-05
-
702-06
-
702-07
-
801-20
-
801-30
-
801-31
-
802-00
-
802-01
-
802-05
-
803-05
-
804-00
-
702-00
-
702-10
-
702-15
-
801-20
-
801-40
-
803-00
-
803-05
-
104-01
-
105-00
-
107-05
-
108-10
-
109-00
-
809-05
-
809-15
-
811-12
-
811-21
-
813-00
-
813-10
-
813-20
-
813-55
-
880-20
-
901-02
-
904-00
-
905-00
-
907-00
-
907-01
-
401-00
-
403-00
-
501-00
-
702-00
-
702-05
-
702-10
-
702-10
-
811-00
-
811-12
-
811-13
-
811-21
-
813-00
-
801-20
-
801-30
-
802-00
-
802-01
-
802-05
-
803-05
-
804-00
-
809-05
-
811-00
-
813-00
-
813-10
-
813-11
-
813-20
-
813-55
-
813-60
-
905-10
-
401-00
-
501-00
-
702-00
-
702-05
-
702-10
-
702-15
-
702-20
-
807-05
-
807-05
-
809-05
-
809-15
-
907-00
-
401-00
-
501-00
-
702-05
-
801-30
-
802-00
-
802-05
-
804-00
-
813-05
-
801-20
-
801-30
-
802-00
-
802-05
-
803-00
-
803-05
-
804-00
-
805-05
-
809-00
-
809-05
-
811-00
-
813-00
-
813-05
-
813-15
-
813-45
-
813-65
-
905-00
-
909-00
-
202-00
-
401-00
-
401-05
-
401-10
-
501-00
-
501-05
-
702-00
-
702-05
-
702-10
-
702-15
-
801-10
-
801-20
-
801-30
-
802-00
-
802-05
-
802-10
-
802-15
-
803-00
-
803-05
-
804-00
-
804-20
-
807-10
-
809-01
-
809-03
-
810-00
-
811-00
-
813-00
-
813-05
-
813-15
-
813-20
-
903-15
-
905-15
-
202-00
-
202-10
-
401-00
-
501-00
-
702-00
-
702-05
-
702-10
-
801-20
-
801-30
-
802-00
-
802-05
-
803-00
-
803-05
-
803-10
-
804-00
-
809-00
-
809-05
-
811-00
-
813-00
-
813-05
-
813-45
-
813-65
-
905-00
-
803-10
-
901-02
-
905-00
-
905-05
-
811-00
-
801-43
-
802-05
-
803-15
-
804-04
-
805-10
-
807-05
-
809-05
-
811-00
-
811-12
-
811-21
-
813-01
-
813-05
-
813-22
-
813-30
-
813-40
-
901-05
-
903-10
-
907-01
-
101-05
-
104-01
-
109-00
-
330-00
-
401-00
-
403-06
-
502-00
-
901-02
-
101-05
-
109-00
-
302-01
-
401-00
-
304-05
-
330-00
-
803-15
-
803-25
-
902-05
-
807-05
-
809-02
-
811-00
-
811-20
-
811-35
-
813-01
-
813-40
-
801-45
-
101-05
-
302-02
-
801-45
-
101-05
-
302-05
-
905-05
-
801-45
-
101-05
-
101-05
-
801-045
-
801-045
-
107-025
-
302-000
-
302-05
-
302-010
-
401-000
-
501-005
-
701-000
-
701-010
-
901-000
-
901-005
-
901-010
-
104-020
-
107-003
-
107-004
-
107-010
-
202-020
-
302-000
-
401-000
-
501-000
-
701-020
-
802-000
-
802-010
-
808-010
-
811-000
-
811-005
-
811-015
-
811-035
-
901-000
-
901-003
-
904-010
-
113-000
-
115-005
-
119-000
-
201-000
-
201-005
-
202-000
-
401-000
-
702-000
-
702-005
-
801-005
-
802-005
-
802-010
-
803-000
-
807-005
-
810-000
-
813-000
-
898-000
-
901-000
-
905-000
-
103-005
-
103-010
-
109-000
-
201-005
-
310-000
-
702-000
-
702-005
-
801-020
-
802-005
-
811-020
-
813-015
-
901-005
-
902-000
-
902-010
-
903-006
-
909-000
-
911-000
-
201-000
-
201-015
-
302-000
-
306-000
-
312-000
-
401-000
-
402-005
-
501-005
-
502-000
-
702-000
-
801-020
-
802-000
-
803-000
-
809-010
-
813-020
-
813-030
-
813-035
-
813-040
-
813-050
-
901-000
-
901-005
-
902-000
-
905-000
-
998-000

