Verteiler
Ein Konstruktionsfehler bei Motoren bis August 1993, den Sie beheben MÜSSEN, falls dies noch nicht geschehen ist, besteht darin, den Verteiler zu entlüften, um zu verhindern, dass Ozon den Verteilerantriebsriemen zerstört. Wenn dies bricht, laufen Sie auf einem Stecker pro Zylinder und haben am Ende eine schlechte Leistung und mögliche Schäden.
Die Lösungen müssen auch mit einem Entlüftungskit ausgestattet werden.
Passt:
Porsche 964 1990-94
Porsche 993 1995-97
Zugehörige Referenznummern
Verwandte, ersetzte, Querverweisoder Alternativnummern zum Vergleich.
DISTKIT964
Das von Ihnen angezeigte Produkt verweist auf diese Nummern
- Porsche 964 (911) C2 1989-93
- Porsche 964 (911) C4 1989-93
- Porsche 964 (911) RS 3.6L 1991-93
- Porsche 964 (911) RS 3.8L 1991-93
- Porsche 964 (911) TURBO 3.3L 1991-93
- Porsche 964 (911) TURBO 3.6L 1991-93
- Porsche 993 (911) C2 1994-97
- Porsche 993 (911) C4 1994-97
- Porsche 993 (911) RS 1994-97
- Porsche 993 (911) C2S 1994-97
- Porsche 993 (911) C4S 1994-97

Passend für:
Porsche 964 – 1989 bis 1994
Porsche 993 – 1994 bis 1998
Produktbeschreibung
Dieses Kit warnt den Fahrer eines Porsche 964/993 vor einem katastrophalen Ausfall des Verteilerriemens. Der Ausfall des Antriebsriemens des Sekundärverteilerkopfs führt zu schweren Schäden am Motor, wenn das Fahrzeug mit einem gerissenen Riemen weiter gefahren wird. Das Kit lässt sich in das vorhandene Keilriemenwarnsystem des Motorkühlsystems integrieren.
Wenn nach der Installation der Verteilerriemen reißt, leuchtet die Warnleuchte für den Keilriemen auf dem Armaturenbrett des Fahrzeugs auf. Eine Sichtprüfung des Motorraums zeigt, ob der Grund für das Aufleuchten der Armaturenbrettleuchte ein defekter Lüfterriemen oder ein defekter Verteilerriemen ist.
Das Kit beinhaltet:
• Abdeckung mit integrierter Steuerelektronik
• Satz Verbindungskabel
• Kabelbinder
• 2 x Neodym-Magnete (5x4x2), vormontiert im Schrumpfschlauch
• 1 Tube Haftgel (20-30 Sekunden Trocknungszeit zum Aufkleben der Magnete)
• 1 Halteplatte für Sensorelement (blau eloxierte Aluminiumplatte)
• 1 Sensorelementbaugruppe
• 1 Alkohol-Reinigungspad (zur Reinigung der Klebeflächen der Metalllaschen im Verteiler)
Bitte beachten Sie
Verteiler nicht im Kit enthalten
Zugehörige Referenznummern
Verwandte, ersetzte, Querverweisoder Alternativnummern zum Vergleich.
96499320
Das von Ihnen angezeigte Produkt verweist auf diese Nummern
- Porsche 964 (911) C2 1989-93
- Porsche 964 (911) C4 1989-93
- Porsche 964 (911) RS 3.6L 1991-93
- Porsche 964 (911) RS 3.8L 1991-93
- Porsche 993 (911) C2 1994-97
- Porsche 993 (911) C4 1994-97
- Porsche 993 (911) RS 1994-97
- Porsche 993 (911) C2S 1994-97
- Porsche 993 (911) C4S 1994-97
Mit der Zeit können diese Abdeckungen aufgrund von Hitzezyklen und Alter spröde werden, reißen oder sich verziehen. In diesem Fall können Schmutz und Feuchtigkeit in den Verteiler gelangen, was zu Fehlzündungen, schlechtem Lauf, Startschwierigkeiten oder sogar einem kompletten Zündausfall führen kann. Bei klassischen Porsche-Modellen 911, 964 und 993 ist dies aufgrund des Alters der Fahrzeuge und der rauen Umgebung im Motorraum ein besonders häufiges Problem. Der Austausch der Staubschutzkappe ist ein einfacher, aber wichtiger Wartungsschritt, um Ihr Zündsystem zu schützen und zuverlässig funktionieren zu lassen. Wenn Sie bereits Ihre Verteilerkappe und Ihren Rotorarm austauschen, wird dringend empfohlen, gleichzeitig die Staubschutzkappe zu erneuern, um eine langfristige Leistung zu gewährleisten.
Passform:
Porsche 911 1978>>1983
Porsche 911 Turbo 1984>>1986
Porsche 911 Carrera 1984>>1986
Porsche 911 Turbo 1987>>1989
Porsche 911 Carrera 1987>>1989
Porsche 964 Carrera 2 / 4 1989>>1993
Porsche 964 Carrera RS 3.6L 1991>>1993
Porsche 993 Carrera 2 / 4 / 2S / 4S 1994>>1997
Porsche 993 Carrera RS 1994>>1997
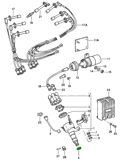
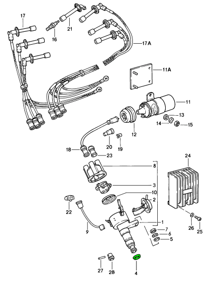
Diagramm Ref Nr. 10
Zugehörige Referenznummern
Verwandte, ersetzte, Querverweisoder Alternativnummern zum Vergleich.
93060290900
Das von Ihnen angezeigte Produkt verweist auf diese Nummern
- Porsche 911 1978-1983 3.0L / SC
- Porsche 911 1984-1986 3.2L
- Porsche 911 1987-1989 3.2L G50
- Porsche 911 1978-1989 3.3L Turbo (930)
- Porsche 964 (911) C2 1989-93
- Porsche 964 (911) C4 1989-93
- Porsche 964 (911) RS 3.6L 1991-93
- Porsche 993 (911) C2 1994-97
- Porsche 993 (911) C4 1994-97
- Porsche 993 (911) RS 1994-97
- Porsche 993 (911) C2S 1994-97
- Porsche 993 (911) C4S 1994-97

Passt:
Porsche 911 1970-89
Porsche 911 (930) Turbo 1975-89
Porsche 964 1989-94 alle Modelle
Porsche 993 1995-98 alle Modelle
Klicken Sie auf „Vergrößern“, um ein großes Teilediagramm anzuzeigen.
Diagramm Nr. 4
Zugehörige Referenznummern
Verwandte, ersetzte, Querverweisoder Alternativnummern zum Vergleich.
91160210201
Das von Ihnen angezeigte Produkt verweist auf diese Nummern
- Porsche 911 1968-1973 2.2L / 2.4L / 2.7L RS LWB (F)
- Porsche 911 1974-1977 2.7L / 1976-77 3.0 Carrera
- Porsche 911 1978-1983 3.0L / SC
- Porsche 911 1984-1986 3.2L
- Porsche 911 1987-1989 3.2L G50
- Porsche 911 1975-1977 3.0L Turbo (930)
- Porsche 911 1978-1989 3.3L Turbo (930)
- Porsche 964 (911) C2 1989-93
- Porsche 964 (911) C4 1989-93
- Porsche 964 (911) RS 3.6L 1991-93
- Porsche 964 (911) RS 3.8L 1991-93
- Porsche 964 (911) TURBO 3.3L 1991-93
- Porsche 964 (911) TURBO 3.6L 1991-93
- Porsche 993 (911) C2 1994-97
- Porsche 993 (911) C4 1994-97
- Porsche 993 (911) RS 1994-97
- Porsche 993 (911) C2S 1994-97
- Porsche 993 (911) C4S 1994-97
- Porsche 993 (911) TURBO 1994-96
- Porsche 993 (911) GT2 1994-97
- Porsche 993 (911) TURBO S 1994-97

Passform:
Porsche 911 1970-89
Porsche 911 (930) Turbo 1975-89
Porsche 964 1989-94 alle Modelle
Porsche 993 1995-98 alle Modelle
Klicken Sie auf „Vergrößern“, um das Diagramm großer Teile anzuzeigen.
Diagramm Ref. Nr. 4
Zugehörige Referenznummern
Verwandte, ersetzte, Querverweisoder Alternativnummern zum Vergleich.
91160210201
Das von Ihnen angezeigte Produkt verweist auf diese Nummern
- Porsche 911 1968-1973 2.2L / 2.4L / 2.7L RS LWB (F)
- Porsche 911 1974-1977 2.7L / 1976-77 3.0 Carrera
- Porsche 911 1978-1983 3.0L / SC
- Porsche 911 1984-1986 3.2L
- Porsche 911 1987-1989 3.2L G50
- Porsche 911 1975-1977 3.0L Turbo (930)
- Porsche 911 1978-1989 3.3L Turbo (930)
- Porsche 964 (911) C2 1989-93
- Porsche 964 (911) C4 1989-93
- Porsche 964 (911) RS 3.6L 1991-93
- Porsche 964 (911) RS 3.8L 1991-93
- Porsche 964 (911) TURBO 3.3L 1991-93
- Porsche 964 (911) TURBO 3.6L 1991-93
- Porsche 993 (911) C2 1994-97
- Porsche 993 (911) C4 1994-97
- Porsche 993 (911) RS 1994-97
- Porsche 993 (911) C2S 1994-97
- Porsche 993 (911) C4S 1994-97
- Porsche 993 (911) TURBO 1994-96
- Porsche 993 (911) GT2 1994-97
- Porsche 993 (911) TURBO S 1994-97
Passform:
Porsche 964 1989-94
Porsche 993 1995-98
Das Verteiler-Reparaturset enthält:
1 Menge Verteilerzahnriemen
1 Stück Stift für Verteilerritzel
3 Stück. In Deutschland hergestellte Lager
Zugehörige Referenznummern
Verwandte, ersetzte, Querverweisoder Alternativnummern zum Vergleich.
99960296402
Das von Ihnen angezeigte Produkt verweist auf diese Nummern
- Porsche 964 (911) C2 1989-93
- Porsche 964 (911) C4 1989-93
- Porsche 964 (911) RS 3.6L 1991-93
- Porsche 964 (911) RS 3.8L 1991-93
- Porsche 964 (911) TURBO 3.3L 1991-93
- Porsche 964 (911) TURBO 3.6L 1991-93
- Porsche 993 (911) C2 1994-97
- Porsche 993 (911) C4 1994-97
- Porsche 993 (911) RS 1994-97
- Porsche 993 (911) C2S 1994-97
- Porsche 993 (911) C4S 1994-97
- Porsche 993 (911) TURBO 1994-96
- Porsche 993 (911) GT2 1994-97
- Porsche 993 (911) TURBO S 1994-97
Passform:
Porsche 964 1989-94
Porsche 993 1995-98
Das Verteiler-Reparaturset enthält:
3 Stück. In Deutschland hergestellte Lager
1 Menge Verteilerzahnriemen
1 Stück Stift für Verteilerritzel
1 Stück. Unteres Lager aus deutscher Herstellung
Zugehörige Referenznummern
Verwandte, ersetzte, Querverweisoder Alternativnummern zum Vergleich.
99960296403
Das von Ihnen angezeigte Produkt verweist auf diese Nummern
- Porsche 964 (911) C2 1989-93
- Porsche 964 (911) C4 1989-93
- Porsche 964 (911) RS 3.6L 1991-93
- Porsche 964 (911) RS 3.8L 1991-93
- Porsche 964 (911) TURBO 3.3L 1991-93
- Porsche 964 (911) TURBO 3.6L 1991-93
- Porsche 993 (911) C2 1994-97
- Porsche 993 (911) C4 1994-97
- Porsche 993 (911) RS 1994-97
- Porsche 993 (911) C2S 1994-97
- Porsche 993 (911) C4S 1994-97
- Porsche 993 (911) TURBO 1994-96
- Porsche 993 (911) GT2 1994-97
- Porsche 993 (911) TURBO S 1994-97
964 Belüftungskit beinhaltet:
- Anschluss Verteilerentlüftung (A)
- Gummitülle (B)
- Weißer Tüllenstecker (C)
- Schlauch (D)
MONTAGEANLEITUNG: Zuerst mit einem Schraubendreher die ovale Platte mit Pfeil auf dem Verteiler lösen. Entfernen Sie dann das große schwarze Luftführungsrohr, da wir dort am grünen Punkt ein Loch bohren müssen. Das Rohr wird durch Lösen der Jubilee-Clips oben und unten entfernt. Sie müssen auch zwei Sensoranschlüsse am Rohr entfernen. Ich habe auch die beiden Sensoren in der Nähe des Verteilers entfernt, damit ich einen einfachen Zugang zur Platte hatte. Bohren Sie ein Loch von 18 mm in das Rohr, 40 mm rechts vom Entlüftungsnippel des Rücklichts. Bohrung entgraten und alle Späne entfernen. Installieren Sie die Gummitülle (B) in dem Loch und den weißen Stecker (C) in der Tülle. Installieren Sie den Verteilerstecker (A) in dem Loch im Verteiler, wo sich die Platte befand. Bringen Sie schließlich die Luftleitung wieder an und schließen Sie alle Sensoren wieder an. Den Schlauch (D) an den Nippeln des neuen Verteilers und der Luftleitung anbringen und verlegen
Passt:
Porsche 964 1990-94
Porsche 993 1995-97
Zugehörige Referenznummern
Verwandte, ersetzte, Querverweisoder Alternativnummern zum Vergleich.
00004320252
Das von Ihnen angezeigte Produkt verweist auf diese Nummern
- Porsche 964 (911) C2 1989-93
- Porsche 964 (911) C4 1989-93
- Porsche 964 (911) RS 3.6L 1991-93
- Porsche 964 (911) RS 3.8L 1991-93
- Porsche 964 (911) TURBO 3.3L 1991-93
- Porsche 964 (911) TURBO 3.6L 1991-93
- Porsche 993 (911) C2 1994-97
- Porsche 993 (911) C4 1994-97
- Porsche 993 (911) RS 1994-97
- Porsche 993 (911) C2S 1994-97
- Porsche 993 (911) C4S 1994-97
Überholter Doppelzündverteiler.
Passform:
Porsche 964 Carrera 1989-94 (nicht Turbo)
Porsche 993 Carrera 1995-98 (nicht Turbo)
BITTE BEACHTEN SIE:
Zugehörige Referenznummern
Verwandte, ersetzte, Querverweisoder Alternativnummern zum Vergleich.
930602015AX
Das von Ihnen angezeigte Produkt verweist auf diese Nummern
- Porsche 964 (911) C2 1989-93
- Porsche 964 (911) C4 1989-93
- Porsche 993 (911) C2 1994-97
- Porsche 993 (911) C4 1994-97
- Porsche 993 (911) C2S 1994-97
- Porsche 993 (911) C4S 1994-97
Verteiler – Präzisionszündung für klassische und moderne Porsche-Modelle
Zündverteiler sind wichtige Komponenten in Porsche-Motoren mit herkömmlichen Zündsystemen. Sie steuern den Zeitpunkt und die Verteilung des elektrischen Stroms von der Zündspule zu jeder Zündkerze und sorgen so für den richtigen Funken zum richtigen Zeitpunkt für optimale Verbrennung, Leistung und Effizienz.
Design911 bietet eine große Auswahl an originalen und hochwertigen Verteilern für klassische und moderne Porsche-Modelle, darunter 911, 924, 928, 944, 968 und frühe Boxster-Varianten. Jeder Verteiler ist auf präzisen Zündzeitpunkt, gleichmäßige Funkenabgabe und zuverlässigen Betrieb ausgelegt und stellt so die Leistung und Fahrbarkeit Ihres Porsche wieder her.
Was machen Distributoren?
Der Verteiler spielt eine Schlüsselrolle im Zündvorgang, indem er:
- Liefert elektrischen Strom von der Zündspule zu den Zündkerzen in der richtigen Zündreihenfolge.
- Steuerung des Zündzeitpunkts basierend auf Motordrehzahl und -last.
- Gewährleistet eine effiziente Verbrennung für gleichmäßige Leistung und reduzierte Emissionen.
- Aufrechterhaltung einer optimalen Leistungsabgabe unter allen Fahrbedingungen.
Bei älteren Porsche-Modellen enthält der Verteiler auch mechanische und Unterdruck-Vorverstellungsmechanismen zur Feineinstellung des Zündzeitpunkts – ein entscheidender Faktor für Leistung und Zuverlässigkeit.
Warum scheitern Distributoren?
Mit der Zeit können mechanische und elektrische Abnutzungserscheinungen zu einer Verschlechterung oder einem Ausfall der Verteiler führen. Häufige Probleme sind:
- Abgenutzte Lager oder Wellen verursachen eine Fehlausrichtung.
- Gebrochene Verteilerkappen, durch die Feuchtigkeit oder Schmutz eindringen können.
- Fehlerhafte Rotorarme oder Kohlenstoffspuren führen zu schwachen oder ungleichmäßigen Funken.
- Korrosion im Inneren der Kappe oder an elektrischen Kontakten.
- Fehlgeschlagene Vorschubmechanismen, die zu Zeitungenauigkeiten führen.
Zu den Symptomen von Verteilerproblemen zählen Fehlzündungen, unrunder Leerlauf, Motorstillstand, hoher Kraftstoffverbrauch oder Startschwierigkeiten.
Warum einen defekten Verteiler ersetzen?
Ein verschlissener oder beschädigter Verteiler kann zu Leistungseinbußen und Zündausfällen führen. Ein Austausch gewährleistet einen reibungslosen Motorbetrieb, effizienten Kraftstoffverbrauch und eine zuverlässige Zündfunkenabgabe.
Zu den Vorteilen des Austauschs gehören:
- Die Genauigkeit des Zündzeitpunkts wurde wiederhergestellt.
- Verbesserte Kraftstoffeffizienz und Gasannahme.
- Beseitigung von Fehlzündungen und Startschwierigkeiten.
- Konstruktion in Herstellerqualität und dauerhafte Zuverlässigkeit.
Unser Sortiment umfasst komplette Verteilerbaugruppen, Kappen, Rotoren und Umbausätze und bietet Leistung und Zuverlässigkeit, die den technischen Standards von Porsche entsprechen oder diese übertreffen.
1. Welche Aufgabe hat ein Verteiler in einem Porsche-Motor?
Ein Verteiler steuert, wann und wie der elektrische Strom von der Zündspule die einzelnen Zündkerzen erreicht. Er stellt sicher, dass der Funke zum richtigen Zeitpunkt im Verbrennungszyklus auftritt und maximiert so Leistung, Effizienz und Motorleistung.
2. Was sind die Symptome eines schlechten Verteilers?
Typische Anzeichen hierfür sind unruhiger Leerlauf, Abwürgen, Fehlzündungen, schlechte Beschleunigung oder Startschwierigkeiten . Auch eine unregelmäßige Zündung oder Probleme mit der Zündzeitpunktsteuerung aufgrund abgenutzter oder beschädigter Verteilerteile können diese Symptome auslösen.
3. Kann ich einen Porsche-Verteiler reparieren oder sollte ich ihn austauschen?
Einige Verteiler können mit Ersatzkappen, Rotoren oder Teilen des Zündverteilermechanismus repariert werden . Bei Verschleiß der Welle oder des Gehäuses empfiehlt sich jedoch ein kompletter Austausch. Ein neuer Verteiler in Herstellerqualität gewährleistet langfristige Zuverlässigkeit und präzisen Zündzeitpunkt.
4. Wie oft sollten Verteilerkappe und Rotor ausgetauscht werden?
Bei älteren Porsche-Modellen mit mechanischer Zündung sollten Zündkerze und Rotor je nach Nutzung und Zustand in der Regel alle 16.000–24.000 km überprüft und alle 48.000–80.000 km ausgetauscht werden . Regelmäßige Wartung beugt Fehlzündungen und Leistungseinbußen vor.