Geben Sie hier Ihre MwSt.-Nummer ein und klicken Sie auf Überprüfen:
Sie brauchen den Ländercode Ihrer MwSt.-Nummer nicht einzugeben, da dieser bereits oben in Ihrer Rechnungsadresse ausgewählt wurde.
Ihre Angaben wurden überprüft. MwSt.-Nummer registriert auf:
,
.
Ihre Bestellung ist nun mehrwertsteuerfrei. Wir behalten uns das Recht vor, diese Angaben nach Ihrer Bestellung zu überprüfen und gegebenenfalls die Mehrwertsteuer wieder einzuführen.
Ihre MwSt.-Angaben wurden nicht erkannt oder waren ungültig. Ihre MwSt.-Nummer muss mit Ihrem Rechnungsland übereinstimmen, wie oben angegeben. Dies ist derzeit als angegeben. Sie brauchen den Ländercode Ihrer MwSt.-Nummer nicht einzugeben, da Sie diesen bereits in den Angaben zu Ihrer Rechnungsadresse oben ausgewählt haben.
Der Dienst zur Überprüfung von MwSt.-Nummern ist derzeit offline. Bitte geben Sie Ihre MwSt.-Daten im Feld „Kommentare“ oder „Besondere Hinweise“ unten an, und wir werden nach Ihrer Bestellung einen MwSt.-Rabatt gewähren.
Stabilisatorbuchsen

Stabilisatoren (ARBs) spielen eine wichtige Rolle im Federungssystem eines Fahrzeugs, indem sie die Kurvenlast von einer Seite des Fahrzeugs auf die andere übertragen und so die Seitenneigung verringern.
Diese Buchsen werden häufig mit Gummibuchsen am Fahrgestell des Fahrzeugs befestigt und sorgen dafür, dass der Stabilisator wie vorgesehen funktioniert. Um zu verhindern, dass sich der Stabilisator beim Wenden seitlich in seinen Halterungen bewegt, kleben Erstausrüster die Buchsen entweder an den Stabilisator, fügen dem Stabilisator selbst Anschläge hinzu oder verlassen sich ausschließlich auf den Klemmdruck des Gummis.
Aber was passiert, wenn diese Buchsen verschleißen und ersetzt werden müssen? Stabilisatoren mit geklebten Buchsen werden oft als teure Komplettbaugruppe geliefert. Die Alternative besteht daher darin, einen kostengünstigeren Ersatz aus ungeklebtem Polyurethan einzubauen, wie wir ihn in vielen Ausführungen anbieten.
In den meisten Fällen verhindert die Reibung der Buchse jede seitliche Bewegung des Stabilisators. Bei aggressiven Kurvenfahrten oder Kurvenfahrten mit höherer Geschwindigkeit verringert ein seitlich verrutschender Stabilisator jedoch die Effizienz und Wirksamkeit des Stabilisators und verändert die Dynamik Ihres Federungssystems auf unvorhersehbare Weise. Es besteht auch die Gefahr, dass der Stabilisator an anderen Stellen des Fahrzeugs oder des Federungssystems haften bleibt.
Größe: 19 mm Stabilisatordurchmesser
Menge: 2 Stück. Zwei Buchsen pro Auto.

Passend für:
Porsche 964 (1989 - 1994)
Porsche 993 (1994 - 1998)
Porsche 968 (1992-1995)
Porsche 944 inkl. S2 und Turbo (1985 - 1991)
Klicken Sie auf „Vergrößern“, um ein Diagramm mit großen Teilen anzuzeigen.
Diagramm Ref. Nr. 17.
Powerflex Black Series – Entwickelt für die Rennstrecke – Bereit zum Rennen – Entwickelt, um die Besten zu sein.
Die Buchsen der Powerflex Black Series werden aus einer 95 Shore A-Mischung hergestellt, um maximale Kontrolle über die Fahrwerksgeometrie zu gewährleisten. Diese Mischung kann bis zu 80 % belastungsbeständiger sein als Standardgummi und 25 % steifer als unser violettes Performance-Material.
Wenn Sie lediglich ein Höchstmaß an Handling und Fahrwerksleistung benötigen, ist die Powerflex Black-Serie einzigartig und bietet die präziseste und genaueste Ausrichtung Ihres Fahrwerks.
Wenn Sie die Gummi-Aufhängungsbuchsen Ihres Autos durch Polyurethan-Aufhängungsbuchsen ersetzen, erhalten Sie:
- Bessere Straßenlage
- Konstante Lenkgeometrie
- Erhöhte Reifenlebensdauer
- Reaktionsschnellere Lenkung
- Längere Lebensdauer der Aufhängungskomponenten
Zugehörige Referenznummern
Verwandte, ersetzte, Querverweisoder Alternativnummern zum Vergleich.
PFF57-209-19BLK
Das von Ihnen angezeigte Produkt verweist auf diese Nummern
- Porsche 964 (911) C2 1989-93
- Porsche 964 (911) C4 1989-93
- Porsche 964 (911) RS 3.6L 1991-93
- Porsche 964 (911) RS 3.8L 1991-93
- Porsche 964 (911) TURBO 3.3L 1991-93
- Porsche 964 (911) TURBO 3.6L 1991-93
- Porsche 993 (911) C2 1994-97
- Porsche 993 (911) C4 1994-97
- Porsche 993 (911) RS 1994-97
- Porsche 993 (911) C2S 1994-97
- Porsche 993 (911) C4S 1994-97
- Porsche 993 (911) TURBO 1994-96
- Porsche 993 (911) GT2 1994-97
- Porsche 993 (911) TURBO S 1994-97
- Porsche 944 2.5L 8V 1982-87
- Porsche 944 2.7L 8V 1988-89
- Porsche 944S 2.5L 16V 1987-88
- Porsche 944S2 3.0L 16V 1989-91
- Porsche 944 Turbo 2.5L 8V 1985-88
- Porsche 944 Turbo 2.5L 8V 1989-91
- Porsche 944 Turbo S 2.5L 8V 1988
- Porsche 968 3.0L 1992-94
- Porsche 968 Sport 3.0L 1994-95
- Porsche 968 CS 3.0L 1993-95
- Porsche 968 Turbo S 3.0L 1993-94
2 pro Auto erforderlich, werden einzeln verkauft.
Größe: 21mm

Passt:
Porsche 911 1986-89 Hinterachse
Porsche 964 C2 1989-94 Hinterachse - Bitte nach Größe auswählen
Porsche 993 Turbo Hinterachse
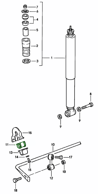
Klicken Sie auf „Vergrößern“, um das Montagediagramm anzuzeigen – Ref. Nr. 11.
Zugehörige Referenznummern
Verwandte, ersetzte, Querverweisoder Alternativnummern zum Vergleich.
477411313M
Das von Ihnen angezeigte Produkt verweist auf diese Nummern
- Porsche 911 1987-1989 3.2L G50
- Porsche 964 (911) C2 1989-93
- Porsche 993 (911) TURBO 1994-96
- Porsche 993 (911) GT2 1994-97
- Porsche 993 (911) TURBO S 1994-97
Pro Auto werden 2 benötigt, einzeln verkauft.
Passform:
Porsche 911 1986 Hinterachse
Porsche 911 1987-89 G50 Hinterachse
Porsche 964 C2 1989-94 Hinterachse - Bitte nach Größe auswählen
Porsche 993 Turbo Hinterachse
Klicken Sie auf „Vergrößern“, um das Einbaudiagramm anzuzeigen – Ref.-Nr. 11.
Zugehörige Referenznummern
Verwandte, ersetzte, Querverweisoder Alternativnummern zum Vergleich.
477411313M
Das von Ihnen angezeigte Produkt verweist auf diese Nummern
- Porsche 911 1984-1986 3.2L
- Porsche 911 1987-1989 3.2L G50
- Porsche 964 (911) C2 1989-93
- Porsche 993 (911) TURBO 1994-96
- Porsche 993 (911) GT2 1994-97
- Porsche 993 (911) TURBO S 1994-97
2ER-SET.
Wenn Sie die Gummi-Aufhängungsbuchsen Ihres Autos durch Polyurethan-Aufhängungsbuchsen ersetzen, erhalten Sie:
- Bessere Straßenlage
- Konstante Lenkgeometrie
- Erhöhte Reifenlebensdauer
- Reaktionsschnellere Lenkung
- Längere Lebensdauer der Aufhängungskomponenten
Passend für:
Porsche 911 1965-98
Porsche 924 1977-88
Porsche 944 1982-91
Porsche 968 1992-95
Porsche 928 1978-95
Porsche 356 1950-65
Porsche 914 1970-76
Klicken Sie auf „Vergrößern“, um ein Diagramm mit großen Teilen anzuzeigen.
Diagramm Nr. 11
Zugehörige Referenznummern
Verwandte, ersetzte, Querverweisoder Alternativnummern zum Vergleich.
PFF57-209-
Das von Ihnen angezeigte Produkt verweist auf diese Nummern
- Porsche 911 1965-1968 2.0L / 912 SWB (F)
- Porsche 911 1968-1973 2.2L / 2.4L / 2.7L RS LWB (F)
- Porsche 964 (911) C2 1989-93
- Porsche 964 (911) C4 1989-93
- Porsche 964 (911) RS 3.6L 1991-93
- Porsche 964 (911) RS 3.8L 1991-93
- Porsche 964 (911) TURBO 3.3L 1991-93
- Porsche 964 (911) TURBO 3.6L 1991-93
- Porsche 993 (911) C2 1994-97
- Porsche 993 (911) C4 1994-97
- Porsche 993 (911) RS 1994-97
- Porsche 993 (911) C2S 1994-97
- Porsche 993 (911) C4S 1994-97
- Porsche 993 (911) TURBO 1994-96
- Porsche 993 (911) GT2 1994-97
- Porsche 993 (911) TURBO S 1994-97
- Porsche 924 2.0L 1976-79
- Porsche 924 2.0L 1980-85
- Porsche 924 Turbo 2.0L 1979-81
- Porsche 924 Turbo 2.0L 1982-84
- Porsche 924 Carrera GT 2.0L 1981
- Porsche 924 Carrera GTS 2.0L 1982
- Porsche 924S 2.5L 1986-87
- Porsche 924S 2.5L 1988
- Porsche 944 2.5L 8V 1982-87
- Porsche 944 2.7L 8V 1988-89
- Porsche 944S 2.5L 16V 1987-88
- Porsche 944S2 3.0L 16V 1989-91
- Porsche 944 Turbo 2.5L 8V 1985-88
- Porsche 944 Turbo 2.5L 8V 1989-91
- Porsche 944 Turbo S 2.5L 8V 1988
- Porsche 968 3.0L 1992-94
- Porsche 968 Sport 3.0L 1994-95
- Porsche 968 CS 3.0L 1993-95
- Porsche 968 Turbo S 3.0L 1993-94
- Porsche 928 4.5L 1978-82
- Porsche 928S 4.7L 1981-83
- Porsche 928S2 4.7L 1984-86
- Porsche 928S4 5.0L 1987-92
- Porsche 928GT 5.0L 1989-91
- Porsche 928GTS 5.4L 1992-95
- Porsche 356A 1955-59
- Porsche 356B 1959-63
- Porsche 356C 1963-65
- Porsche 914 (1970-1976)
2ER-SET

Passend für:
Porsche 911 1965-98
Porsche 924 1977-88
Porsche 944 1982-91
Porsche 968 1992-95
Porsche 928 1978-95
Porsche 356 1950-65
Porsche 914 1970-76
Wenn Sie die Gummi-Aufhängungsbuchsen Ihres Autos durch Polyurethan-Aufhängungsbuchsen ersetzen, erhalten Sie:
- Bessere Straßenlage
- Konstante Lenkgeometrie
- Erhöhte Reifenlebensdauer
- Reaktionsschnellere Lenkung
- Längere Lebensdauer der Aufhängungskomponenten
Klicken Sie auf „Vergrößern“, um ein Diagramm mit großen Teilen anzuzeigen.
Diagramm Nr. 11
Zugehörige Referenznummern
Verwandte, ersetzte, Querverweisoder Alternativnummern zum Vergleich.
SPF0134-
Das von Ihnen angezeigte Produkt verweist auf diese Nummern
- Porsche 911 1965-1968 2.0L / 912 SWB (F)
- Porsche 911 1968-1973 2.2L / 2.4L / 2.7L RS LWB (F)
- Porsche 911 1974-1977 2.7L / 1976-77 3.0 Carrera
- Porsche 911 1978-1983 3.0L / SC
- Porsche 911 1984-1986 3.2L
- Porsche 911 1987-1989 3.2L G50
- Porsche 911 1975-1977 3.0L Turbo (930)
- Porsche 911 1978-1989 3.3L Turbo (930)
- Porsche 964 (911) C2 1989-93
- Porsche 964 (911) C4 1989-93
- Porsche 964 (911) RS 3.6L 1991-93
- Porsche 964 (911) RS 3.8L 1991-93
- Porsche 964 (911) TURBO 3.3L 1991-93
- Porsche 964 (911) TURBO 3.6L 1991-93
- Porsche 993 (911) C2 1994-97
- Porsche 993 (911) C4 1994-97
- Porsche 993 (911) RS 1994-97
- Porsche 993 (911) C2S 1994-97
- Porsche 993 (911) C4S 1994-97
- Porsche 993 (911) TURBO 1994-96
- Porsche 993 (911) GT2 1994-97
- Porsche 993 (911) TURBO S 1994-97
- Porsche 924 2.0L 1976-79
- Porsche 924 2.0L 1980-85
- Porsche 924 Turbo 2.0L 1979-81
- Porsche 924 Turbo 2.0L 1982-84
- Porsche 924 Carrera GT 2.0L 1981
- Porsche 924 Carrera GTS 2.0L 1982
- Porsche 924S 2.5L 1986-87
- Porsche 924S 2.5L 1988
- Porsche 944 2.5L 8V 1982-87
- Porsche 944 2.7L 8V 1988-89
- Porsche 944S 2.5L 16V 1987-88
- Porsche 944S2 3.0L 16V 1989-91
- Porsche 944 Turbo 2.5L 8V 1985-88
- Porsche 944 Turbo 2.5L 8V 1989-91
- Porsche 944 Turbo S 2.5L 8V 1988
- Porsche 968 3.0L 1992-94
- Porsche 968 Sport 3.0L 1994-95
- Porsche 968 CS 3.0L 1993-95
- Porsche 968 Turbo S 3.0L 1993-94
- Porsche 928 4.5L 1978-82
- Porsche 928S 4.7L 1981-83
- Porsche 928S2 4.7L 1984-86
- Porsche 928S4 5.0L 1987-92
- Porsche 928GT 5.0L 1989-91
- Porsche 928GTS 5.4L 1992-95
- Porsche 356A 1955-59
- Porsche 356B 1959-63
- Porsche 356C 1963-65
- Porsche 914 (1970-1976)

Passt:
für Fahrzeuge mit Sportfahrwerk
Porsche 964 Carrera 2/4 1991-1994
Porsche 993 1994-1998
Klicken Sie auf „Vergrößern“, um ein großes Teilediagramm anzuzeigen.
Diagramm Nr. 2
Zugehörige Referenznummern
Verwandte, ersetzte, Querverweisoder Alternativnummern zum Vergleich.
96434379222
Das von Ihnen angezeigte Produkt verweist auf diese Nummern
- Porsche 964 (911) C2 1989-93
- Porsche 964 (911) C4 1989-93
- Porsche 993 (911) C2 1994-97
- Porsche 993 (911) C4 1994-97
- Porsche 993 (911) RS 1994-97
- Porsche 993 (911) C2S 1994-97
- Porsche 993 (911) C4S 1994-97
- Porsche 993 (911) TURBO 1994-96
- Porsche 993 (911) GT2 1994-97
- Porsche 993 (911) TURBO S 1994-97

Passt:
Porsche 964 Carrera 2/4 1991-1994
Porsche 993 1994-1998
für Fahrzeuge mit Option Sportfahrwerk M030
Klicken Sie auf „Vergrößern“, um ein großes Teilediagramm anzuzeigen.
Diagramm Nr. 2
Zugehörige Referenznummern
Verwandte, ersetzte, Querverweisoder Alternativnummern zum Vergleich.
96434379222
Das von Ihnen angezeigte Produkt verweist auf diese Nummern
- Porsche 964 (911) C2 1989-93
- Porsche 964 (911) C4 1989-93
- Porsche 993 (911) C2 1994-97
- Porsche 993 (911) C4 1994-97
- Porsche 993 (911) RS 1994-97
- Porsche 993 (911) C2S 1994-97
- Porsche 993 (911) C4S 1994-97
- Porsche 993 (911) TURBO 1994-96
- Porsche 993 (911) GT2 1994-97
- Porsche 993 (911) TURBO S 1994-97
2er-Set.
Wenn Sie die Gummi-Aufhängungsbuchsen Ihres Autos durch Polyurethan-Aufhängungsbuchsen ersetzen, erhalten Sie:
- Bessere Straßenlage
- Konstante Lenkgeometrie
- Erhöhte Lebensdauer der Reifen
- Besser ansprechende Lenkung
- Längere Lebensdauer der Aufhängungskomponenten
Passt:
Porsche 911 1965-98
Porsche 924 1977-88
Porsche 944 1982-91
Porsche 968 1992-95
Porsche 928 1978-95
Porsche 356 1950-65
Porsche 914 1970-76
Diagramm Nr. 11
Zugehörige Referenznummern
Verwandte, ersetzte, Querverweisoder Alternativnummern zum Vergleich.
PFF57-306-
Das von Ihnen angezeigte Produkt verweist auf diese Nummern
- Porsche 964 (911) C2 1989-93
- Porsche 964 (911) C4 1989-93
- Porsche 964 (911) TURBO 3.3L 1991-93
- Porsche 964 (911) TURBO 3.6L 1991-93
- Porsche 993 (911) C2 1994-97
- Porsche 993 (911) C4 1994-97
- Porsche 993 (911) RS 1994-97
- Porsche 993 (911) C2S 1994-97
- Porsche 993 (911) C4S 1994-97
- Porsche 993 (911) TURBO 1994-96
- Porsche 993 (911) GT2 1994-97
- Porsche 993 (911) TURBO S 1994-97
- Porsche 924 2.0L 1976-79
- Porsche 924 2.0L 1980-85
- Porsche 924 Turbo 2.0L 1979-81
- Porsche 924 Turbo 2.0L 1982-84
- Porsche 924 Carrera GT 2.0L 1981
- Porsche 924 Carrera GTS 2.0L 1982
- Porsche 924S 2.5L 1986-87
- Porsche 924S 2.5L 1988
- Porsche 944 2.5L 8V 1982-87
- Porsche 944 2.7L 8V 1988-89
- Porsche 944S 2.5L 16V 1987-88
- Porsche 944S2 3.0L 16V 1989-91
- Porsche 944 Turbo 2.5L 8V 1985-88
- Porsche 944 Turbo 2.5L 8V 1989-91
- Porsche 944 Turbo S 2.5L 8V 1988
- Porsche 968 3.0L 1992-94
- Porsche 968 Sport 3.0L 1994-95
- Porsche 968 CS 3.0L 1993-95
- Porsche 968 Turbo S 3.0L 1993-94
- Porsche 928 4.5L 1978-82
- Porsche 928S 4.7L 1981-83
- Porsche 928S2 4.7L 1984-86
- Porsche 928S4 5.0L 1987-92
- Porsche 928GT 5.0L 1989-91
- Porsche 928GTS 5.4L 1992-95
- Porsche 356A 1955-59
- Porsche 356B 1959-63
- Porsche 356C 1963-65
- Porsche 914 (1970-1976)
2ER-SET
Wenn Sie die Gummi-Aufhängungsbuchsen Ihres Autos durch Polyurethan-Aufhängungsbuchsen ersetzen, erhalten Sie:
- Bessere Straßenlage
- Konstante Lenkgeometrie
- Erhöhte Lebensdauer der Reifen
- Besser ansprechende Lenkung
- Längere Lebensdauer der Aufhängungskomponenten
Passt:
Porsche 911 1965-98
Porsche 924 1977-88
Porsche 944 1982-91
Porsche 968 1992-95
Porsche 928 1978-95
Porsche 356 1950-65
Porsche 914 1970-76
Klicken Sie auf „Vergrößern“, um ein großes Teilediagramm anzuzeigen.
Diagramm Nr. 11
Zugehörige Referenznummern
Verwandte, ersetzte, Querverweisoder Alternativnummern zum Vergleich.
PFF57-204-
Das von Ihnen angezeigte Produkt verweist auf diese Nummern
- Porsche 964 (911) C2 1989-93
- Porsche 964 (911) C4 1989-93
- Porsche 964 (911) RS 3.6L 1991-93
- Porsche 964 (911) RS 3.8L 1991-93
- Porsche 964 (911) TURBO 3.3L 1991-93
- Porsche 964 (911) TURBO 3.6L 1991-93
- Porsche 993 (911) C2 1994-97
- Porsche 993 (911) C4 1994-97
- Porsche 993 (911) RS 1994-97
- Porsche 993 (911) C2S 1994-97
- Porsche 993 (911) C4S 1994-97
- Porsche 993 (911) TURBO 1994-96
- Porsche 993 (911) GT2 1994-97
- Porsche 993 (911) TURBO S 1994-97
- Porsche 924 2.0L 1976-79
- Porsche 924 2.0L 1980-85
- Porsche 924 Turbo 2.0L 1979-81
- Porsche 924 Turbo 2.0L 1982-84
- Porsche 924 Carrera GT 2.0L 1981
- Porsche 924 Carrera GTS 2.0L 1982
- Porsche 924S 2.5L 1986-87
- Porsche 924S 2.5L 1988
- Porsche 944 2.5L 8V 1982-87
- Porsche 944 2.7L 8V 1988-89
- Porsche 944S 2.5L 16V 1987-88
- Porsche 944S2 3.0L 16V 1989-91
- Porsche 944 Turbo 2.5L 8V 1985-88
- Porsche 944 Turbo 2.5L 8V 1989-91
- Porsche 944 Turbo S 2.5L 8V 1988
- Porsche 968 3.0L 1992-94
- Porsche 968 Sport 3.0L 1994-95
- Porsche 968 CS 3.0L 1993-95
- Porsche 968 Turbo S 3.0L 1993-94
- Porsche 928 4.5L 1978-82
- Porsche 928S 4.7L 1981-83
- Porsche 928S2 4.7L 1984-86
- Porsche 928S4 5.0L 1987-92
- Porsche 928GT 5.0L 1989-91
- Porsche 928GTS 5.4L 1992-95
- Porsche 356A 1955-59
- Porsche 356B 1959-63
- Porsche 356C 1963-65
- Porsche 914 (1970-1976)
Porsche Stabilisatorbuchsen | Design911 Fahrwerkskomponenten für Präzision, Grip & Stabilität
Stabilisatorbuchsen (auch Stabilisatorbuchsen genannt) sind kleine, aber wichtige Komponenten im Fahrwerk Ihres Porsche. Sie befestigen den Stabilisator am Fahrgestell und ermöglichen so eine kontrollierte Bewegung, die die Seitenneigung der Karosserie in Kurven reduziert und die Fahrstabilität verbessert. Einwandfrei funktionierende Buchsen tragen zur Erhaltung der Fahrwerksgeometrie, der Lenkpräzision und des Fahrkomforts bei – wichtige Eigenschaften, die die dynamische Fahrleistung eines Porsche ausmachen.
Bei Design911 bieten wir ein umfassendes Sortiment an Stabilisatorbuchsen aus hochwertigem Gummi, Polyurethan und Hochleistungsmaterialien. Jede Buchse ist auf exakte Passform, Langlebigkeit und Schwingungsisolierung ausgelegt. Perfekt für Routinewartungen, Leistungssteigerungen oder Komplettrestaurierungen. Unser Sortiment hilft, die Fahrwerksbalance wiederherzustellen und sorgt für eine konstante Straßenlage und Kontrolle.
Was machen Stabilisatorbuchsen?
Stabilisatorbuchsen fungieren als dämpfende Halterungen zwischen Stabilisator und Fahrgestell, absorbieren Vibrationen und ermöglichen eine kontrollierte Artikulation des Stabilisators.
Kernfunktionen:
• Reduzieren Sie die Seitenneigung der Karosserie, indem Sie die Stangenbewegung während der Kurvenfahrt unterstützen.
• Sorgen Sie für eine Dämpfung, um Lärm und Vibrationen zu minimieren.
• Behalten Sie unter Last die richtige Ausrichtung des Stabilisators bei.
• Hilft, die Kurvenkräfte gleichmäßig zu verteilen und so die Bodenhaftung zu verbessern.
• Verbessern Sie den Federungskomfort und die Lenkreaktion.
In gutem Zustand sorgen Stabilisatorbuchsen dafür, dass Ihr Porsche stabil, berechenbar und wendig bleibt – ob auf der Straße, der Rennstrecke oder im Alltag.
Warum versagen oder verschleißen Stabilisatorbuchsen?
Ständiges Biegen, Druck und die Einwirkung von Umwelteinflüssen verschleißen das Material der Buchse allmählich und beeinträchtigen Handhabung und Komfort.
Zu den häufigsten Fehlerursachen zählen:
• Rissbildung, Verhärtung oder Verfall des Gummis aufgrund von Alter oder Hitze.
• Ölverunreinigungen erweichen und schwächen das Buchsenmaterial.
• Korrosion oder Bewegung in den Halterungen verschleißen das Buchsengehäuse.
• Überkompression oder Verformung durch Hochleistungsfahren.
• Übermäßige Vibrationen führen zu beschleunigtem Verschleiß.
Zu den Symptomen eines defekten Buchsen zählen häufig Klappergeräusche, eine schlechte Kurvenbalance und eine verringerte Lenkpräzision – alles Anzeichen dafür, dass ein Austausch erforderlich ist, um die Präzision Ihres Porsche wiederherzustellen.
Warum sollten Sie die Stabilisatorbuchsen Ihres Porsche austauschen oder aufrüsten?
Durch den Austausch verschlissener Buchsen werden Fahrwerkskontrolle, Komfort und Lenkpräzision wiederhergestellt. Ein Upgrade auf Polyurethan- oder Performance-Buchsen sorgt für präziseres Handling und höhere Haltbarkeit bei sportlicher oder rennstreckenorientierter Fahrweise.
Hauptvorteile:
• Stellt die Fahrstabilität wieder her und reduziert die Neigung der Karosserie.
• Beseitigt Aufhängungsgeräusche, Vibrationen und Rauheit.
• Verbessert die Lenkreaktion und das Kurvenfeedback.
• Erhältlich in den Optionen Gummi und Hochleistungs-Polyurethan.
• Passend für die Modelle Porsche 911, 944, 968, Boxster, Cayman, Cayenne und Macan.
• Ideal für die Wartung, Restaurierung oder Leistungsoptimierung der Aufhängung.
Die Porsche-Stabilisatorbuchsen von Design911 bieten Präzision, Leistung und Zuverlässigkeit – und sorgen dafür, dass Ihr Porsche weiterhin souverän und kontrolliert zu fahren ist.
Highlights
• Premium-Stabilisatorbuchsen und Stabilisatorlager von Porsche.
• Hochwertige Gummi- oder Polyurethankonstruktion.
• Entwickelt für präzise Passform und Vibrationsdämpfung.
• Verbessert Handling, Stabilität und Federungskomfort.
• Kompatibel mit klassischen und modernen Porsche-Modellen.
• Perfekt für Wartung, Restaurierung oder Leistungssteigerungen.