Please wait… 
Please wait while we process your order,
do not press the back button… 
Design 911 Design 911 supply Porsche parts, Porsche spares and Porsche accessories, to both retail and to the trade. Our Porsche product and accessory range includes brakes, exhausts, tyres, wheels and Porsche panels and interiors. https://d911api.datadial.net/images/schemaLogo.png https://d911api.datadial.net/images/schemaLogo.png +443456003478 https://d911api.datadial.net Facebook Instagram

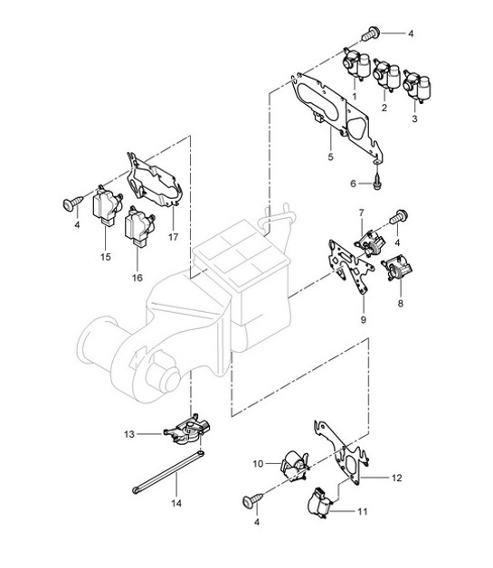
Servomotor / Air conditioner (PR:L0R, Right hand drive) - FRONT - Cayenne 9PA1 (957) 2007-10 - PORSCHE

Click the image numbers to view product info

Diagram 813-047 Porsche 911 1978-1989 3.3L Turbo (930) Body SKU: 95562491101, servomotor defroster flap SKU: 95562491301, servomotor air exhaust SKU: 95562491201, servomotor air exhaust SKU: N10621601, hex socket oval head collared SKU: N10621601, hex socket oval head collared SKU: N10621601, hex socket oval head collared SKU: N10621601, hex socket oval head collared SKU: 95562412301, retaining plate SKU: N10424102, hexagon head panel screw SKU: 95562490801, servomotor temperature mixing flap SKU: 95562490901, servomotor foot well flap SKU: 95562412304, retaining plate SKU: 95562490701, servomotor temperature mixing flap SKU: 95562490601, servomotor foot well flap SKU: 95562412302, retaining plate SKU: 95562491401, servomotor,SKU: 95562490301, servomotor fresh-air intake system SKU: 95557290100, connecting rod SKU: 95562490501, servomotor air exhaust SKU: 95562490201, servomotor air exhaust SKU: 95562412303, retaining plate 813-047