Please wait… 
Please wait while we process your order,
do not press the back button… 
Design 911 Design 911 supply Porsche parts, Porsche spares and Porsche accessories, to both retail and to the trade. Our Porsche product and accessory range includes brakes, exhausts, tyres, wheels and Porsche panels and interiors. https://d911api.datadial.net/images/schemaLogo.png https://d911api.datadial.net/images/schemaLogo.png +443456003478 https://d911api.datadial.net Facebook Instagram

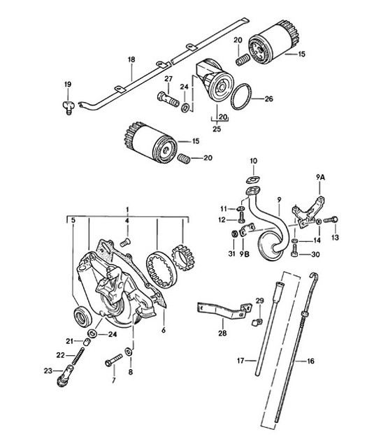
Engine lubrication 924 1980 - 1985 - PORSCHE

Click the image numbers to view product info

Diagram 104-000 Porsche 924 (1977-1988) Engine SKU: 046115105A, oil pump ready for installation SKU: N0331781, countersunk-head screw m 6 x 15 SKU: PCG115147, sealing ring 35 x 54 x 10 SKU: PCG115189A, gasket SKU: N0103393, hexagon-head bolt m 6 x 40,SKU: N0102213, hexagon-head bolt m 6 x 35 SKU: N0115576, washer 6,4 SKU: 047115251B, intake pipe SKU: 047115267C, retaining bracket SKU: 047115285, pipe clamp SKU: 048115257, gasket SKU: 048115259, tab washer SKU: N90057201, hexagon socket head bolt m 6 x 15 SKU: PCG010210A, hexagon-head bolt m 6 x 10 SKU: PCG012226F, spring washer a 6 SKU: 93110770100, oil filter SKU: 93110770100, oil filter SKU: 047115611A, oil level dipstick SKU: 047103635, guide tube SKU: 047115701, oil splash tube SKU: PCG115708, adapter SKU: 059115721, union SKU: 059115721, union SKU: 056115411A, piston SKU: 068115421, compression spring SKU: 046115419, valve housing relief valve SKU: N0438152, sealing ring a 20 x 24 SKU: N0438152, sealing ring a 20 x 24 SKU: 046115573A, bracket for oil filter SKU: 046115581, o-ring 62 x 3 SKU: 046115579A, banjo bolt SKU: 047115641, support SKU: 047115645, pipe clamp SKU: 90006701103, pan-head screw m 6 x 20 SKU: N02214812, nut m 6,SKU: 90007601003, nut m 6 104-000