Please wait… 
Please wait while we process your order,
do not press the back button… 
Design 911 Design 911 supply Porsche parts, Porsche spares and Porsche accessories, to both retail and to the trade. Our Porsche product and accessory range includes brakes, exhausts, tyres, wheels and Porsche panels and interiors. https://d911api.datadial.net/images/schemaLogo.png https://d911api.datadial.net/images/schemaLogo.png +443456003478 https://d911api.datadial.net Facebook Instagram

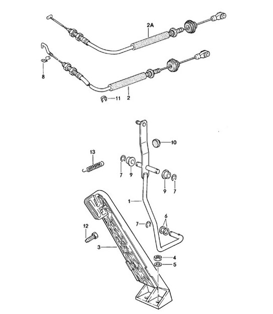
Accelerator control / Accelerator cable for Manual transmission 924 1980 - 1985 - PORSCHE

Click the image numbers to view product info

Diagram 702-010 Porsche 924 (1977-1988) Hand Lever System, Pedal Cluster SKU: 94442303100, accelerator pedal,SKU: 94542303101, accelerator pedal SKU: 477721547F, accelerator cable,SKU: 478721547E, accelerator cable,SKU: 477721547E, accelerator cable,SKU: 478721547D, accelerator cable SKU: 477721551, accelerator cable,SKU: 478721551, accelerator cable SKU: 827723511B, accelerator pedal SKU: N02214812, nut m 6,SKU: 90007601003, nut m 6 SKU: 803817121, washer SKU: 90002503840, washer SKU: PAF012436, lock washer SKU: PAF012436, lock washer SKU: PAF012436, lock washer SKU: 823721569, retainer spring SKU: 477721543, bearing sleeve SKU: 477721543, bearing sleeve SKU: 99970318340, buffer SKU: 95560683800, cable clip SKU: 94442373100, adjusting screw SKU: 94442383100, spring 702-010