Por favor, espere… 
Por favor, espere mientras procesamos su orden,
no presiones el botón para volver… 
Design 911 Design 911 supply Porsche parts, Porsche spares and Porsche accessories, to both retail and to the trade. Our Porsche product and accessory range includes brakes, exhausts, tyres, wheels and Porsche panels and interiors. https://d911api.datadial.net/images/schemaLogo.png https://d911api.datadial.net/images/schemaLogo.png +443456003478 https://d911api.datadial.net Facebook Instagram

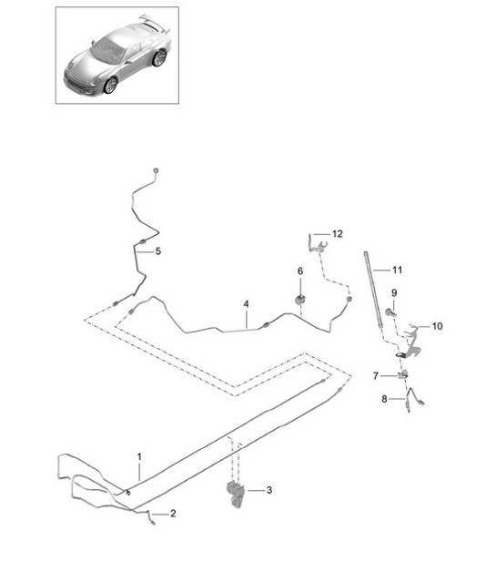
Líneas de freno / Parte inferior de la carrocería - Central, Trasera - 991 R/GT3/RS 2014-17 - PORSCHE

Haga clic sobre los números de la imagen para ver la información del producto

Diagram 604-010 Porsche 971.2 Panamera 4S E-Hybrid 2.9L V6 2021-23 SKU: 99135517980, línea de freno d >> - 01.08.2014,SKU: 99135517981, línea de freno d - 09.01.2014>> - 20.10.2014,SKU: 99135517982, línea de freno d - 21.10.2014>>,SKU: 99135517982, línea de freno SKU: 99135517781, línea de freno d >> - 01.08.2014,SKU: 99135517782, línea de freno d - 09.01.2014>> - 20.10.2014,SKU: 99135517783, línea de freno d - 21.10.2014>>,SKU: 99135517783, línea de freno SKU: 99135551002, soporte SKU: 99135518980, línea de freno d >> - 20.10.2014,SKU: 99135518981, línea de freno d - 21.10.2014>>,SKU: 99135518981, línea de freno SKU: 99135519081, línea de freno d >> - 20.10.2014,SKU: 99135519006, línea de freno d - 21.10.2014>> SKU: 95B611797, soporte del cable SKU: 99735533101, resorte de retención SKU: 99135558502, línea de freno,SKU: 99135558602, línea de freno,SKU: 99135558503, línea de freno,SKU: 99135558603, línea de freno SKU: PAF100829, tornillo hexagonal SKU: 99135550382, retenedor para manguera de freno porta ruedas,SKU: 99135550383, retenedor para manguera de freno porta ruedas,SKU: 99135550482, soporte manguera de freno porta ruedas,SKU: 99135550483, retenedor para manguera de freno porta ruedas SKU: 9Y0611775, manguera de freno SKU: 99135550580, soporte manguera de freno alojamiento de rueda,SKU: 99135550680, soporte manguera de freno alojamiento de rueda 604-010