Introduzca aquí su número de identificación fiscal (NIF o VAT number) y haga clic en Verificar:
No necesita incluir el código de país de su NIF, dado que ya lo ha indicado antes en su dirección de facturación.
Se han verificado sus datos. NIF registrado a nombre de:
###NUEVO MÉJICO###,
.
Su pedido cuenta ahora con una tasa cero a efectos de IVA. Nos reservamos el derecho a verificar estos datos después de que haya solicitado su pedido y a restablecer el IVA si fuese necesario.
Sus datos de identificación fiscal no han sido reconocidos o no son válidos. Su NIF debe coincidir con el país de facturación que especificó anteriormente. Actualmente se ha especificado como . No necesita incluir el código de país de su NIF, do que ya lo ha indicado antes en los datos de su dirección de facturación.
El servicio de verificación de NIF no está disponible en este momento. Le rogamos que indique sus datos del NIF en los comentarios e en el cuadro de instrucciones especiales que encontrará abajo y le aplicaremos un descuento en el IVA tras realizar su solicitud de pedido.
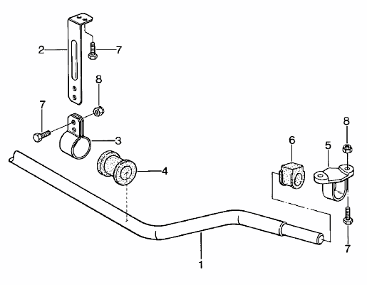
Soporte de la barra antivuelco
Porsche 944 hasta 1986 (SET DE 2) tanto lado izquierdo como derecho
Se adapta a:
Porsche 944
Diagrama ref: 2, 3, 4, 9, 11
Números de referencia relacionados
Números relacionados, reemplazados, de referencia cruzada o alternativos para comparación.
94434373100KIT
El producto que está viendo hace referencia cruzada a estos números
- Porsche 924S 2.5L 1986-87
- Porsche 924S 2.5L 1988
- Porsche 944 2.5L 8V 1982-87
- Porsche 944 2.7L 8V 1988-89
- Porsche 944S 2.5L 16V 1987-88
- Porsche 944S2 3.0L 16V 1989-91

Encaja:
Porsche 911 1978-89 (incl. Turbo)
Porsche 964 1989-94
Porsche 993 1994-98
Porsche 924 1976-85 Trasero
Porsche 924S 1986-88 Trasero
Porsche 944
Porsche 968 1992-95
Haga clic en 'Acercar' para ver el diagrama de piezas grandes.
Diagrama ref no 13.
Números de referencia relacionados
Números relacionados, reemplazados, de referencia cruzada o alternativos para comparación.
113411333
El producto que está viendo hace referencia cruzada a estos números
- Porsche 911 1978-1983 3.0L / SC
- Porsche 911 1984-1986 3.2L
- Porsche 911 1987-1989 3.2L G50
- Porsche 911 1975-1977 3.0L Turbo (930)
- Porsche 911 1978-1989 3.3L Turbo (930)
- Porsche 964 (911) C2 1989-93
- Porsche 964 (911) C4 1989-93
- Porsche 964 (911) RS 3.6L 1991-93
- Porsche 964 (911) RS 3.8L 1991-93
- Porsche 964 (911) TURBO 3.3L 1991-93
- Porsche 964 (911) TURBO 3.6L 1991-93
- Porsche 993 (911) C2 1994-97
- Porsche 993 (911) C4 1994-97
- Porsche 993 (911) RS 1994-97
- Porsche 993 (911) C2S 1994-97
- Porsche 993 (911) C4S 1994-97
- Porsche 993 (911) TURBO 1994-96
- Porsche 993 (911) GT2 1994-97
- Porsche 993 (911) TURBO S 1994-97
- Porsche 924 2.0L 1976-79
- Porsche 924 2.0L 1980-85
- Porsche 924 Turbo 2.0L 1979-81
- Porsche 924 Turbo 2.0L 1982-84
- Porsche 924 Carrera GT 2.0L 1981
- Porsche 924 Carrera GTS 2.0L 1982
- Porsche 924S 2.5L 1986-87
- Porsche 924S 2.5L 1988
- Porsche 944 2.5L 8V 1982-87
- Porsche 944 2.7L 8V 1988-89
- Porsche 944S 2.5L 16V 1987-88
- Porsche 944S2 3.0L 16V 1989-91
- Porsche 944 Turbo 2.5L 8V 1985-88
- Porsche 944 Turbo 2.5L 8V 1989-91
- Porsche 944 Turbo S 2.5L 8V 1988
- Porsche 968 3.0L 1992-94
- Porsche 968 Sport 3.0L 1994-95
- Porsche 968 CS 3.0L 1993-95
- Porsche 968 Turbo S 3.0L 1993-94
Se adapta a:
Porsche 911 1978-89 (incluido Turbo)
Porsche 964 1989-94
Porsche 993 1994-98
Porsche 924 1976-85 Trasero
Porsche 924S 1986-88 Trasero
Porsche 944
Porsche 968 1992-95
Diagrama ref n° 13.
Números de referencia relacionados
Números relacionados, reemplazados, de referencia cruzada o alternativos para comparación.
113411333
El producto que está viendo hace referencia cruzada a estos números
- Porsche 911 1978-1983 3.0L / SC
- Porsche 911 1984-1986 3.2L
- Porsche 911 1987-1989 3.2L G50
- Porsche 911 1978-1989 3.3L Turbo (930)
- Porsche 964 (911) C2 1989-93
- Porsche 964 (911) C4 1989-93
- Porsche 964 (911) RS 3.6L 1991-93
- Porsche 964 (911) RS 3.8L 1991-93
- Porsche 964 (911) TURBO 3.3L 1991-93
- Porsche 964 (911) TURBO 3.6L 1991-93
- Porsche 993 (911) C2 1994-97
- Porsche 993 (911) C4 1994-97
- Porsche 993 (911) RS 1994-97
- Porsche 993 (911) C2S 1994-97
- Porsche 993 (911) C4S 1994-97
- Porsche 993 (911) TURBO 1994-96
- Porsche 993 (911) GT2 1994-97
- Porsche 993 (911) TURBO S 1994-97
- Porsche 924 2.0L 1976-79
- Porsche 924 2.0L 1980-85
- Porsche 924 Turbo 2.0L 1979-81
- Porsche 924 Turbo 2.0L 1982-84
- Porsche 924 Carrera GT 2.0L 1981
- Porsche 924 Carrera GTS 2.0L 1982
- Porsche 924S 2.5L 1986-87
- Porsche 924S 2.5L 1988
- Porsche 944 2.5L 8V 1982-87
- Porsche 944 2.7L 8V 1988-89
- Porsche 944S 2.5L 16V 1987-88
- Porsche 944S2 3.0L 16V 1989-91
- Porsche 944 Turbo 2.5L 8V 1985-88
- Porsche 944 Turbo 2.5L 8V 1989-91
- Porsche 944 Turbo S 2.5L 8V 1988
- Porsche 968 3.0L 1992-94
- Porsche 968 Sport 3.0L 1994-95
- Porsche 968 CS 3.0L 1993-95
- Porsche 968 Turbo S 3.0L 1993-94

Encaja:
Porsche 924 1980-85
Porsche 924S 1986-88
Porsche 944 1982-86
Ref. del diagrama n.º 3.
- Porsche 924 2.0L 1980-85
- Porsche 924S 2.5L 1986-87
- Porsche 924S 2.5L 1988
- Porsche 944 2.5L 8V 1982-87

Las barras estabilizadoras (ARB) desempeñan un papel importante en el sistema de suspensión de un vehículo, ya que ayudan a reducir el balanceo de la carrocería al transferir la carga en las curvas de un lado del vehículo al otro.
A menudo montados en el chasis del vehículo con casquillos de goma, estos casquillos garantizan que la barra funcione según lo previsto. Para evitar que la barra estabilizadora se mueva lateralmente dentro de sus soportes al girar, los fabricantes de equipos originales unirán los casquillos a la barra, agregarán topes a la propia barra o confiarán únicamente en la presión de sujeción de la goma.
Pero, ¿qué sucede cuando esos casquillos se desgastan y es necesario reemplazarlos? A menudo, las barras estabilizadoras con casquillos adheridos vienen como un conjunto completo y costoso, por lo que la alternativa es instalar un reemplazo de poliuretano no adherido más rentable, como muchos que ofrecemos.
En la mayoría de los casos, la fricción del casquillo impedirá cualquier movimiento de la barra de lado a lado. Aún así, al girar agresivamente o tomar curvas a velocidades más altas, una barra estabilizadora que se desplaza lateralmente disminuye la eficiencia y efectividad de la barra, cambiando la dinámica de su sistema de suspensión de maneras impredecibles. También plantea el riesgo de que la barra se ensucie en otras áreas del vehículo o del sistema de suspensión.
Soportes de barra estabilizadora Porsche | Soportes de precisión Design911 para estabilidad y control de la suspensión
Los soportes de la barra estabilizadora son componentes de montaje esenciales que fijan la barra estabilizadora al chasis de su Porsche, permitiéndole funcionar correctamente al tomar curvas y al mover la carrocería. Estos soportes mantienen la barra estabilizadora firmemente alineada, asegurando que la suspensión mantenga el equilibrio, el agarre y un manejo predecible bajo carga. Sin soportes resistentes y bien ajustados, el sistema estabilizador de su Porsche no puede reducir eficazmente el balanceo de la carrocería ni mantener una respuesta estable de la dirección.
En Design911, contamos con una gama premium de soportes, abrazaderas y herrajes de montaje para barras estabilizadoras, diseñados para ofrecer resistencia, precisión y durabilidad. Fabricados en acero reforzado o aleación ligera, estos componentes proporcionan una fijación segura y resistencia a la vibración, el calor y las tensiones de la carretera. Ideales para el mantenimiento rutinario, la restauración de la suspensión o la mejora del rendimiento, nuestros soportes ayudan a mantener el sistema de suspensión de su Porsche funcionando con precisión y confianza.
¿Qué función cumplen los soportes de la barra estabilizadora?
Los soportes de la barra estabilizadora fijan la barra estabilizadora al bastidor auxiliar o chasis del vehículo, lo que permite que la barra gire y contrarreste el balanceo de la carrocería de manera efectiva.
Funciones principales:
• Monte y estabilice la barra estabilizadora para mantener la alineación.
• Favorecer el movimiento adecuado de la barra bajo las fuerzas de las curvas.
• Asegúrese de que la fijación al chasis sea segura y sin vibraciones.
• Evita flexiones, ruidos o desalineaciones de la barra no deseados.
• Mejora la consistencia y precisión del rendimiento de la suspensión.
Los soportes de barra estabilizadora de alta calidad garantizan que la suspensión de su Porsche ofrezca un manejo suave, controlado y estable durante la conducción dinámica.
¿Por qué fallan o se degradan los soportes de la barra estabilizadora?
Los soportes están constantemente sujetos a fuerzas de torsión, corrosión y desgaste ambiental, especialmente en vehículos de alto rendimiento y más antiguos.
Las causas comunes de falla incluyen:
• Corrosión u óxido que debilita la estructura del soporte.
• Desgaste o agrietamiento debido a la carga continua de la suspensión.
• Deformación por impacto o fuertes fuerzas en curvas.
• Accesorios sueltos que provocan movimiento excesivo de la barra o ruido.
• Fatiga relacionada con la edad o degradación del material.
Cuando los soportes de la barra estabilizadora fallan, la barra estabilizadora pierde estabilidad y eficacia, lo que da como resultado un manejo deficiente, ruidos metálicos y un control reducido del chasis.
¿Por qué reemplazar o actualizar los soportes de la barra estabilizadora de su Porsche?
Reemplazar los soportes desgastados o dañados restaura la integridad de la suspensión y elimina flexiones o movimientos indeseados. Los materiales mejorados y los diseños reforzados mejoran la resistencia, la precisión de manejo y la durabilidad a largo plazo.
Beneficios clave:
• Restaura la estabilidad y el rendimiento de la barra estabilizadora.
• Reduce el ruido, la vibración y el balanceo de la carrocería.
• Mejora la respuesta en curvas y la consistencia de la suspensión.
• Diseñado con precisión para una alineación y ajuste perfectos.
• Disponible para los modelos Porsche 911, 944, 968, Boxster, Cayman, Cayenne y Macan.
• Ideal para aplicaciones de restauración, mantenimiento o rendimiento.
Los soportes de barra estabilizadora Porsche de Design911 están diseñados para brindar resistencia, precisión y durabilidad, lo que garantiza que su sistema de suspensión funcione exactamente como está previsto, kilómetro tras kilómetro.
Reflejos
• Soportes, abrazaderas y montajes de barra estabilizadora Porsche de primera calidad.
• Construido en acero o aleación resistente a la corrosión.
• Diseñado para un ajuste perfecto y resistencia a las vibraciones.
• Restaura la estabilidad de la suspensión y el control en las curvas.
• Adecuado para modelos Porsche clásicos y modernos.
• Perfecto para servicio, restauración o preparación de pista.