Enter your VAT number here and click Verify:
Your details have been verified. VAT number registered to:
,
.
Your order will now be zero rated for VAT purposes. We reserve the right to verify these details after your order request has been made and reinstate VAT if required.
Your VAT details were not recognised or were invalid. Your VAT number must be matched to your Billing Country as specified above. This is currently specified as . You do not need to enter the country code part of your VAT number as this has already been selected in your billing address details above.
The VAT number checking service is currently offline. Please supply your VAT details within the comments or special instructions field below and we will apply a VAT discount after placing your order request.
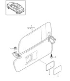
Clamp Genuine Porsche part 95873163300
Code: 95873163300
Genuine Porsche part
Clamp
The product code 95873163300 was also found on these diagrams
Additional information:
• This part is brand new and unused.
• Please verify that it is 100% suitable for your specific vehicle before purchase to ensure compatibility.
Before purchasing thoroughly check part to confirm compatibility.
• This part is brand new and unused.
• Please verify that it is 100% suitable for your specific vehicle before purchase to ensure compatibility.
Before purchasing thoroughly check part to confirm compatibility.
Vehicle Group
- We are unable to provide fitting details for this product at this time. Please contact us for further information.
Price: £4.15
Orderable - 14 - 28 Days

