Please wait… 
Please wait while we process your order,
do not press the back button… 
Design 911 Design 911 supply Porsche parts, Porsche spares and Porsche accessories, to both retail and to the trade. Our Porsche product and accessory range includes brakes, exhausts, tyres, wheels and Porsche panels and interiors. https://d911api.datadial.net/images/schemaLogo.png https://d911api.datadial.net/images/schemaLogo.png +443456003478 https://d911api.datadial.net Facebook Instagram

Rear Trailing Arm

Filter by brand
DISPLAYING 1 to 9 (of 9 products)
Special Order item
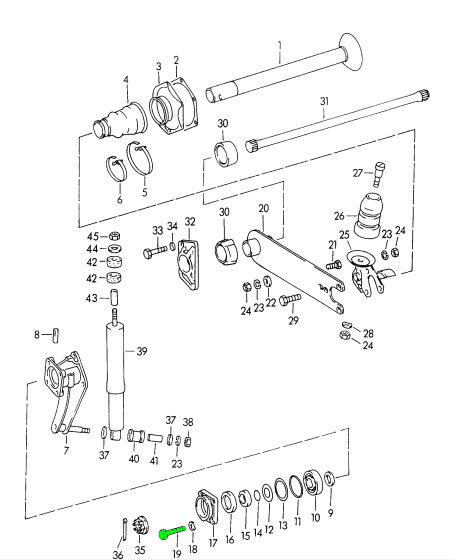
9990740060A
Product Information
Product Information
Hexagon-Head Bolt.

porsche

Fits:
Porsche 356 A / 356 B / 356 C 1956-63

Click 'Zoom in' for large parts diagram.
Diagram ref no 19

Related reference numbers
Related, superseded, cross reference or alternative numbers for comparison.

9990740060A
9990740060A

The product you are viewing cross references to these numbers
Special Order item
PCG59800200
Product Information
Product Information
Mounting set suitable for protective cover (64434191), not slotted on axle tube.

Fits:
Porsche 356 Pre A (1948 - 1955)
Porsche 356 A (1955 - 1959)
Porsche 356 B (1959 - 1963)
Porsche 356 C (1963 - 1965)

Consists of the following parts:
1x hose tie (99951235002)
1x hose tie (99951249900)

Diagram ref no 5 and 6.

Related reference numbers
Related, superseded, cross reference or alternative numbers for comparison.

PCG59800200
PCG59800200
99951249900
99951235002

The product you are viewing cross references to these numbers
Special Order item
PCG59800100
Product Information
Product Information
Set of fastening parts for protective boot, slit, on axle tube comprising: 2x hose clamp, 6x bolt, 12x washer and 6x hexagon nut.

porsche

Fits:
Porsche 356 (1950 to 1969)

Related reference numbers
Related, superseded, cross reference or alternative numbers for comparison.

PCG59800100
PCG59800100

The product you are viewing cross references to these numbers
Special Order item
64433193101
Product Information
Product Information
Paper gasket for rear axle.
porsche

Fits:
Porsche 356 A/540.1
Porsche 356 B
Porsche 356 C

Click 'Zoom in' for large parts diagram.
Diagram ref no 2

Related reference numbers
Related, superseded, cross reference or alternative numbers for comparison.

64433193101
64433193101

The product you are viewing cross references to these numbers
Special Order item
6443402
Product Information
Product Information
Rear Trailing Arm Bracket.
porsche

Fits:
Porsche 356 1956-63

Click 'Zoom in' for large parts diagram.
Diagram ref no 25

Related reference numbers
Related, superseded, cross reference or alternative numbers for comparison.

6443402
64434023
64434024

The product you are viewing cross references to these numbers
Special Order item
PCG34206
Product Information
Product Information
Rear Trailing Arm Rubber Bump Stop.

 
Fits:
Porsche 356 A/540.1 1950>>1959
Porsche 356 B 1960>>1965

Diagram Ref No 26



Related reference numbers
Related, superseded, cross reference or alternative numbers for comparison.

PCG34206
64434206
PCG34206

The product you are viewing cross references to these numbers
69533351300/1
Product Information
Product Information
Rear trailing arm rubber bump stop.

klassiek

Fits:
Porsche 356 C
Porsche 356 C SC

2 required per car

Bump stop retaining bolt 356C/SC

CNC machined and zinc plate

Click 'Zoom in' for large parts diagram.
Diagram ref no 33

Related reference numbers
Related, superseded, cross reference or alternative numbers for comparison.

69533351300
69533351300

The product you are viewing cross references to these numbers
Special Order item
PCG341911
Product Information
Product Information
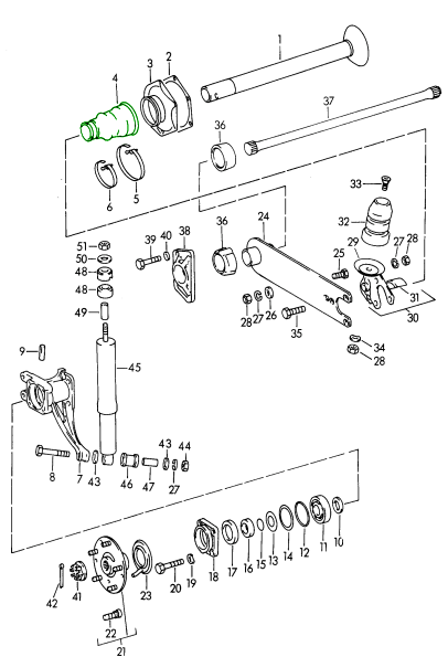
Rubber boot for real axle cross tube.

Fits:
Porsche 356 (1950 to 1969)

Diagram ref no 4

Related reference numbers
Related, superseded, cross reference or alternative numbers for comparison.

PCG341911
644341911
8153600206
111501153B
111501153A
501200002
PCG341911

The product you are viewing cross references to these numbers
PCG341911/1
Product Information
Product Information
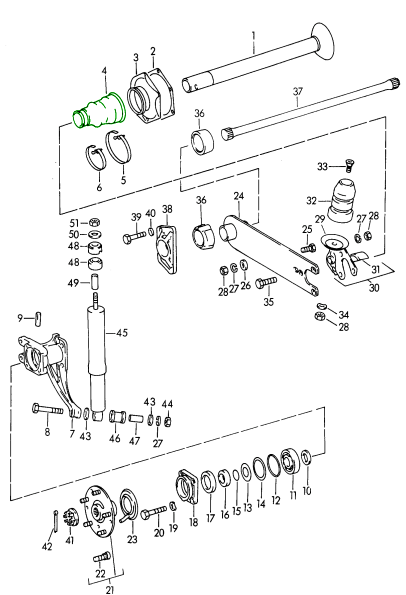
Rubber boot for real axle cross tube.  Durable rubber boot / sleeve that fits over the rear axle cross tube (driveshaft coupling area) on classic Porsche 356 models.  It protects the moving parts of the axle coupling from dust, dirt, and moisture while maintaining a flexible seal as the driveshaft.

Fits:
Porsche 356 (1950 to 1969)

Diagram ref no 4

Over time, the original boot can crack, split, or harden, allowing contaminants into the joint and accelerating wear. A fresh OE Match boot restores proper sealing protection and prolongs the life of the axle components.

Related reference numbers
Related, superseded, cross reference or alternative numbers for comparison.

PCG341911
644341911
111501153B
111501153A
501200002
PCG341911

The product you are viewing cross references to these numbers
DISPLAYING 1 to 9 (of 9 products)
Also found on these pages
About Rear Trailing Arm

Porsche Rear Trailing Arms | Design911 Suspension Components for Stability, Alignment & Handling Precision

Rear trailing arms are vital components in your Porsche’s suspension system, connecting the rear axle or hub carrier to the chassis. They control the rear wheel’s forward and backward motion while maintaining correct alignment, geometry, and stability during braking, cornering, and acceleration. Properly functioning trailing arms are key to preserving the balance, grip, and ride comfort Porsche is famous for.

At Design911, we supply a complete range of rear trailing arms, bushes, and associated components engineered for precision fitment, strength, and durability. Crafted from high-quality steel or aluminium alloys, our trailing arms provide the perfect combination of rigidity and lightweight performance. Whether for routine servicing, restoration, or track-focused upgrades, our parts restore suspension integrity and improve both comfort and control.

What Do Rear Trailing Arms Do?

Trailing arms form a structural link between the chassis and the rear wheel assembly, ensuring that the wheel remains correctly positioned and aligned through all driving conditions.

Core Functions:
• Control rear wheel movement under acceleration and braking.
• Maintain correct rear axle geometry and wheel alignment.
• Absorb road shocks to improve comfort and stability.
• Enhance traction, grip, and straight-line performance.
• Support suspension articulation and chassis balance.

High-quality rear trailing arms keep your Porsche’s suspension geometry stable — ensuring predictable, precise handling on both road and track.

Why Do Rear Trailing Arms Fail or Degrade?

Trailing arms operate under constant load and movement, making them vulnerable to wear, corrosion, and metal fatigue over time.

Common Causes of Failure Include:
• Worn or cracked bushings leading to excess play.
• Corrosion or rust weakening the arm structure.
• Impact damage from road debris or kerb strikes.
• Metal fatigue from repeated high-load driving.
• Loose or damaged mounting bolts affecting alignment.

When trailing arms fail, symptoms include clunking noises, unstable handling, uneven tyre wear, and poor rear-wheel alignment — making timely replacement essential for performance and safety.

Why Replace or Upgrade Your Porsche Rear Trailing Arms?

Replacing worn or damaged trailing arms restores suspension geometry, stability, and control. Upgraded performance arms enhance chassis stiffness, adjustability, and precision — ideal for spirited driving or motorsport use.

Key Benefits:
• Restores suspension alignment and stability.
• Improves handling precision and cornering balance.
• Eliminates vibration, noise, and excess rear-wheel play.
• Constructed from corrosion-resistant, high-strength materials.
• Fits Porsche 911, 944, 968, Boxster, Cayman, Cayenne, and Macan models.
• Ideal for servicing, performance upgrades, or full restorations.

Design911’s Porsche rear trailing arms deliver exceptional engineering, ensuring your Porsche drives with the strength, precision, and control it was designed for.

Highlights

• Premium Porsche rear trailing arms and mounting components.
• Precision-engineered for suspension accuracy and strength.
• Restores handling, alignment, and ride comfort.
• Available in standard or performance-grade materials.
• Suitable for both classic and modern Porsche models.
• Perfect for restoration, servicing, or track preparation.

You may also like
Popular Models