Enter your VAT number here and click Verify:
Your details have been verified. VAT number registered to:
,
.
Your order will now be zero rated for VAT purposes. We reserve the right to verify these details after your order request has been made and reinstate VAT if required.
Your VAT details were not recognised or were invalid. Your VAT number must be matched to your Billing Country as specified above. This is currently specified as . You do not need to enter the country code part of your VAT number as this has already been selected in your billing address details above.
The VAT number checking service is currently offline. Please supply your VAT details within the comments or special instructions field below and we will apply a VAT discount after placing your order request.
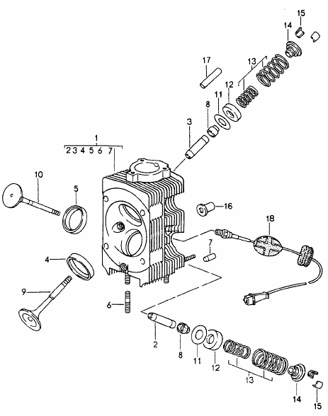
Engine Valves / Guides / Springs

Fits:
Porsche 993 - 1994 to 1998
Our Valve Springs are designed and manufactured to specifically fit the envelope of a Porsche application not a spring from another use.
It operates a higher natural frequency than the original spring for racing and at the very least minimizes damage from over rev in track day situations.
Kit includes
High performance valve spring x 12
High performance valve spring seat x 12
High performance 8mm titanium valve spring retainer disc x 12
Related reference numbers
Related, superseded, cross reference or alternative numbers for comparison.
HP10T8HPSSKIT
The product you are viewing cross references to these numbers
- Porsche 993 (911) C2 1994-97
- Porsche 993 (911) C4 1994-97
- Porsche 993 (911) RS 1994-97
- Porsche 993 (911) C2S 1994-97
- Porsche 993 (911) C4S 1994-97
- Porsche 993 (911) TURBO 1994-96
- Porsche 993 (911) GT2 1994-97
- Porsche 993 (911) TURBO S 1994-97
This set of 6 intake valve guides (1st oversize) is designed for professional cylinder-head rebuilds on Porsche 993 air-cooled flat-six engines. Manufactured to match original Porsche dimensions, material specifications, and hardness ratings, these guides ensure the intake valves operate with correct alignment, stability, and sealing performance - all essential for maintaining proper combustion and long-term engine reliability.
SET OF 6
Fits:
Porsche 993 1994 - 1998
Diagram Ref no 3.
• Use Cases: Head rebuilds; valve-seat re-cut; restoring compressed guide bores; upgrading worn or damaged valve guides; preventive maintenance where valve guide integrity is uncertain.
Oversize valve guides are used when the cylinder-head guide bores have worn or been machined during refurbishment. This set provides a complete, matched group of intake guides, ensuring uniform fitment and valve control across all cylinders. With precision-machined tolerances and excellent heat resistance, these OE-match guides restore the valve train to factory behaviour, eliminating excessive valve play and preventing compression loss, misfires or premature wear.
Perfect for engine rebuilders, restorers, and anyone refreshing a 993 cylinder head, this set supports smooth, accurate valve movement and optimal sealing under the high temperatures and RPM conditions typical of Porsche’s air-cooled performance engines.
Valve guides endure constant thermal cycles, valve-spring force, and high-speed motion. Over time they can wear, enlarge, or become loose - causing:
• Valve wobble and mis-alignment
• Poor sealing at valve seats - resulting in compression loss, misfires, or exhaust leakage
• Increased valve-stem wear, potential seat damage, or premature engine wear
• Reduced engine efficiency, elevated emissions, and unsafe reliability.
Replacing worn or oversized guides with a proper unit restores correct valve operation, extends cylinder-head life, ensures compression integrity, and brings the engine back to spec - critical for performance, reliability, and longevity.
Related reference numbers
Related, superseded, cross reference or alternative numbers for comparison.
99310432271
The product you are viewing cross references to these numbers
- Porsche 993 (911) C2 1994-97
- Porsche 993 (911) C4 1994-97
- Porsche 993 (911) RS 1994-97
- Porsche 993 (911) C2S 1994-97
- Porsche 993 (911) C4S 1994-97
- Porsche 993 (911) TURBO 1994-96
- Porsche 993 (911) GT2 1994-97
- Porsche 993 (911) TURBO S 1994-97

Fits:
Porsche 993 C2 / C4 3.6L 1994-97
Click 'Zoom in' for large parts diagram.
Diagram Ref No 13.
Related reference numbers
Related, superseded, cross reference or alternative numbers for comparison.
99310590151
The product you are viewing cross references to these numbers
- Porsche 993 (911) C2 1994-97
- Porsche 993 (911) C4 1994-97
- Porsche 993 (911) RS 1994-97
- Porsche 993 (911) C2S 1994-97
- Porsche 993 (911) C4S 1994-97
- Porsche 993 (911) TURBO 1994-96
- Porsche 993 (911) GT2 1994-97
- Porsche 993 (911) TURBO S 1994-97
The valve stem seal, OEM part number 993 104 111 02 (sometimes superseding 993 104 111 01), is a component for the Porsche 993 series.
These seals are installed around the valve stems and serve to regulate, not entirely block, oil flow into the combustion chamber. They wipe excess oil off the valve stems and prevent undue oil burning or plug fouling. They are applicable across various 993 configurations—including the naturally aspirated Carrera and the Turbo variants—for 1994–1998 models.
Fits:- Porsche 993 (911) C2 1994-97
- Porsche 993 (911) C4 1994-97
- Porsche 993 (911) RS 1994-97
- Porsche 993 (911) C2S 1994-97
- Porsche 993 (911) C4S 1994-97
- Porsche 993 (911) TURBO 1994-96
- Porsche 993 (911) GT2 1994-97
- Porsche 993 (911) TURBO S 1994-97
Why You Should Replace Them
Over time, valve stem seals, typically rubber or elastomeric, can harden, crack, or shrink, especially under high heat and engine age—which compromises their sealing effectiveness.
Visible Symptoms:
- Blue exhaust smoke, particularly upon a cold start—leftover oil seeps past hardened seals and burns in the combustion chamber.
- Increased oil consumption without noticeable external leaks, as oil is being burned rather than escaping visibly.
- Smoke or puffing at idle or after deceleration, when high vacuum draws oil past failing seals.
- Compression or misfiring issues—oil-fouled spark plugs can disrupt ignition, and carbon buildup may mimic compression loss.
Related reference numbers
Related, superseded, cross reference or alternative numbers for comparison.
99310411102
The product you are viewing cross references to these numbers
- Porsche 993 (911) C2 1994-97
- Porsche 993 (911) C4 1994-97
- Porsche 993 (911) RS 1994-97
- Porsche 993 (911) C2S 1994-97
- Porsche 993 (911) C4S 1994-97
- Porsche 993 (911) TURBO 1994-96
- Porsche 993 (911) GT2 1994-97
- Porsche 993 (911) TURBO S 1994-97

Fits:
Porsche 993 - 1994 to 1998
8mm Porsche 911 Titanium Retainers for 993 1995-1998 for 8mm valves.
Please note
Must be used in conjunction with Aasco HP109-Valve Springs and HPSS Spring Seats.
Related reference numbers
Related, superseded, cross reference or alternative numbers for comparison.
HP10T8
The product you are viewing cross references to these numbers
- Porsche 993 (911) C2 1994-97
- Porsche 993 (911) C4 1994-97
- Porsche 993 (911) RS 1994-97
- Porsche 993 (911) C2S 1994-97
- Porsche 993 (911) C4S 1994-97
- Porsche 993 (911) TURBO 1994-96
- Porsche 993 (911) GT2 1994-97
- Porsche 993 (911) TURBO S 1994-97
Fits:
Porsche 911 (993) 3.8 Carrera RS 1995-96 (M64.20)
Click 'Zoom in' for large parts diagram.
Diagram Ref No 10
Related reference numbers
Related, superseded, cross reference or alternative numbers for comparison.
99310541943
The product you are viewing cross references to these numbers
- Porsche 993 (911) RS 1994-97

Fits:
Porsche 911 (993) 3.8 Carrera RS 1995-96 (M64.20)
Click 'Zoom in' for large parts diagram.
Diagram Ref No 10
Related reference numbers
Related, superseded, cross reference or alternative numbers for comparison.
99310541943
The product you are viewing cross references to these numbers
- Porsche 993 (911) RS 1994-97
Pre varioram engine cars

Fits:
Porsche 993 C2/C4 3.6L 1993-95
911 (993) 3.6 L M64.05 / M64.06 / M64.07 / M64.08
Click 'Zoom in' for large parts diagram.
Diagram Ref No 10.
Related reference numbers
Related, superseded, cross reference or alternative numbers for comparison.
99310541901
The product you are viewing cross references to these numbers
- Porsche 993 (911) C2 1994-97
- Porsche 993 (911) C4 1994-97
- Porsche 993 (911) C2S 1994-97
- Porsche 993 (911) C4S 1994-97

Fits:
Porsche 993 C2/C4 3.6L 1996-98
911 (993), 3.6 Carrera M64.21 / M64.22 / M64.23 / M64.24
Valve head diameter 43,50 mm
Valve stem diameter 8,00 mm
Valve shaft length 109,00 mm
Valve seat angle 45 °
Click 'Zoom in' for large parts diagram.
Diagram Ref No 10.
Related reference numbers
Related, superseded, cross reference or alternative numbers for comparison.
99310541906
The product you are viewing cross references to these numbers
- Porsche 993 (911) C2 1994-97
- Porsche 993 (911) C4 1994-97
- Porsche 993 (911) RS 1994-97
- Porsche 993 (911) C2S 1994-97
- Porsche 993 (911) C4S 1994-97

Fits:
Porsche 993 Carrera RS 1995-98
Click 'Zoom in' for large parts diagram.
Diagram ref no 10
Related reference numbers
Related, superseded, cross reference or alternative numbers for comparison.
99310541983
The product you are viewing cross references to these numbers
- Porsche 993 (911) RS 1994-97

Fits:
Porsche 993 Carrera RS - 1995 to 1998
Click 'Zoom in' for large parts diagram.
Diagram ref no 10
Related reference numbers
Related, superseded, cross reference or alternative numbers for comparison.
99310541983
The product you are viewing cross references to these numbers
- Porsche 993 (911) RS 1994-97
Fits:
Porsche 993 Turbo 3.6L 1995-98 (M64.60)
Click 'Zoom in' for large parts diagram.
Diagram Ref No 10.
Related reference numbers
Related, superseded, cross reference or alternative numbers for comparison.
99310541952
The product you are viewing cross references to these numbers
- Porsche 993 (911) TURBO 1994-96
- Porsche 993 (911) TURBO S 1994-97

Fits:
Porsche 993 Turbo 3.6L 1995-98 (M64.60)
Click 'Zoom in' for large parts diagram.
Diagram Ref No 10.
Related reference numbers
Related, superseded, cross reference or alternative numbers for comparison.
99310541952
The product you are viewing cross references to these numbers
- Porsche 993 (911) TURBO 1994-96
- Porsche 993 (911) TURBO S 1994-97
Fits:
Porsche 911 (993) 3.8 Carrera RS 1995-96 (M64.20)
Click 'Zoom in' for large parts diagram.
Diagram Ref No 9
Related reference numbers
Related, superseded, cross reference or alternative numbers for comparison.
99310540942
The product you are viewing cross references to these numbers
- Porsche 993 (911) RS 1994-97

Fits:
Porsche 911 (993) 3.8 Carrera RS 1995-96 (M64.20)
Click 'Zoom in' for large parts diagram.
Diagram Ref No 9
Related reference numbers
Related, superseded, cross reference or alternative numbers for comparison.
99310540942
The product you are viewing cross references to these numbers
- Porsche 993 (911) RS 1994-97

Fits:
Porsche 993 C2/C4 3.6L 1994-95
Porsche 993 Turbo 1995-98
911 (993) 3.6 L M64.05
911 (993) 3.6 L M64.06
911 (993) 3.6 L M64.07
911 (993) 3.6 L M64.08
911 (993) 3.6 L M64.60 TURBO
Inlet Valve. Valve Head Ø: 49 mm, Valve Stem Ø: 8 mm, Valve Shaft Length: 110 mm, Valve Seat Angle: 45 °
Click 'Zoom in' for large parts diagram.
Diagram Ref No 9.
Related reference numbers
Related, superseded, cross reference or alternative numbers for comparison.
99310540902
The product you are viewing cross references to these numbers
- Porsche 993 (911) C2 1994-97
- Porsche 993 (911) C4 1994-97
- Porsche 993 (911) TURBO 1994-96
- Porsche 993 (911) TURBO S 1994-97
Engine Valves, Valve Guides & Valve Springs – Precision, Performance & Reliability for Porsche Engines
The valves, guides, and springs form the heart of your Porsche’s cylinder head, precisely managing airflow and combustion efficiency. Intake (inlet) valves allow the correct air-fuel mixture into the combustion chamber, while exhaust valves release spent gases. Working together with guides and springs, they ensure perfect timing, compression, and power delivery.
At Design911, we offer a comprehensive range of precision-engineered inlet and exhaust valves, valve guides, and valve springs designed for performance, durability, and exact fitment across Porsche models. Each component is manufactured from heat-resistant, high-grade steel or titanium, ensuring reliable operation under extreme conditions.
Whether rebuilding a classic air-cooled flat-six or maintaining a modern turbocharged engine, our high-quality valve components deliver the precision, strength, and sealing performance your Porsche demands.
What Do Valves, Guides & Springs Do?
These components work in harmony to control the critical air and exhaust flow that determines your engine’s power, efficiency, and longevity.
Core Functions:
- Inlet
Valves: Regulate air-fuel intake into the combustion chamber.
- Exhaust
Valves: Release burnt gases efficiently during the exhaust stroke.
- Valve
Guides: Maintain valve alignment and prevent side wear.
- Valve Springs: Control valve movement, ensuring precise timing and closing pressure.
Together, they keep your Porsche engine breathing freely, running smoothly, and performing as designed — lap after lap, mile after mile.
Why Do Valves, Guides & Springs Fail?
Valves and related components endure extreme heat, pressure, and friction. Over time, these conditions can lead to wear, deformation, or loss of tension, affecting airflow, compression, and overall engine performance.
Common Causes of Failure Include:
- Valve
seat wear or pitting, leading to compression loss.
- Burnt
or bent valves caused by overheating or timing issues.
- Worn
valve guides, increasing oil consumption and exhaust smoke.
- Weak
or fatigued valve springs, resulting in valve float at high RPMs.
- Corrosion and carbon build-up from poor fuel quality or short trips.
When these issues develop, symptoms may include misfires, poor performance, oil burning, or rough idling — clear indicators that replacement or overhaul is required.
Why Replace with Precision-Engineered Valve Components?
Replacing worn valves, guides, and springs ensures your Porsche engine maintains proper compression, valve timing, and airflow — all essential to reliable power delivery and fuel efficiency.
Key Benefits:
- Restores correct airflow and combustion efficiency.
- Improves engine compression and throttle response.
- Prevents oil leakage and smoke caused by worn guides.
- Eliminates valve float and restores high-RPM stability.
- Crafted
from premium heat-resistant alloys for durability and longevity.
- Perfect fitment across classic and modern Porsche engines.
Precision-engineered components bring your engine back to its optimal condition, preserving both performance and refinement.
Highlights:
- Comprehensive range of inlet and exhaust valves, valve guides, and springs.
- Precision-manufactured from high-tensile, heat-treated materials.
- Restores compression, power, and valve timing accuracy.
- Improves reliability and reduces wear in high-performance engines.
- Designed for rebuilds, restorations, and performance upgrades.
- Compatible with air-cooled and water-cooled Porsche models.