北赛道
7305
Product Information
适合:
保时捷 944 S2 / 968
相关参考编号
相关编号、被取代编号、交叉引用编号或替代编号,供比较之用。
7305
您正在查看的产品与这些编号存在交叉引用关系
Product Information
适用于保时捷 944 S2 968 减震器支腿的螺纹套管(一对),适用于 Bilstein B6 减震器。适合:
保时捷 944 S2 / 968
用于转换保时捷 944 S2 和 968 型号的两个标准减震器支腿的螺纹套管。它们允许使用 Bilstein B6 减震器。
程序:
1.凿开旧减震器部件的灌浆口并拉出减震器筒。
2. 将管子缩短44.5mm
3. 去除焊接区域的螺纹套上的锌层
4. 小心地将螺纹套管锤入管内,并在四周焊接好(焊接前,检查管与螺纹套管之间的间隙是否合适。必须能够用螺母将阻尼器筒拧紧 5 圈)。
5. 将焊缝打磨光滑,涂漆并组装减震器
相关参考编号
相关编号、被取代编号、交叉引用编号或替代编号,供比较之用。
7305
34-001042
34001042
P300104
P30-0104
94434305900
您正在查看的产品与这些编号存在交叉引用关系
产品车辆组
产品车辆组
- Porsche 944S2 3.0L 16V 1989-91
- Porsche 968 3.0L 1992-94
- Porsche 968 Sport 3.0L 1994-95
- Porsche 968 CS 3.0L 1993-95
- Porsche 968 Turbo S 3.0L 1993-94
价格: €117.89
有现货 - 3-5 天发货
1261
Product Information
更换:477501075A、477501076A、94433107500、94433107501、94433107600、94433107601。
#北环赛道#
适合:
保时捷 924 1976-85
保时捷 924S 1986-88
保时捷 944 1982-91
保时捷 968 1992-95
这两个支撑轴承将保时捷 924/944 和 968 的后轴固定在车身上。原先的后轴扭矩臂是橡胶支撑连接,安装在车轮罩后方的顶部,与底盘相连。几十年来,原先的橡胶轴承已经变得多孔、腐蚀,几乎找不到新的了。这些刚性轴承一对一地取代了橡胶金属轴承,在车身和后轴之间建立了刚性连接。这样,您就可以以可控的成本更换有缺陷的轴承,同时将车辆调校得更具运动感。加强支撑减少了车辆的俯仰行为。车身和车轴之间的相对运动被阻止,车辆变得更紧。车轴支座由高品质钢合金铣削而成,并经过镀锌处理。
单击“放大”可查看大部件图。
图表参考编号 12
相关参考编号
相关编号、被取代编号、交叉引用编号或替代编号,供比较之用。
1261
您正在查看的产品与这些编号存在交叉引用关系
Product Information
后桥上托架组(左、右)更换:477501075A、477501076A、94433107500、94433107501、94433107600、94433107601。
#北环赛道#
适合:
保时捷 924 1976-85
保时捷 924S 1986-88
保时捷 944 1982-91
保时捷 968 1992-95
这两个支撑轴承将保时捷 924/944 和 968 的后轴固定在车身上。原先的后轴扭矩臂是橡胶支撑连接,安装在车轮罩后方的顶部,与底盘相连。几十年来,原先的橡胶轴承已经变得多孔、腐蚀,几乎找不到新的了。这些刚性轴承一对一地取代了橡胶金属轴承,在车身和后轴之间建立了刚性连接。这样,您就可以以可控的成本更换有缺陷的轴承,同时将车辆调校得更具运动感。加强支撑减少了车辆的俯仰行为。车身和车轴之间的相对运动被阻止,车辆变得更紧。车轴支座由高品质钢合金铣削而成,并经过镀锌处理。
单击“放大”可查看大部件图。
图表参考编号 12
相关参考编号
相关编号、被取代编号、交叉引用编号或替代编号,供比较之用。
1261
1261
477501075A
477501076A
94433107500
94433107501
94433107600
94433107601
您正在查看的产品与这些编号存在交叉引用关系
产品车辆组
产品车辆组
- Porsche 924 2.0L 1976-79
- Porsche 924 2.0L 1980-85
- Porsche 924 Turbo 2.0L 1979-81
- Porsche 924 Turbo 2.0L 1982-84
- Porsche 924 Carrera GT 2.0L 1981
- Porsche 924 Carrera GTS 2.0L 1982
- Porsche 924S 2.5L 1986-87
- Porsche 924S 2.5L 1988
- Porsche 944 2.5L 8V 1982-87
- Porsche 944 2.7L 8V 1988-89
- Porsche 944S 2.5L 16V 1987-88
- Porsche 944S2 3.0L 16V 1989-91
- Porsche 944 Turbo 2.5L 8V 1985-88
- Porsche 944 Turbo 2.5L 8V 1989-91
- Porsche 944 Turbo S 2.5L 8V 1988
- Porsche 968 3.0L 1992-94
- Porsche 968 Sport 3.0L 1994-95
- Porsche 968 CS 3.0L 1993-95
- Porsche 968 Turbo S 3.0L 1993-94
价格: €180.96
有现货 - 24 小时发货
5987
Product Information
将车速表从英里/小时转换为公里/小时
#北环赛道#
适合:
保时捷 911 Carrera 1984-89
描述:
该转换套件可用于转换 '84-'89 911G(涡轮增压除外)的速度表,这些速度表来自美国首次交付,并配有 20x30 齿轮作为蜗杆上的驱动装置。
该套件包括四个齿轮,它们按动力流顺序排列在电动机和驱动蜗杆之后。还包括相应的速度表滑轮和一个新的速度表玻璃。
请注意,该组只能用于原本具有 20x30 双齿轮的转速表。
此外,产品图片中显示的外壳形状对于适合新齿轮也很重要。
相关参考编号
相关编号、被取代编号、交叉引用编号或替代编号,供比较之用。
5987
您正在查看的产品与这些编号存在交叉引用关系
Product Information
速度表转换套件。将车速表从英里/小时转换为公里/小时
#北环赛道#
适合:
保时捷 911 Carrera 1984-89
描述:
该转换套件可用于转换 '84-'89 911G(涡轮增压除外)的速度表,这些速度表来自美国首次交付,并配有 20x30 齿轮作为蜗杆上的驱动装置。
该套件包括四个齿轮,它们按动力流顺序排列在电动机和驱动蜗杆之后。还包括相应的速度表滑轮和一个新的速度表玻璃。
请注意,该组只能用于原本具有 20x30 双齿轮的转速表。
此外,产品图片中显示的外壳形状对于适合新齿轮也很重要。
相关参考编号
相关编号、被取代编号、交叉引用编号或替代编号,供比较之用。
5987
5987
9164153000
91164150129
91164150501
91164150329
91164150700
91164150600
您正在查看的产品与这些编号存在交叉引用关系
产品车辆组
产品车辆组
- Porsche 911 1984-1986 3.2L
- Porsche 911 1987-1989 3.2L G50
价格: €216.92
有现货 - 24 小时发货
5981
Product Information
km/h 全套设备采用优质丙烯酸玻璃制成。
#北环赛道#
适合:
保时捷 911 / 912 1965-73 年
描述:
这套仪表盘由高品质丙烯酸玻璃制成,与原装仪表盘一模一样。这套五片仪表盘完全适用于保时捷 911 F 型仪表,可替换有裂痕、划痕或失灵的仪表盘。同时,这些玻璃丝毫不逊于原装仪表盘,剥去绿色保护膜后几乎与原装仪表盘没有区别。
除了这套 1965 年至 1973 年的 911 T/E/S 和 912 玻璃外,
相关参考编号
相关编号、被取代编号、交叉引用编号或替代编号,供比较之用。
5981
您正在查看的产品与这些编号存在交叉引用关系
Product Information
车速表仪器玻璃套件 KMH。km/h 全套设备采用优质丙烯酸玻璃制成。
#北环赛道#
适合:
保时捷 911 / 912 1965-73 年
描述:
这套仪表盘由高品质丙烯酸玻璃制成,与原装仪表盘一模一样。这套五片仪表盘完全适用于保时捷 911 F 型仪表,可替换有裂痕、划痕或失灵的仪表盘。同时,这些玻璃丝毫不逊于原装仪表盘,剥去绿色保护膜后几乎与原装仪表盘没有区别。
除了这套 1965 年至 1973 年的 911 T/E/S 和 912 玻璃外,
相关参考编号
相关编号、被取代编号、交叉引用编号或替代编号,供比较之用。
5981
5981
您正在查看的产品与这些编号存在交叉引用关系
产品车辆组
产品车辆组
- Porsche 911 1965-1968 2.0L / 912 SWB (F)
- Porsche 911 1968-1973 2.2L / 2.4L / 2.7L RS LWB (F)
价格: €55.68
可订购 - 7 到 10 天
1105
Product Information
内容:1 个显示器、2 个导电橡胶、1 块 UVEX 布。
#北环赛道#
适合:
保时捷 986 Boxster >>2002 年 6 月
保时捷 996 >>2002 年 6 月
描述:
早期的 LCD 屏幕使用寿命很长,使用十多年后就会失去作用。因此,气候控制显示屏也是保时捷 Boxster 上典型的故障部件。使用此维修套件,您可以以低成本长期解决问题。
提示:
我们建议不要购买“完好无损”的空调控制装置:这里的显示屏也到达其预期寿命并过期只是时间问题。因此,最好立即节省时间、金钱和烦恼,并安装一个在现代制造技术和更严格的公差的帮助下与原件完全相同的显示屏。
维修备注:
安装应由专业人员完成,但有 DE/EN/FR/ES/RU/IT 语言的图解手册支持。
更换时只需要一把螺丝刀和尖嘴钳。无需焊接工作。
设计:
LCD 显示屏符合保时捷的原始设计,并非“类似”的第三方解决方案。部分奥迪显示屏需要安装外壳调整工作,并且不符合原始设计。
我们的 LCD 也考虑到了第一代和第二代之间的差异。
相关参考编号
相关编号、被取代编号、交叉引用编号或替代编号,供比较之用。
1105
您正在查看的产品与这些编号存在交叉引用关系
Product Information
气候控制显示组 V1 + 手册内容:1 个显示器、2 个导电橡胶、1 块 UVEX 布。
#北环赛道#
适合:
保时捷 986 Boxster >>2002 年 6 月
保时捷 996 >>2002 年 6 月
描述:
早期的 LCD 屏幕使用寿命很长,使用十多年后就会失去作用。因此,气候控制显示屏也是保时捷 Boxster 上典型的故障部件。使用此维修套件,您可以以低成本长期解决问题。
提示:
我们建议不要购买“完好无损”的空调控制装置:这里的显示屏也到达其预期寿命并过期只是时间问题。因此,最好立即节省时间、金钱和烦恼,并安装一个在现代制造技术和更严格的公差的帮助下与原件完全相同的显示屏。
维修备注:
安装应由专业人员完成,但有 DE/EN/FR/ES/RU/IT 语言的图解手册支持。
更换时只需要一把螺丝刀和尖嘴钳。无需焊接工作。
设计:
LCD 显示屏符合保时捷的原始设计,并非“类似”的第三方解决方案。部分奥迪显示屏需要安装外壳调整工作,并且不符合原始设计。
我们的 LCD 也考虑到了第一代和第二代之间的差异。
相关参考编号
相关编号、被取代编号、交叉引用编号或替代编号,供比较之用。
1105
1105
99665310100
99665310101
99665310102
99665310103
99665310104
99665310105
99665310106
99665310107
99665310108
99665310109
99665310110
您正在查看的产品与这些编号存在交叉引用关系
产品车辆组
产品车辆组
- Porsche Boxster 986 2.5L 1997-99
- Porsche Boxster 986 2.7L 1999-02
- Porsche Boxster S 986 3.2L 1999-02
- Porsche 996 C2 3.4L 1997-08/01
- Porsche 996 C4 3.4L 1997-08/01
价格: €96.28
有现货 - 24 小时发货
1104
Product Information
#北环赛道#
四气门技术是这些坚固耐用的发动机的敏感部件之一:定期更换链条及其滑动元件对于避免重大损坏至关重要。正时链条维护套件是“德国制造”的优质产品。
注意:出于成本原因,许多车辆多年来只更换了上部滑靴和链条。但下部滑靴也会磨损并变得多孔。因此,最好预防风险,并查看阀盖下方。
适合:
保时捷 928 S 5.0L 1985-94 需要两个维修套件
保时捷 928 S4 1986-91 需要两个维修套件
保时捷 928 GT 1989-91 必备两套维护套件
保时捷 928 GTS 1991-95 必备两套保养套件
保时捷 944 S 1986-88
保时捷 944 S2 1989-91
相关参考编号
相关编号、被取代编号、交叉引用编号或替代编号,供比较之用。
1104
您正在查看的产品与这些编号存在交叉引用关系
Product Information
凸轮轴正时链和滑动蹄组。#北环赛道#
四气门技术是这些坚固耐用的发动机的敏感部件之一:定期更换链条及其滑动元件对于避免重大损坏至关重要。正时链条维护套件是“德国制造”的优质产品。
注意:出于成本原因,许多车辆多年来只更换了上部滑靴和链条。但下部滑靴也会磨损并变得多孔。因此,最好预防风险,并查看阀盖下方。
适合:
保时捷 928 S 5.0L 1985-94 需要两个维修套件
保时捷 928 S4 1986-91 需要两个维修套件
保时捷 928 GT 1989-91 必备两套维护套件
保时捷 928 GTS 1991-95 必备两套保养套件
保时捷 944 S 1986-88
保时捷 944 S2 1989-91
相关参考编号
相关编号、被取代编号、交叉引用编号或替代编号,供比较之用。
1104
1104
94410550105
94410504901
94410550111
94410550105
94410550101
您正在查看的产品与这些编号存在交叉引用关系
产品车辆组
产品车辆组
- Porsche 944S 2.5L 16V 1987-88
- Porsche 944S2 3.0L 16V 1989-91
- Porsche 928S4 5.0L 1987-92
- Porsche 928GT 5.0L 1989-91
- Porsche 928GTS 5.4L 1992-95
价格: €139.20
有现货 - 24 小时发货
6079
Product Information
#北环赛道#
适合:
保时捷 911(996 型)1997 年 - 2001 年 9 月
保时捷 Boxster(986 型) 1996 年 - 2002 年 6 月
描述:
如果您车辆上的显示屏无法完全工作或出现故障或失去光泽,则通常是显示屏和/或其导电触点存在缺陷造成的。借助此优惠,您作为业余螺丝刀爱好者可以轻松独立地修理您的仪器。
供货范围包括车速表指针拉拔器和 T 型焊接头。必须用烙铁加热,以便熨烫显示屏导体箔。无需焊接,因为此显示屏是熨烫的。
变体:
这些都是组合仪表中的三个显示器。(见图)。这些显示器适合显示英里/小时的速度表。
质量:
通过与制造合作伙伴的多年合作经验以及我们自己的电子产品开发,我们可以提供卓越的品质和 100% 原创设计。偶尔会有存在危险质量缺陷的廉价仿制品流入市场:我们无法为由第三方产品引起的仪器安装和后续问题提供建议。在这方面,我们希望您能理解。
显示屏玻璃整体尺寸:28.5 x 45.5 毫米 / 45 x 62 毫米 / 28.5 x 45 毫米。
供货范围:
1 个显示屏、1 个测速仪拔针器、1 个 T 型焊接头
相关参考编号
相关编号、被取代编号、交叉引用编号或替代编号,供比较之用。
6079
您正在查看的产品与这些编号存在交叉引用关系
Product Information
美国版组合仪表的显示设置。#北环赛道#
适合:
保时捷 911(996 型)1997 年 - 2001 年 9 月
保时捷 Boxster(986 型) 1996 年 - 2002 年 6 月
描述:
如果您车辆上的显示屏无法完全工作或出现故障或失去光泽,则通常是显示屏和/或其导电触点存在缺陷造成的。借助此优惠,您作为业余螺丝刀爱好者可以轻松独立地修理您的仪器。
供货范围包括车速表指针拉拔器和 T 型焊接头。必须用烙铁加热,以便熨烫显示屏导体箔。无需焊接,因为此显示屏是熨烫的。
变体:
这些都是组合仪表中的三个显示器。(见图)。这些显示器适合显示英里/小时的速度表。
质量:
通过与制造合作伙伴的多年合作经验以及我们自己的电子产品开发,我们可以提供卓越的品质和 100% 原创设计。偶尔会有存在危险质量缺陷的廉价仿制品流入市场:我们无法为由第三方产品引起的仪器安装和后续问题提供建议。在这方面,我们希望您能理解。
显示屏玻璃整体尺寸:28.5 x 45.5 毫米 / 45 x 62 毫米 / 28.5 x 45 毫米。
供货范围:
1 个显示屏、1 个测速仪拔针器、1 个 T 型焊接头
相关参考编号
相关编号、被取代编号、交叉引用编号或替代编号,供比较之用。
6079
5932
您正在查看的产品与这些编号存在交叉引用关系
产品车辆组
产品车辆组
- Porsche Boxster 986 2.5L 1997-99
- Porsche Boxster 986 2.7L 1999-02
- Porsche Boxster S 986 3.2L 1999-02
- Porsche 996 C2 3.4L 1997-08/01
- Porsche 996 C4 3.4L 1997-08/01
价格: €149.64
有现货 - 24 小时发货
1123
Product Information
参考编号:94434317500、90008205802、171407265、N0221414。
#北环赛道#
更换前轴悬架或重新调整前束和外倾角时,需要使用提供的套件:螺栓将麦弗逊支柱固定到轮架上。偏心轮用于调整悬架。
适合:
保时捷 924
保时捷 944
保时捷 968
这些是“德国制造”的高强度螺栓和止动螺母,因为它们是用于安全相关的悬挂部件。请遵守规定的紧固扭矩,并由合格人员进行组装。
根据装配规范,使用过的底盘螺栓和锁紧螺母在拧紧一次后不得重复使用。由于在拧紧过程中会发生塑性变形,锁紧螺母将无法再次达到其最大夹紧力。
相关参考编号
相关编号、被取代编号、交叉引用编号或替代编号,供比较之用。
1123
您正在查看的产品与这些编号存在交叉引用关系
Product Information
前轴支柱螺丝组。参考编号:94434317500、90008205802、171407265、N0221414。
#北环赛道#
更换前轴悬架或重新调整前束和外倾角时,需要使用提供的套件:螺栓将麦弗逊支柱固定到轮架上。偏心轮用于调整悬架。
适合:
保时捷 924
保时捷 944
保时捷 968
这些是“德国制造”的高强度螺栓和止动螺母,因为它们是用于安全相关的悬挂部件。请遵守规定的紧固扭矩,并由合格人员进行组装。
根据装配规范,使用过的底盘螺栓和锁紧螺母在拧紧一次后不得重复使用。由于在拧紧过程中会发生塑性变形,锁紧螺母将无法再次达到其最大夹紧力。
相关参考编号
相关编号、被取代编号、交叉引用编号或替代编号,供比较之用。
1123
1123
94434317500
90008205802
171407265
N0221414
您正在查看的产品与这些编号存在交叉引用关系
产品车辆组
产品车辆组
- Porsche 924 2.0L 1976-79
- Porsche 924 2.0L 1980-85
- Porsche 924 Turbo 2.0L 1979-81
- Porsche 924 Turbo 2.0L 1982-84
- Porsche 924 Carrera GT 2.0L 1981
- Porsche 924 Carrera GTS 2.0L 1982
- Porsche 924S 2.5L 1986-87
- Porsche 924S 2.5L 1988
- Porsche 944 2.5L 8V 1982-87
- Porsche 944 2.7L 8V 1988-89
- Porsche 944S 2.5L 16V 1987-88
- Porsche 944S2 3.0L 16V 1989-91
- Porsche 944 Turbo 2.5L 8V 1985-88
- Porsche 944 Turbo 2.5L 8V 1989-91
- Porsche 944 Turbo S 2.5L 8V 1988
- Porsche 968 3.0L 1992-94
- Porsche 968 Sport 3.0L 1994-95
- Porsche 968 CS 3.0L 1993-95
- Porsche 968 Turbo S 3.0L 1993-94
价格: €119.48
有现货 - 24 小时发货
6822
Product Information
#北环赛道#
适合:
保时捷 356
保时捷 911 912 F/G
保时捷 930
保时捷 914
保时捷 964
保时捷 993
保时捷 996
保时捷 997
保时捷 986/987 Boxster
保时捷 987c Cayman
参考编号:
00072120100, 000.721.201.00, 000 721 201 00, P201
为改装您的保时捷发动机,我们提供发动机支架。法兰表面与悬臂一起连接到安装轴,可确保发动机牢固且同时易于安装到滚动发动机支架上。
在这里,您可以获得所需的支架,以便能够将发动机支架安装在工作台或类似物上。
我们的项目包括适用于所有经典保时捷以及 3.4-3.8L 水冷发动机的发动机支架。
该支架适用于直径为 60 毫米的发动机支架。
相关参考编号
相关编号、被取代编号、交叉引用编号或替代编号,供比较之用。
6822
您正在查看的产品与这些编号存在交叉引用关系
Product Information
博克 (Bock) 发动机工作台支架。#北环赛道#
适合:
保时捷 356
保时捷 911 912 F/G
保时捷 930
保时捷 914
保时捷 964
保时捷 993
保时捷 996
保时捷 997
保时捷 986/987 Boxster
保时捷 987c Cayman
参考编号:
00072120100, 000.721.201.00, 000 721 201 00, P201
为改装您的保时捷发动机,我们提供发动机支架。法兰表面与悬臂一起连接到安装轴,可确保发动机牢固且同时易于安装到滚动发动机支架上。
在这里,您可以获得所需的支架,以便能够将发动机支架安装在工作台或类似物上。
我们的项目包括适用于所有经典保时捷以及 3.4-3.8L 水冷发动机的发动机支架。
该支架适用于直径为 60 毫米的发动机支架。
相关参考编号
相关编号、被取代编号、交叉引用编号或替代编号,供比较之用。
6822
6822
00072120100
您正在查看的产品与这些编号存在交叉引用关系
产品车辆组
产品车辆组
- Porsche Boxster 986 2.5L 1997-99
- Porsche Boxster 986 2.7L 1999-02
- Porsche Boxster S 986 3.2L 1999-02
- Porsche Boxster 986 2.7L 2003-04
- Porsche Boxster S 986 3.2L 2003-04
- Porsche Boxster 987 2.7L 2005 -08/08
- Porsche Boxster 987 S 3.2/3.4L 2005-08/08
- Porsche Boxster 987 MKII 2.9L 2009-2012
- Porsche Boxster S 987 MKII 3.4L 2009-2012
- Porsche 911 1965-1968 2.0L / 912 SWB (F)
- Porsche 911 1968-1973 2.2L / 2.4L / 2.7L RS LWB (F)
- Porsche 911 1974-1977 2.7L / 1976-77 3.0 Carrera
- Porsche 911 1978-1983 3.0L / SC
- Porsche 911 1984-1986 3.2L
- Porsche 911 1987-1989 3.2L G50
- Porsche 911 1975-1977 3.0L Turbo (930)
- Porsche 911 1978-1989 3.3L Turbo (930)
- Porsche 964 (911) C2 1989-93
- Porsche 964 (911) C4 1989-93
- Porsche 964 (911) RS 3.6L 1991-93
- Porsche 964 (911) RS 3.8L 1991-93
- Porsche 964 (911) TURBO 3.3L 1991-93
- Porsche 964 (911) TURBO 3.6L 1991-93
- Porsche 993 (911) C2 1994-97
- Porsche 993 (911) C4 1994-97
- Porsche 993 (911) RS 1994-97
- Porsche 993 (911) C2S 1994-97
- Porsche 993 (911) C4S 1994-97
- Porsche 993 (911) TURBO 1994-96
- Porsche 993 (911) GT2 1994-97
- Porsche 993 (911) TURBO S 1994-97
- Porsche 996 C2 3.4L 1997-08/01
- Porsche 996 C4 3.4L 1997-08/01
- Porsche 996 C2 3.6L 09/01-2005
- Porsche 996 C4 3.6L 09/01-2005
- Porsche 996 C4S 3.6L 09/01-2005
- Porsche 996 TURBO 2000-05
- Porsche 996 GT2 2001-05
- Porsche 996 GT3 MKI 1999-02
- Porsche 996 GT3 MKII 2003>>
- Porsche 996 GT3 RS 2003-04
- Porsche 997 MK1 Carrera 2 3.6L 2005-08
- Porsche 997 MK1 Carrera 2S 3.8L 2005-08
- Porsche 997 MK1 Carrera 4 3.6L 2005-08
- Porsche 997 MK1 Carrera 4S 3.8L 2005-08
- Porsche 997 MK1 TURBO 2007-09
- Porsche 997 MK1 GT3 2007-09
- Porsche 997 MK1 GT2 2007-09
- Porsche 997 MKII Carrera C2 3.6L 2009-12
- Porsche 997 MKII Carrera C4 3.6L 2009-12
- Porsche 997 MKII Carrera C2S 3.8L 2009-12
- Porsche 997 MKII Carrera C4S 3.8L 2009-12
- Porsche 997 MKII GT3 2010-11
- Porsche 997 MKII Turbo 2010-13
- Porsche 997 MKII GT2 RS 2011-13
- Porsche Cayman 2.7L 987C 2006-08
- Porsche Cayman S 3.4L 987C 2005-08
- Porsche Cayman 2.9L 987C MKII 2009-12
- Porsche Cayman S / R 3.4L 987C MKII 2009-12
- Porsche 356 1950-55
- Porsche 356A 1955-59
- Porsche 356B 1959-63
- Porsche 356C 1963-65
- Porsche 914 (1970-1976)
价格: €335.24
有现货 - 24 小时发货
6898
Product Information
#北环赛道#
适合:
保时捷 356
保时捷 911 912 F/G
保时捷 930
保时捷 914
保时捷 964
保时捷 993
保时捷 996 turbo/GT2/GT3
保时捷 997 turbo/GT2/GT3
吸料管外径D=60mm
参考编号:
00072120100, 000.721.201.00, 000 721 201 00, P201
为了改装您的保时捷发动机,我们提供此发动机支架。法兰表面与悬臂一起连接到安装轴,可安全且同时轻松将发动机连接到滚动发动机支架上。或者,您可以使用发动机支架通过轴承座将发动机安装到工作台上。我们的计划中提供带和不带安装支架的所有经典保时捷的发动机支架。
注意:零件的颜色可能与所示颜色不同。
相关参考编号
相关编号、被取代编号、交叉引用编号或替代编号,供比较之用。
6898
您正在查看的产品与这些编号存在交叉引用关系
Product Information
发动机支架用于发动机支架。#北环赛道#
适合:
保时捷 356
保时捷 911 912 F/G
保时捷 930
保时捷 914
保时捷 964
保时捷 993
保时捷 996 turbo/GT2/GT3
保时捷 997 turbo/GT2/GT3
吸料管外径D=60mm
参考编号:
00072120100, 000.721.201.00, 000 721 201 00, P201
为了改装您的保时捷发动机,我们提供此发动机支架。法兰表面与悬臂一起连接到安装轴,可安全且同时轻松将发动机连接到滚动发动机支架上。或者,您可以使用发动机支架通过轴承座将发动机安装到工作台上。我们的计划中提供带和不带安装支架的所有经典保时捷的发动机支架。
注意:零件的颜色可能与所示颜色不同。
相关参考编号
相关编号、被取代编号、交叉引用编号或替代编号,供比较之用。
6898
6898
您正在查看的产品与这些编号存在交叉引用关系
产品车辆组
产品车辆组
- Porsche 911 1965-1968 2.0L / 912 SWB (F)
- Porsche 911 1968-1973 2.2L / 2.4L / 2.7L RS LWB (F)
- Porsche 911 1974-1977 2.7L / 1976-77 3.0 Carrera
- Porsche 911 1978-1983 3.0L / SC
- Porsche 911 1984-1986 3.2L
- Porsche 911 1987-1989 3.2L G50
- Porsche 911 1975-1977 3.0L Turbo (930)
- Porsche 911 1978-1989 3.3L Turbo (930)
- Porsche 964 (911) C2 1989-93
- Porsche 964 (911) C4 1989-93
- Porsche 964 (911) RS 3.6L 1991-93
- Porsche 964 (911) RS 3.8L 1991-93
- Porsche 964 (911) TURBO 3.3L 1991-93
- Porsche 964 (911) TURBO 3.6L 1991-93
- Porsche 993 (911) C2 1994-97
- Porsche 993 (911) C4 1994-97
- Porsche 993 (911) RS 1994-97
- Porsche 993 (911) C2S 1994-97
- Porsche 993 (911) C4S 1994-97
- Porsche 993 (911) TURBO 1994-96
- Porsche 993 (911) GT2 1994-97
- Porsche 993 (911) TURBO S 1994-97
- Porsche 996 TURBO 2000-05
- Porsche 996 GT2 2001-05
- Porsche 996 GT3 MKI 1999-02
- Porsche 996 GT3 MKII 2003>>
- Porsche 996 GT3 RS 2003-04
- Porsche 997 MK1 TURBO 2007-09
- Porsche 997 MK1 GT3 2007-09
- Porsche 997 MK1 GT2 2007-09
- Porsche 997 MKII GT3 2010-11
- Porsche 997 MKII Turbo 2010-13
- Porsche 997 MKII GT2 RS 2011-13
- Porsche 356 1950-55
- Porsche 356A 1955-59
- Porsche 356B 1959-63
- Porsche 356C 1963-65
- Porsche 914 (1970-1976)
价格: €516.20
有现货 - 24 小时发货
6806
Product Information
#北环赛道#
适合:
保时捷 996/997 Carrera
保时捷 986/987 Boxster
保时捷 987C Cayman
(不适用于 911 turbo 和 GT2/GT3 车型)
为了改装您的保时捷发动机,我们提供这款发动机支架。法兰表面与悬臂一起连接到安装轴,可确保发动机牢固且易于安装到滚动发动机支架上。或者,您可以使用发动机支架将发动机安装到工作台上,使用额外提供的轴承座。
相关参考编号
相关编号、被取代编号、交叉引用编号或替代编号,供比较之用。
6806
您正在查看的产品与这些编号存在交叉引用关系
Product Information
发动机支架用于发动机支架。#北环赛道#
适合:
保时捷 996/997 Carrera
保时捷 986/987 Boxster
保时捷 987C Cayman
(不适用于 911 turbo 和 GT2/GT3 车型)
为了改装您的保时捷发动机,我们提供这款发动机支架。法兰表面与悬臂一起连接到安装轴,可确保发动机牢固且易于安装到滚动发动机支架上。或者,您可以使用发动机支架将发动机安装到工作台上,使用额外提供的轴承座。
相关参考编号
相关编号、被取代编号、交叉引用编号或替代编号,供比较之用。
6806
6906
您正在查看的产品与这些编号存在交叉引用关系
产品车辆组
产品车辆组
- Porsche Boxster 986 2.5L 1997-99
- Porsche Boxster 986 2.7L 1999-02
- Porsche Boxster S 986 3.2L 1999-02
- Porsche Boxster 986 2.7L 2003-04
- Porsche Boxster S 986 3.2L 2003-04
- Porsche Boxster 987 2.7L 2005 -08/08
- Porsche Boxster 987 S 3.2/3.4L 2005-08/08
- Porsche Boxster 987 MKII 2.9L 2009-2012
- Porsche Boxster S 987 MKII 3.4L 2009-2012
- Porsche 996 C2 3.4L 1997-08/01
- Porsche 996 C4 3.4L 1997-08/01
- Porsche 996 C2 3.6L 09/01-2005
- Porsche 996 C4 3.6L 09/01-2005
- Porsche 996 C4S 3.6L 09/01-2005
- Porsche 997 MK1 Carrera 2 3.6L 2005-08
- Porsche 997 MK1 Carrera 2S 3.8L 2005-08
- Porsche 997 MK1 Carrera 4 3.6L 2005-08
- Porsche 997 MK1 Carrera 4S 3.8L 2005-08
- Porsche 997 MKII Carrera C2 3.6L 2009-12
- Porsche 997 MKII Carrera C4 3.6L 2009-12
- Porsche 997 MKII Carrera C2S 3.8L 2009-12
- Porsche 997 MKII Carrera C4S 3.8L 2009-12
- Porsche Cayman 2.7L 987C 2006-08
- Porsche Cayman S 3.4L 987C 2005-08
- Porsche Cayman 2.9L 987C MKII 2009-12
- Porsche Cayman S / R 3.4L 987C MKII 2009-12
价格: €919.88
库存到期 - 无交货日期
5080
Product Information
#北环赛道#
适合:
保时捷 924 S
保时捷 944 (除 S/S2/turbo 外)
这款新型节气门控制轮将踏板角度与节气门角度的比率从渐进曲线改为线性曲线。这使得低转速范围内的节气门响应速度明显加快。
相关参考编号
相关编号、被取代编号、交叉引用编号或替代编号,供比较之用。
5080
您正在查看的产品与这些编号存在交叉引用关系
Product Information
短节气门轮,适用于保时捷 924S/944 发动机 SPORT#北环赛道#
适合:
保时捷 924 S
保时捷 944 (除 S/S2/turbo 外)
这款新型节气门控制轮将踏板角度与节气门角度的比率从渐进曲线改为线性曲线。这使得低转速范围内的节气门响应速度明显加快。
相关参考编号
相关编号、被取代编号、交叉引用编号或替代编号,供比较之用。
5080
5080
您正在查看的产品与这些编号存在交叉引用关系
产品车辆组
产品车辆组
- Porsche 924S 2.5L 1986-87
- Porsche 924S 2.5L 1988
- Porsche 944 2.5L 8V 1982-87
- Porsche 944 2.7L 8V 1988-89
价格: €51.04
有现货 - 24 小时发货
7306
Product Information
#北环赛道#
适合:
保时捷 911 G 1980-84 美国版,带 Cat
在这里,您将收到 1980 年至 1984 年保时捷 911 3.0 美国型号的氧传感器插头外壳。此插头外壳适用于带有单极插头的非加热氧传感器。
相关参考编号
相关编号、被取代编号、交叉引用编号或替代编号,供比较之用。
7306
您正在查看的产品与这些编号存在交叉引用关系
Product Information
连接器外壳氧传感器。#北环赛道#
适合:
保时捷 911 G 1980-84 美国版,带 Cat
在这里,您将收到 1980 年至 1984 年保时捷 911 3.0 美国型号的氧传感器插头外壳。此插头外壳适用于带有单极插头的非加热氧传感器。
相关参考编号
相关编号、被取代编号、交叉引用编号或替代编号,供比较之用。
7306
7306
您正在查看的产品与这些编号存在交叉引用关系
产品车辆组
产品车辆组
- Porsche 911 1978-1983 3.0L / SC
- Porsche 911 1984-1986 3.2L
价格: €29.00
可订购 - 7 到 10 天
99355106300/1
Product Information
适合:
适用于左舵车
保时捷 964 1989-94 手动变速箱
保时捷 993 1994-98 6速手动变速箱
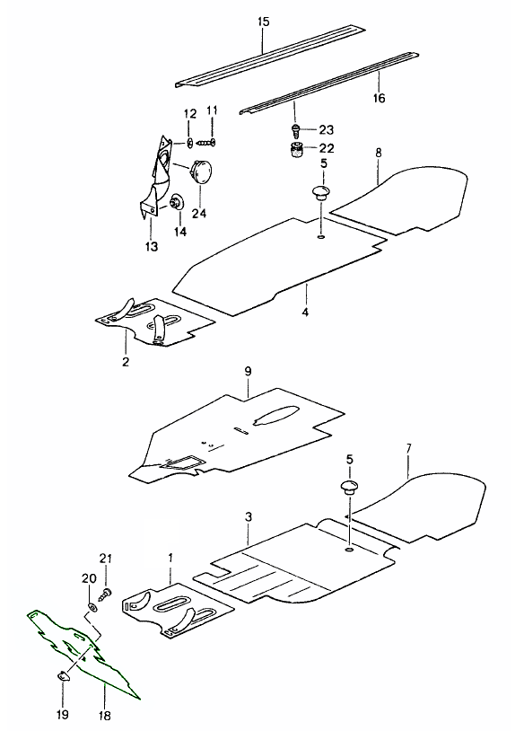
图表参考编号 18
相关参考编号
相关编号、被取代编号、交叉引用编号或替代编号,供比较之用。
99355106300
您正在查看的产品与这些编号存在交叉引用关系
Product Information
踏板地板,左侧,适用于左侧驾驶汽车。适合:
适用于左舵车
保时捷 964 1989-94 手动变速箱
保时捷 993 1994-98 6速手动变速箱
图表参考编号 18
相关参考编号
相关编号、被取代编号、交叉引用编号或替代编号,供比较之用。
99355106300
8871
99355106300
96455160100
您正在查看的产品与这些编号存在交叉引用关系
产品车辆组
产品车辆组
- Porsche 964 (911) C2 1989-93
- Porsche 964 (911) C4 1989-93
- Porsche 964 (911) RS 3.6L 1991-93
- Porsche 964 (911) RS 3.8L 1991-93
- Porsche 964 (911) TURBO 3.3L 1991-93
- Porsche 964 (911) TURBO 3.6L 1991-93
- Porsche 993 (911) C2 1994-97
- Porsche 993 (911) C4 1994-97
- Porsche 993 (911) RS 1994-97
- Porsche 993 (911) C2S 1994-97
- Porsche 993 (911) C4S 1994-97
- Porsche 993 (911) TURBO 1994-96
- Porsche 993 (911) GT2 1994-97
- Porsche 993 (911) TURBO S 1994-97
价格: €111.36
有现货 - 24 小时发货
7314
Product Information
德国制造
#北环赛道#
适合:
保时捷 924S 2.5L 1986-88
保时捷 944 2.5L / 2.7L 1986 年>>
保时捷 944 S2 3.0L
保时捷 944 Turbo 951 2.5L
这里有一款工具,可调整 1986 年以后的保时捷 924S 和 944 的正时皮带张紧器。使用此工具,在狭窄的空间条件下也可以调整皮带张力。
相关参考编号
相关编号、被取代编号、交叉引用编号或替代编号,供比较之用。
7314
您正在查看的产品与这些编号存在交叉引用关系
Product Information
齿形带的皮带张紧器。德国制造
#北环赛道#
适合:
保时捷 924S 2.5L 1986-88
保时捷 944 2.5L / 2.7L 1986 年>>
保时捷 944 S2 3.0L
保时捷 944 Turbo 951 2.5L
这里有一款工具,可调整 1986 年以后的保时捷 924S 和 944 的正时皮带张紧器。使用此工具,在狭窄的空间条件下也可以调整皮带张力。
相关参考编号
相关编号、被取代编号、交叉引用编号或替代编号,供比较之用。
7314
7314
94410506714
94410506709
9441056119R
您正在查看的产品与这些编号存在交叉引用关系
产品车辆组
产品车辆组
- Porsche 924S 2.5L 1986-87
- Porsche 924S 2.5L 1988
- Porsche 944 2.5L 8V 1982-87
- Porsche 944 2.7L 8V 1988-89
- Porsche 944S 2.5L 16V 1987-88
- Porsche 944S2 3.0L 16V 1989-91
- Porsche 944 Turbo 2.5L 8V 1985-88
- Porsche 944 Turbo 2.5L 8V 1989-91
- Porsche 944 Turbo S 2.5L 8V 1988
价格: €35.96
有现货 - 24 小时发货
7313
Product Information

適用於:
保时捷 924 >>1988 年
保时捷 944 >>1988 年
您可以在这里购买后窗雨刷的盲塞,适用于 1988 年之前的所有保时捷 924 和 944。购买前请检查窗户上的孔直径。该直径必须约为 17 毫米。另一个识别特征是雨刷臂上的 M6 螺母。后期型号的直径约为 27 毫米,您可以在我们的商店找到与之匹配的假塞。
当拆卸后雨刷器时,此盲塞可确保后窗上的孔被干净且不显眼地密封。
在赛车运动和许多休闲应用中,车辆上不需要后雨刷,出于重量或视觉原因,后雨刷会被拆除。现在,许多变速器车型仅在好天气下行驶,几乎不用的后雨刷也不再需要。由于许多自制插头无法完全密封,我们决定使用这种特殊解决方案。
由于拆除了雨刮器电机,重量减轻,确保后挡板在解锁后立即自动打开。
盖子由哑光黑漆铝制成,两侧用垫圈密封。
相关参考编号
相关编号、被取代编号、交叉引用编号或替代编号,供比较之用。
7313
您正在查看的产品与这些编号存在交叉引用关系
Product Information
后雨刮器盲塞。
適用於:
保时捷 924 >>1988 年
保时捷 944 >>1988 年
您可以在这里购买后窗雨刷的盲塞,适用于 1988 年之前的所有保时捷 924 和 944。购买前请检查窗户上的孔直径。该直径必须约为 17 毫米。另一个识别特征是雨刷臂上的 M6 螺母。后期型号的直径约为 27 毫米,您可以在我们的商店找到与之匹配的假塞。
当拆卸后雨刷器时,此盲塞可确保后窗上的孔被干净且不显眼地密封。
在赛车运动和许多休闲应用中,车辆上不需要后雨刷,出于重量或视觉原因,后雨刷会被拆除。现在,许多变速器车型仅在好天气下行驶,几乎不用的后雨刷也不再需要。由于许多自制插头无法完全密封,我们决定使用这种特殊解决方案。
由于拆除了雨刮器电机,重量减轻,确保后挡板在解锁后立即自动打开。
盖子由哑光黑漆铝制成,两侧用垫圈密封。
相关参考编号
相关编号、被取代编号、交叉引用编号或替代编号,供比较之用。
7313
7313
您正在查看的产品与这些编号存在交叉引用关系
产品车辆组
产品车辆组
- Porsche 924 2.0L 1976-79
- Porsche 924 2.0L 1980-85
- Porsche 924 Turbo 2.0L 1979-81
- Porsche 924 Turbo 2.0L 1982-84
- Porsche 924 Carrera GT 2.0L 1981
- Porsche 924 Carrera GTS 2.0L 1982
- Porsche 924S 2.5L 1986-87
- Porsche 924S 2.5L 1988
- Porsche 944 2.5L 8V 1982-87
- Porsche 944S 2.5L 16V 1987-88
- Porsche 944 Turbo 2.5L 8V 1985-88
价格: €39.44
有现货 - 24 小时发货