在此输入您的增值税号,然后单击验证:
您的详细信息已经过验证。增值税号注册至:
,
。
现在,您的订单的增值税税率为零。我们保留在您提出订单请求后验证这些详细信息的权利,并在需要时恢复增值税。
您的增值税详细信息无法识别或无效。您的增值税号必须与上面指定的帐单国家/地区相匹配。当前指定为 。您无需输入增值税号的国家/地区代码部分,因为已在上面的帐单地址详细信息中选择了该部分。
增值税号查询服务目前已离线。请在下面的评论或特殊说明字段中提供您的增值税详细信息,我们将在您提出订单请求后应用增值税折扣。
401-000
Support frame / Cross member / Guard plate Panamera 970 (G1) 2010-16
401-005
Wishbone / Headlight range control / Adaptive suspension Panamera 970 (G1) 2010-16
401-010
Wheel carrier / Wheel hub Panamera 970 (G1) 2010-16
401-022
Drive shaft (PR:339) Panamera 970 (G1) 2014>>
402-000
Suspension / Shock absorber strut (PR:475, PASM) Panamera 970 (G1) 2010-16
402-002
Suspension / Shock absorber strut (PR:029, Standard chassis) Panamera 970 (G1) 2010-16
402-005
Suspension / Spring strut air spring (PR:350,351, 354,355, Air Suspension) Panamera 970 (G1) 2010-16
402-012
Anti-roll bar (PR:-351,-355) Panamera 970 (G1) 2014>>
402-017
Anti-roll bar (PR:351,355, Air Suspension) Panamera 970 (G1) 2014>>
402-022
Anti-roll bar / Valve block / Junction / Pressure line (PR:351,355, Air Suspension) Panamera 970 (G1) 2014>>
402-027
Anti-roll bar / Pressure line / Return line / Underbody (PR:351,355, Air suspension) Panamera 970 (G1) 2014>>
403-012
Power steering / Lines / Oil cooler (Model: CWAA,CWFA, CWF,CWDA, CWD,CRCB, CRCC,CGEA, CGE,CGFA, CWBA,CWB, CXPA,CXRA, CXR,CWJA+ PR:-351,-355) Panamera 970 (G1) 2014>>
403-016
Power steering / Lines / Oil cooler (Model: CWAA,CWFA, CWF,CWDA, CWD,CWBA, CWB,CGEA, CGE,CGFA, CRCB,CRCC, CXPA,CXRA, CXR,CWCA, CWC+ PR:351,355) Panamera 970 (G1) 2014>>
403-018
Power steering / Lines / Power-steering pump / Electric Panamera 970 (G1) HYBRID 2014>>
403-042
Power steering / Power-steering pump / Oil container (Model: CWAA,CWFA, CWF,CWDA, CWD,CXPA, CXRA,CXR, CRCB,CRCC, CWBA,CWB, CWJA+ PR:-351, -352,-355) Panamera 970 (G1) 2014>>
403-047
Power steering / Tandem pump / Oil container / Pressure hose / - PDCC - (Model: CWAA,CXNA, CXPA,CXRA, CXR,CWBA, CWB,CWCA, CWC,CWDA, CWD,CWFA, CWF+ PR:351,355) Panamera 970 (G1) 3.0L / 3.6L / 4.8L 2014>>
403-053
Steering wheels / Steering column / Intermediate steering shaft Panamera 970 (G1) 2014>>
403-062
Airbag Panamera 970 (G1) 2014>>
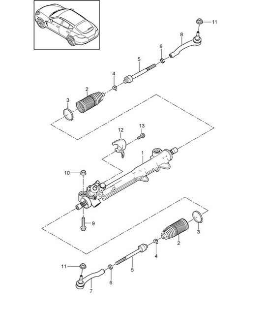
动力转向器 / 转向机 / 转向部件 Panamera 970 (G1) 2014>> - PORSCHE
单击图像编号可查看产品信息
403-002