请稍候… 
我们正在处理您的订单,请稍候
请不要按返回按钮… 
Design 911 Design 911 supply Porsche parts, Porsche spares and Porsche accessories, to both retail and to the trade. Our Porsche product and accessory range includes brakes, exhausts, tyres, wheels and Porsche panels and interiors. https://d911api.datadial.net/images/schemaLogo.png https://d911api.datadial.net/images/schemaLogo.png +443456003478 https://d911api.datadial.net Facebook Instagram
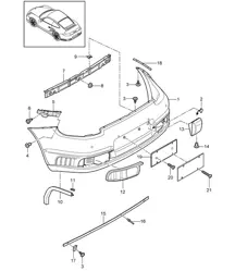
紧固螺母 ST4,8 99950784901 - 99950784901
特殊订单商品
99950784901
Product Information
Product Information
此商品是使用我们原装保时捷零件编号搜索找到的原装保时捷零件。如果您通过此方法订购零件,则您有责任确保您输入并购买适合您车辆的正确产品。请仅在您确定零件编号的情况下使用搜索到的产品,因为如果订购错误,零件将无法退回。

相关参考编号
相关编号、被取代编号、交叉引用编号或替代编号,供比较之用。

99950784901
99950784901

您正在查看的产品与这些编号存在交叉引用关系
相关产品