在此输入您的增值税号,然后单击验证:
您的详细信息已经过验证。增值税号注册至:
,
。
现在,您的订单的增值税税率为零。我们保留在您提出订单请求后验证这些详细信息的权利,并在需要时恢复增值税。
您的增值税详细信息无法识别或无效。您的增值税号必须与上面指定的帐单国家/地区相匹配。当前指定为 。您无需输入增值税号的国家/地区代码部分,因为已在上面的帐单地址详细信息中选择了该部分。
增值税号查询服务目前已离线。请在下面的评论或特殊说明字段中提供您的增值税详细信息,我们将在您提出订单请求后应用增值税折扣。
检查车辆适配性
Kits
OILCOOLERKIT02
Product Information

适合:
保时捷 911 1974-79
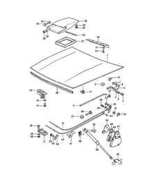
单击“放大”可查看大部件图。
图表参考编号 18、19、20、21、22、23、24**、25、27、28、29、30、32、33 和 34。
#24** 该部件不再可用,因此不包含在此套件中
相关参考编号
相关编号、被取代编号、交叉引用编号或替代编号,供比较之用。
OILCOOLERKIT02
您正在查看的产品与这些编号存在交叉引用关系
Product Information
散热器油冷却器套件。
适合:
保时捷 911 1974-79
单击“放大”可查看大部件图。
图表参考编号 18、19、20、21、22、23、24**、25、27、28、29、30、32、33 和 34。
#24** 该部件不再可用,因此不包含在此套件中
相关参考编号
相关编号、被取代编号、交叉引用编号或替代编号,供比较之用。
OILCOOLERKIT02
90007508502
90002500703
90002701503
91120705100
91120730200
91120730300
90015100703
90018703202
99951108402
99951108002
90037803001
N0120064
您正在查看的产品与这些编号存在交叉引用关系
关于此套件
该套件包括以下商品:
1 x 黄铜长回油管。保时捷 911 1974-89 (93020704603/1
1 x 黄铜长进气油管。保时捷 911 1974-86 (93020704503/1
1 x 散热器 发动机油冷却器前部“蛇形”。保时捷 911 1974-79 / 930 1975-77 (91120705001/1
1 x 前保险杠六角螺栓。保时捷 911 1974-89 (90007508503
1 x 前保险杠垫圈。保时捷 911 1984-89 (90002500703
1 x 前保险杠锁环。保时捷 911 1978-89 (90002701503
3 x 油管安装软管。保时捷 911 1972-89 (91120730200
2 x 锁紧螺母B6 (N0120064
3 x 长油管支架。保时捷 911 1969-89 (91120730300
3 x 隔热板锁定螺栓垫圈。保时捷 Boxster 986 (90015100703
3 x 自攻螺钉 BZ 6,3 x 32 (90018703203
1 x 油管支撑夹。保时捷 911 1972-89 (99951108402
1 x 油管支撑夹。保时捷 911 1972-89 (99951108002
2 x M6 x 20 六角头螺栓,适用于多种用途 (90037803001/1
产品车辆组
产品车辆组
- Porsche 911 1974-1977 2.7L / 1976-77 3.0 Carrera
- Porsche 911 1978-1983 3.0L / SC
价格: €741.81
库存到期 - 无交货日期

