在此输入您的增值税号,然后单击验证:
您的详细信息已经过验证。增值税号注册至:
,
。
现在,您的订单的增值税税率为零。我们保留在您提出订单请求后验证这些详细信息的权利,并在需要时恢复增值税。
您的增值税详细信息无法识别或无效。您的增值税号必须与上面指定的帐单国家/地区相匹配。当前指定为 。您无需输入增值税号的国家/地区代码部分,因为已在上面的帐单地址详细信息中选择了该部分。
增值税号查询服务目前已离线。请在下面的评论或特殊说明字段中提供您的增值税详细信息,我们将在您提出订单请求后应用增值税折扣。
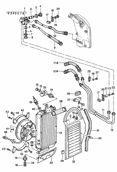
油冷却器/散热器/热交换器
散热器类型适合发动机舱。

适合:
保时捷 911 1972-89
单击“放大”可查看大部件图。
图表参考编号 8。
相关参考编号
相关编号、被取代编号、交叉引用编号或替代编号,供比较之用。
91110704102
您正在查看的产品与这些编号存在交叉引用关系
- Porsche 911 1968-1973 2.2L / 2.4L / 2.7L RS LWB (F)
- Porsche 911 1974-1977 2.7L / 1976-77 3.0 Carrera
- Porsche 911 1978-1983 3.0L / SC
- Porsche 911 1984-1986 3.2L
- Porsche 911 1987-1989 3.2L G50
- Porsche 911 1975-1977 3.0L Turbo (930)
- Porsche 911 1978-1989 3.3L Turbo (930)
适合:
保时捷 911 3.2L / 3.0L 1980-89
保时捷 911 3.3L 涡轮增压 1980-89
当您将冷却器添加到购物篮时,您可以选择温度传感器或盲塞(和垫圈)
请根据需要添加。冷却器不包含任何选件。
图表参考编号 13
相关参考编号
相关编号、被取代编号、交叉引用编号或替代编号,供比较之用。
93020705304
您正在查看的产品与这些编号存在交叉引用关系
- Porsche 911 1978-1983 3.0L / SC
- Porsche 911 1984-1986 3.2L
- Porsche 911 1987-1989 3.2L G50
- Porsche 911 1978-1989 3.3L Turbo (930)

適用於:
保时捷 911 1984-89
图表参考编号 33。
相关参考编号
相关编号、被取代编号、交叉引用编号或替代编号,供比较之用。
93020712100
您正在查看的产品与这些编号存在交叉引用关系
- Porsche 911 1984-1986 3.2L
- Porsche 911 1987-1989 3.2L G50
- Porsche 911 1975-1977 3.0L Turbo (930)
- Porsche 911 1978-1989 3.3L Turbo (930)
#保时捷#
适合:
保时捷 911 1984-89
单击“放大”可查看大部件图。
图表参考编号 32
相关参考编号
相关编号、被取代编号、交叉引用编号或替代编号,供比较之用。
93020731915
您正在查看的产品与这些编号存在交叉引用关系
- Porsche 911 1984-1986 3.2L
- Porsche 911 1987-1989 3.2L G50
OEM+/高性能再现原装 Behr 油冷却器
CNC 加工的安装板采用螺旋设计,以提高强度,并带有凹槽以减轻重量
现代管翅片芯比原来的压降更低,散热性更高
适用于后期滑套式(72-89)和早期螺纹式(65-71)的不锈钢配件,采用升级的 M30“宽口”设计,可改善流量
所有 OEM Behr 功能均在钢坯安装板和冷却器外壳上复制
标配现代 Cerakote 钛合金饰面(额外散热)——OEM Behr 饰面的现代诠释
优化油管的内径和流动特性,以实现车辆油系统中油流量的最大化
完全插入式安装,绝对不需要任何修改
保时捷 911 - 1972 年至 1989 年
保时捷 911 Turbo - 1975 年至 1989 年
图表参考编号 8
经过两年多的研发和四轮原型车试制,CSF 保时捷 911/930 发动机油冷却器在 2023 年 Rennsport Reunion 赛事上全球首发,并获得了热烈的反响。风冷发动机的爱好者们深知,老式水平对置六缸发动机缸体上的油冷却器存在诸多问题。CSF 备受期待的这款全新产品,无疑是多年来为 911 车型推出的最重要的现代发动机升级。
虽然最初的设计在当时很有效,但现在已经老化。此外,设计一直没有更新,原装替换部件也很难找到。在制造 CSF 911 时,CSF 意识到这是风冷发动机领域急需的部件,于是着手设计一款特别的部件。
不过,老旧的原装冷却器并非唯一的问题。CSF 收到过许多第一手报告,称保时捷改版“保时捷经典车”目录上的全新原厂冷却器在安装几个月后就出现了泄漏。显然,保时捷的新产品制造工艺不如原装 Behr 冷却器。CSF 现已推出一款现代化的 OEM+ 解决方案,以应对这种老式设计。
高性能核心采用 7 根冷却管,共 8 排翅片。凭借超高效的翅片设计和高流量管,CSF 冷却器的效率比全新原装设备高出约 10%,比二手设备高出高达 25%。
由于冷却器底板也是常见问题区域,CSF 致力于尽可能地改进这一区域。CSF 冷却器摒弃了原有的铸造设计,而是采用了 CNC 加工的铝坯板。这提供了完美平整的安装表面,更加坚固,并且更耐长时间弯曲。您还会注意到一种特殊的螺旋设计,它在保持重量的同时增加了强度。
每个单元都经过单独的泄漏和压力测试,并享有10 年保修
保时捷的新款 OEM 冷却器极其稀缺/难以采购,价格高达 1,300 美元以上
相关参考编号
相关编号、被取代编号、交叉引用编号或替代编号,供比较之用。
91110704102
您正在查看的产品与这些编号存在交叉引用关系
- Porsche 911 1968-1973 2.2L / 2.4L / 2.7L RS LWB (F)
- Porsche 911 1974-1977 2.7L / 1976-77 3.0 Carrera
- Porsche 911 1978-1983 3.0L / SC
- Porsche 911 1984-1986 3.2L
- Porsche 911 1987-1989 3.2L G50
- Porsche 911 1975-1977 3.0L Turbo (930)
- Porsche 911 1978-1989 3.3L Turbo (930)
高性能核心技术
50mm 核心 vs. OEM 45mm
15 排湍流管,16 排翅片(与 OEM 规格相同)
创新方形翅片设计(更坚固、性能更佳、堵塞更少)
性能提升约 10%(风洞测试)
压降不增加
适合:
保时捷 911 3.2L / 3.0L 1984-89 - 直接安装
保时捷 930 3.3L - 直接安装
保时捷 911 / 930 1965 - 1983 年可改装
图表参考编号 13
交叉参考编号
93020705302, 93020705304
CSF 荣幸地宣布推出备受期待的保时捷 911/930 Turbo 右翼子板油冷器。CSF 的新产品将为该平台的替换和性能售后市场带来原厂一级品质、创新功能和价值(直接替换原厂零件号 930 207 053 02 和 930 207 053 04)。
高性能 CSF 核心与其所替换的 35 年以上老旧油冷却器的特写。CSF 核心采用创新的方形翅片设计,有助于缓解堵塞。由于与管道的接触面积更大,它还提高了性能和强度。
M30 x 1.5 高流量配件
OEM 风格,内部加工
17.5 毫米内径“宽口”设计与 14.5 毫米内径的 OEM 配件
不锈钢配铜压垫圈,比原装低碳钢更坚固耐用
更深的跌幅带来更大的成交量
流量增加 50% 以实现最佳性能
CSF 高流量配件采用 17.5 毫米内径宽口设计,与 OEM 14.5 毫米内径设计进行比较
M22 x 1.5 入口/出口连接
最大流量的内部半径
经过优化,可接受 AN-16 连接,以提高多功能性和设置配置
CSF 的 M22 x 1.5 入口/出口具有改进的内半径连接,可最大限度地增加油流入和流出油冷却器的流量。
温度传感器组合安装凸台
包含三个配件
螺纹插头(无风扇使用)
M14 x 1.5P 适配器(用于 OEM 风扇)
3/8-18 NPTF 适配器(适用于 SPAL/现代风扇)
1/2-14 NPTF 设计可容纳随附的三个配件
相关参考编号
相关编号、被取代编号、交叉引用编号或替代编号,供比较之用。
93020705304
您正在查看的产品与这些编号存在交叉引用关系
- Porsche 911 1978-1983 3.0L / SC
- Porsche 911 1984-1986 3.2L
- Porsche 911 1987-1989 3.2L G50
- Porsche 911 1975-1977 3.0L Turbo (930)
- Porsche 911 1978-1989 3.3L Turbo (930)
保时捷 93020723900 / 93020723901 / 93020723902 粘合橡胶缓冲器是原厂部件,用于安装和稳定风冷保时捷 911 和 Turbo 车型的机油冷却器总成。每个支架均采用精密粘合的橡胶和钢材设计,可隔离振动并吸收发动机运动,保护机油冷却器及其管路免受应力和损坏。
单独出售,每辆车需要 3 个
适合:
保时捷 911 1984 - 1989
图表参考编号 14。
这些缓冲器位于机油冷却器外壳与底盘或发动机支架之间,在保持正确对准和减少整个冷却系统的振动方面发挥着至关重要的作用。随着时间的推移,暴露在高温、油污和振动中会导致橡胶硬化或开裂。更换为保时捷原厂零件可恢复原厂稳定性、隔振性能和长期可靠性。
相关参考编号
相关编号、被取代编号、交叉引用编号或替代编号,供比较之用。
93020723902
您正在查看的产品与这些编号存在交叉引用关系
- Porsche 911 1984-1986 3.2L
- Porsche 911 1987-1989 3.2L G50
- Porsche 911 1975-1977 3.0L Turbo (930)
- Porsche 911 1978-1989 3.3L Turbo (930)
这款替换缓冲器是保时捷风冷发动机中用于支撑油冷却器总成的原厂粘合橡胶支架的高品质替代品。它有助于隔离振动、保持正确对准,并保护冷却器及其相关硬件。
每个都出售,每辆车需要 3 个。
适合:
保时捷 911 1984 - 1989
图表参考编号 14。
这是一种橡胶缓冲器或支架(通常粘合在金属嵌件上),用于缓冲和固定机油冷却器组件相对于发动机或底盘的位置。它可以吸收振动,防止金属之间的接触,并使冷却器保持在正确的位置。它通过提供灵活的安装点,有助于避免机油冷却器支架、管路和配合面受到应力。
替换:保时捷 930.207.239.00 / 930.207.239.01 / 930.207.239.02
位置:油冷却器和发动机或底盘支架之间 - 隔离振动并支持对准
功能:吸收振动和发动机运动,防止油冷却器管路和支架受到压力
安装:直接安装 OE 替换件 — 作为套件安装以获得最佳效果
维护提示:当橡胶变硬、破裂或与金属外壳分离时,请更换
随着时间的推移,缓冲器支架中的橡胶会因高温、机油接触、臭氧、振动和疲劳而老化。它可能会变硬、开裂、收缩,甚至与其粘合的金属嵌件分离。失效的支架会导致机油冷却器发生超过设计范围的位移或振动,从而对冷却器软管、支架和安装法兰造成压力,最终可能导致泄漏或损坏。过度振动可能会导致噪音、错位或支撑部件过早疲劳。当您发现缓冲器损坏或老化,或拆卸或维修机油冷却器时,或作为高里程发动机的预防性维护时,应更换缓冲器。
相关参考编号
相关编号、被取代编号、交叉引用编号或替代编号,供比较之用。
93020723902
您正在查看的产品与这些编号存在交叉引用关系
- Porsche 911 1984-1986 3.2L
- Porsche 911 1987-1989 3.2L G50
- Porsche 911 1975-1977 3.0L Turbo (930)
- Porsche 911 1978-1989 3.3L Turbo (930)
#保时捷#
适合:
保时捷 911 1984-89
单击“放大”可查看大部件图。
图表参考编号 31。
相关参考编号
相关编号、被取代编号、交叉引用编号或替代编号,供比较之用。
93020735300
您正在查看的产品与这些编号存在交叉引用关系
- Porsche 911 1984-1986 3.2L
- Porsche 911 1987-1989 3.2L G50
- Porsche 911 1975-1977 3.0L Turbo (930)
- Porsche 911 1978-1989 3.3L Turbo (930)
#保时捷#
適用於:
保时捷 911 1980>>
单击“放大”可查看大部件图。
图表参考编号 13D
相关参考编号
相关编号、被取代编号、交叉引用编号或替代编号,供比较之用。
PCG91002202
您正在查看的产品与这些编号存在交叉引用关系
- Porsche 911 1978-1983 3.0L / SC
- Porsche 911 1984-1986 3.2L
- Porsche 911 1987-1989 3.2L G50
- Porsche 911 1978-1989 3.3L Turbo (930)
Fits:
Porsche 911 1980>>
Click 'Zoom in' for large parts diagram.
Diagram Ref No 13C
相关参考编号
相关编号、被取代编号、交叉引用编号或替代编号,供比较之用。
90002500703
您正在查看的产品与这些编号存在交叉引用关系
- Porsche 911 1974-1977 2.7L / 1976-77 3.0 Carrera
- Porsche 911 1978-1983 3.0L / SC
- Porsche 911 1984-1986 3.2L
- Porsche 911 1987-1989 3.2L G50
- Porsche 911 1975-1977 3.0L Turbo (930)
- Porsche 911 1978-1989 3.3L Turbo (930)
#保时捷#
适合:
保时捷 911 1978-89
单击“放大”可查看大部件图。
图表参考编号 13B
相关参考编号
相关编号、被取代编号、交叉引用编号或替代编号,供比较之用。
99970326300
您正在查看的产品与这些编号存在交叉引用关系
- Porsche 911 1978-1983 3.0L / SC
- Porsche 911 1984-1986 3.2L
- Porsche 911 1987-1989 3.2L G50
- Porsche 911 1978-1989 3.3L Turbo (930)

適用於:
保时捷 911 1978-89
单击“放大”可查看大部件图。
图表参考编号 13B
相关参考编号
相关编号、被取代编号、交叉引用编号或替代编号,供比较之用。
99970326300
您正在查看的产品与这些编号存在交叉引用关系
- Porsche 911 1978-1983 3.0L / SC
- Porsche 911 1984-1986 3.2L
- Porsche 911 1987-1989 3.2L G50
- Porsche 911 1978-1989 3.3L Turbo (930)
#保时捷#
适合:
保时捷 911 1984-89
单击“放大”可查看大部件图。
图表参考编号 28。
相关参考编号
相关编号、被取代编号、交叉引用编号或替代编号,供比较之用。
93020736100
您正在查看的产品与这些编号存在交叉引用关系
- Porsche 911 1984-1986 3.2L
- Porsche 911 1987-1989 3.2L G50
- Porsche 911 1975-1977 3.0L Turbo (930)
- Porsche 911 1978-1989 3.3L Turbo (930)
适合:
保时捷 911 3.2L / 3.0L 1980-89
保时捷 911 3.3L 涡轮增压 1980-89
当您将冷却器添加到购物篮时,您可以选择温度传感器或盲塞(和垫圈)
请根据需要添加。冷却器不包含任何选件。
图表参考编号 13
相关参考编号
相关编号、被取代编号、交叉引用编号或替代编号,供比较之用。
93020705304
您正在查看的产品与这些编号存在交叉引用关系
- Porsche 911 1978-1983 3.0L / SC
- Porsche 911 1984-1986 3.2L
- Porsche 911 1987-1989 3.2L G50
- Porsche 911 1978-1989 3.3L Turbo (930)

Fits:
Porsche 911 1974-89
Click 'Zoom in' for large parts diagram.
Diagram Ref No 22.
相关参考编号
相关编号、被取代编号、交叉引用编号或替代编号,供比较之用。
91110723300
您正在查看的产品与这些编号存在交叉引用关系
- Porsche 911 1978-1983 3.0L / SC
- Porsche 911 1984-1986 3.2L
- Porsche 911 1987-1989 3.2L G50
-
crankcase left 911 1987-89 101-05
-
crankcase right 911 1987-89 101-10
-
engine lubrication oil pump lines 911 1987-89 104-00
-
engine lubrication oil cooler 911 1987-89 104-05
-
throttle linkage bracket 911 1987-89 107-12
-
air injection 911 CARRERA 930.26 1987-89 108-00
-
replacement transmission transmission case 911 1987-89 302-00
-
front axle stabiliser 911 1987-89 401-00
-
gear housing transmission cover 911 1987-89 302-05
-
gear housing / transmission cover 911 1987-89 302-07
-
shift rods shift forks for 4-speed and 5-speed 911 1987-89 304-00
-
transmission suspension 911 1987-89 306-00
-
transmission control 911 TURBO 1987-88 701-00
-
transmission control 911 CARRERA / TURBO 1987-89 701-01
-
wing with sheet metal cup for tank 911 1978-89 valid up to: F >>91KS1 00958 COUPE, F >>91KS1 40341 TARGA,
>91KS1 50414 CABRIO, F >>93KS0 00184 COUPE, F >>93KS0 10067 TARGA, F >>93KS0 20083 CABRIO 801-30 -
wing with plastic cup for tank 911 1987-89 valid from: F 91KS1 00959>> COUPE, F 91KS1 40342>> TARGA, F 91KS1 50415>> CABRIO, F 93KS0 00185>> COUPE, F 93KS0 10068>> TARGA, F 93KS0 20084>> CABRIO 801-31
-
bumper front 911 1987-89 802-00
-
bumper rear 911 1987-89 802-05
-
lid front 911 1987-89 803-00
-
lid rear 911 1987-89 803-05
-
door glass frame 911 COUPE 1987-89 804-15
-
main folding top bow, roof frame, single parts 911 CABRIO 1987-89 811-12
-
compressor mounting driving mechanism 911 1987-89 813-20
-
condenser lines accessories and others front 911 1987-89 813-45
-
condenser lines accessories and others REAR 911 1987-89 813-55
-
engine electrics - 2 - 911 CARRERA M30.20/25/26 1987-89 901-02
-
电池、起动器、发电机 911 1987-89 902-05
-
horn 911 1987-89 903-00
-
pedals for accelerator control 911 1987-89 702-10
-
interior equipment rear 911 1987-89 CABRIO / SPEEDSTER 807-07
发动机油冷却器、散热器和热交换器——保时捷性能的精密冷却
发动机油冷却器和热交换器系统在保时捷发动机温度管理中起着至关重要的作用。通过将机油和其他液体中的多余热量转移出去,这些部件能够确保稳定的工作温度、持续的润滑以及最长的发动机寿命——尤其是在严苛的性能条件下。
Design911 为新旧保时捷车型提供全系列发动机油冷却器、散热器和热交换器。这些部件采用高效铝材或增强复合材料打造,旨在提供卓越的冷却性能、耐用性和完美贴合性,确保您的保时捷无论在公路还是赛道上都能保持最佳性能。
无论是更换磨损的装置还是升级以提高热效率,我们的油冷却组件都能提供可靠的温度控制和增强的性能。
发动机油冷却器、散热器和热交换器起什么作用?
这些部件调节油和发动机温度以保持最佳性能并防止过热。
核心功能:
- 散发发动机油、冷却剂或变速箱油中的多余热量。
- 保持一致的油粘度并防止负载下发生故障。
- 保护发动机内部部件免受因热而产生的磨损和故障。
- 提高长时间驾驶或赛道期间的整体性能效率。
油冷却器、散热器和热交换器共同构成重要的热管理系统,帮助您的保时捷以最佳性能运行,同时保护重要部件。
为什么油冷却器和热交换器会发生故障?
随着时间的推移,暴露在热循环、振动和污染物中会导致效率损失或完全失效。
常见的失败原因包括:
- 因年久或道路碎片撞击而导致的腐蚀或开裂。
- 因污泥或受污染的油而导致的内部堵塞。
- 密封件或配件泄漏,降低压力和流体效率。
- 热疲劳,导致冷却能力下降。
- 维护不善或忽视冷却剂,加速损坏。
故障症状包括油温高、漏油、冷却剂污染或发动机性能下降,所有这些都表明需要检查或更换。
为什么要更换油冷却组件?
更换磨损或泄漏的油冷却器、散热器或热交换器对于保持润滑质量并防止昂贵的过热损坏至关重要。我们精密配合、高耐用性的组件可在所有条件下恢复适当的冷却平衡和可靠性。
主要优点:
- 恢复有效的油和液体温度调节。
- 防止过热和发动机磨损。
- 提高重载或轨道使用下的可靠性。
- 由耐腐蚀、高性能材料制成。
- 直接兼容经典和现代保时捷发动机。
- 非常适合重建、维护和性能升级。
升级或更换冷却系统组件有助于确保您的保时捷发动机保持高效、耐用且随时可以进行激情驾驶。
亮点:
- 保时捷油冷却器、散热器和热交换器系列齐全。
- 精密设计,实现一致的温度控制。
- 由轻质、耐腐蚀材料制成。
- 设计旨在确保道路和赛车运动条件下的可靠性。
- 改善润滑并保护发动机性能。
- 非常适合维护、重建或性能增强。