在此输入您的增值税号,然后单击验证:
您的详细信息已经过验证。增值税号注册至:
,
。
现在,您的订单的增值税税率为零。我们保留在您提出订单请求后验证这些详细信息的权利,并在需要时恢复增值税。
您的增值税详细信息无法识别或无效。您的增值税号必须与上面指定的帐单国家/地区相匹配。当前指定为 。您无需输入增值税号的国家/地区代码部分,因为已在上面的帐单地址详细信息中选择了该部分。
增值税号查询服务目前已离线。请在下面的评论或特殊说明字段中提供您的增值税详细信息,我们将在您提出订单请求后应用增值税折扣。
发动机轴承/壳体
#保时捷#
適用於:
保时捷 911 1978-89
保时捷 964 1989-94
保时捷 993 1995-98
保时捷 996 Turbo 2001-05
保时捷 996 GT3 / GT3 RS2000-03
单击“放大”可查看大部件图。
图表参考编号 24
相关参考编号
相关编号、被取代编号、交叉引用编号或替代编号,供比较之用。
96410113866
您正在查看的产品与这些编号存在交叉引用关系
- Porsche 911 1978-1983 3.0L / SC
- Porsche 911 1984-1986 3.2L
- Porsche 911 1987-1989 3.2L G50
- Porsche 911 1978-1989 3.3L Turbo (930)
- Porsche 964 (911) C2 1989-93
- Porsche 964 (911) C4 1989-93
- Porsche 964 (911) RS 3.6L 1991-93
- Porsche 964 (911) RS 3.8L 1991-93
- Porsche 964 (911) TURBO 3.3L 1991-93
- Porsche 964 (911) TURBO 3.6L 1991-93
- Porsche 993 (911) C2 1994-97
- Porsche 993 (911) C4 1994-97
- Porsche 993 (911) RS 1994-97
- Porsche 993 (911) C2S 1994-97
- Porsche 993 (911) C4S 1994-97
- Porsche 993 (911) TURBO 1994-96
- Porsche 993 (911) GT2 1994-97
- Porsche 993 (911) TURBO S 1994-97
- Porsche 996 TURBO 2000-05
- Porsche 996 GT3 MKI 1999-02
- Porsche 996 GT3 MKII 2003>>
- Porsche 996 GT3 RS 2003-04
- Porsche 914 (1970-1976)
適用於:
保时捷 911 1978-89
保时捷 964 1989-94
保时捷 993 1995-98
保时捷 996 Turbo 2001-05
保时捷 996 GT3 / GT3 RS2000-03
图表参考编号 24
相关参考编号
相关编号、被取代编号、交叉引用编号或替代编号,供比较之用。
96410113866
您正在查看的产品与这些编号存在交叉引用关系
- Porsche 911 1978-1983 3.0L / SC
- Porsche 911 1984-1986 3.2L
- Porsche 911 1987-1989 3.2L G50
- Porsche 911 1978-1989 3.3L Turbo (930)
- Porsche 964 (911) C2 1989-93
- Porsche 964 (911) C4 1989-93
- Porsche 964 (911) RS 3.6L 1991-93
- Porsche 964 (911) RS 3.8L 1991-93
- Porsche 964 (911) TURBO 3.3L 1991-93
- Porsche 964 (911) TURBO 3.6L 1991-93
- Porsche 993 (911) C2 1994-97
- Porsche 993 (911) C4 1994-97
- Porsche 993 (911) RS 1994-97
- Porsche 993 (911) C2S 1994-97
- Porsche 993 (911) C4S 1994-97
- Porsche 993 (911) TURBO 1994-96
- Porsche 993 (911) GT2 1994-97
- Porsche 993 (911) TURBO S 1994-97
- Porsche 996 TURBO 2000-05
- Porsche 996 GT3 MKI 1999-02
- Porsche 996 GT3 MKII 2003>>
- Porsche 996 GT3 RS 2003-04
- Porsche 914 (1970-1976)
#保时捷#
适合:
保时捷 911 1978-89
保时捷 964 1989-94
保时捷 993 1994-98
保时捷 996 Turbo 2000-05
单击图片可查看大部件图。
图表参考编号 24。
相关参考编号
相关编号、被取代编号、交叉引用编号或替代编号,供比较之用。
96410113801
您正在查看的产品与这些编号存在交叉引用关系
- Porsche 911 1978-1983 3.0L / SC
- Porsche 911 1984-1986 3.2L
- Porsche 911 1987-1989 3.2L G50
- Porsche 911 1975-1977 3.0L Turbo (930)
- Porsche 911 1978-1989 3.3L Turbo (930)
- Porsche 964 (911) C2 1989-93
- Porsche 964 (911) C4 1989-93
- Porsche 964 (911) RS 3.6L 1991-93
- Porsche 964 (911) RS 3.8L 1991-93
- Porsche 964 (911) TURBO 3.3L 1991-93
- Porsche 964 (911) TURBO 3.6L 1991-93
- Porsche 993 (911) C2 1994-97
- Porsche 993 (911) C4 1994-97
- Porsche 993 (911) RS 1994-97
- Porsche 993 (911) C2S 1994-97
- Porsche 993 (911) C4S 1994-97
- Porsche 993 (911) TURBO 1994-96
- Porsche 993 (911) GT2 1994-97
- Porsche 993 (911) TURBO S 1994-97
- Porsche 996 TURBO 2000-05
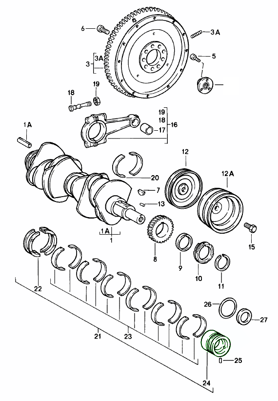
标准尺寸曲轴主轴承(8号),也称为轴承 VIII。主轴承通过在曲轴轴颈和发动机缸体轴承孔之间提供低摩擦、精密的轴承表面来支撑曲轴。
适用:
保时捷 911 1978 - 1989
保时捷 964 1989 - 1994
保时捷 993 1994 - 1998
保时捷 996 Turbo 2000 - 2005
图示编号 24。
曲轴主轴承承受燃烧压力作用于活塞和连杆时产生的力。它们的作用包括:
•保持发动机平稳运转
•防止金属与金属接触
•将载荷分散到曲轴轴颈上
•保持运动部件之间的油膜完整性
当曲轴轴颈尺寸在出厂公差范围内时,使用标准尺寸轴承。如果轴颈磨损严重,需要使用小尺寸轴承,则应选择小尺寸轴承。
曲轴主轴承承受着极大的旋转力、压力、高温和油液剪切力。随着时间的推移,轴承可能会出现以下情况:
•磨损并降低油膜厚度
•出现评分或表面疲劳
•失去适当的许可
主轴承磨损的症状可能包括:
•发动机发出敲击声或嘎嘎声
•降低油压
•振动加剧
•曲轴轴颈过早磨损
更换磨损或损坏的轴承可以恢复正确的油隙,改善曲轴支撑,减少摩擦,并有助于确保发动机性能可靠——这在高增压涡轮增压发动机中尤为重要,因为这类发动机的轴承负荷更高。
如果发现以下情况,请更换此轴承:
•发动机爆震或异常噪音
•低油压或油压波动
•高里程数且发动机已拆解重建
•在发动机全面大修或重建期间
•当轴颈磨损需要选择标准尺寸或偏小尺寸的轴承时
相关参考编号
相关编号、被取代编号、交叉引用编号或替代编号,供比较之用。
96410113801
您正在查看的产品与这些编号存在交叉引用关系
- Porsche 911 1978-1983 3.0L / SC
- Porsche 911 1984-1986 3.2L
- Porsche 911 1987-1989 3.2L G50
- Porsche 911 1975-1977 3.0L Turbo (930)
- Porsche 911 1978-1989 3.3L Turbo (930)
- Porsche 964 (911) C2 1989-93
- Porsche 964 (911) C4 1989-93
- Porsche 964 (911) RS 3.6L 1991-93
- Porsche 964 (911) RS 3.8L 1991-93
- Porsche 964 (911) TURBO 3.3L 1991-93
- Porsche 964 (911) TURBO 3.6L 1991-93
- Porsche 993 (911) C2 1994-97
- Porsche 993 (911) C4 1994-97
- Porsche 993 (911) RS 1994-97
- Porsche 993 (911) C2S 1994-97
- Porsche 993 (911) C4S 1994-97
- Porsche 993 (911) TURBO 1994-96
- Porsche 993 (911) GT2 1994-97
- Porsche 993 (911) TURBO S 1994-97
- Porsche 996 TURBO 2000-05
#塑料量规#
3G 矿物油脂:在使用 Plastigauge 之前涂抹在轴颈上
3G硅脂:涂抹于壳体表面
润滑剂可帮助测量汽车轴承的间隙。
Plastigauge 精密间隙规

適用於:
保时捷 911 1965-89
保时捷 914
保时捷 930 Turbo 1975-89
保时捷 964 1989-94
保时捷 993 1995-98
保时捷 996 Turbo/GT2/GT3
保时捷 997.1 Turbo/GT2/GT3
保时捷 997.2 GT2/GT3
单击“放大”可查看大部件图。
图表参考编号 31
相关参考编号
相关编号、被取代编号、交叉引用编号或替代编号,供比较之用。
99610113780
您正在查看的产品与这些编号存在交叉引用关系
- Porsche 911 1965-1968 2.0L / 912 SWB (F)
- Porsche 911 1968-1973 2.2L / 2.4L / 2.7L RS LWB (F)
- Porsche 911 1974-1977 2.7L / 1976-77 3.0 Carrera
- Porsche 911 1978-1983 3.0L / SC
- Porsche 911 1984-1986 3.2L
- Porsche 911 1987-1989 3.2L G50
- Porsche 911 1975-1977 3.0L Turbo (930)
- Porsche 911 1978-1989 3.3L Turbo (930)
- Porsche 964 (911) C2 1989-93
- Porsche 964 (911) C4 1989-93
- Porsche 964 (911) RS 3.6L 1991-93
- Porsche 964 (911) RS 3.8L 1991-93
- Porsche 964 (911) TURBO 3.3L 1991-93
- Porsche 964 (911) TURBO 3.6L 1991-93
- Porsche 993 (911) C2 1994-97
- Porsche 993 (911) C4 1994-97
- Porsche 993 (911) RS 1994-97
- Porsche 993 (911) C2S 1994-97
- Porsche 993 (911) C4S 1994-97
- Porsche 993 (911) TURBO 1994-96
- Porsche 993 (911) GT2 1994-97
- Porsche 993 (911) TURBO S 1994-97
- Porsche 996 TURBO 2000-05
- Porsche 996 GT2 2001-05
- Porsche 996 GT3 MKI 1999-02
- Porsche 996 GT3 MKII 2003>>
- Porsche 996 GT3 RS 2003-04
- Porsche 997 MK1 TURBO 2007-09
- Porsche 997 MK1 GT3 2007-09
- Porsche 997 MK1 GT2 2007-09
- Porsche 997 MKII GT3 2010-11
- Porsche 997 MKII GT2 RS 2011-13
- Porsche 914 (1970-1976)
#保时捷#
适合:
保时捷 911 1978-89
保时捷 964 1989-94
保时捷 993 1994-98
保时捷 996 Turbo 2000-05
单击图片可查看大部件图。
图表参考编号 22。
相关参考编号
相关编号、被取代编号、交叉引用编号或替代编号,供比较之用。
93010113115
您正在查看的产品与这些编号存在交叉引用关系
- Porsche 911 1978-1983 3.0L / SC
- Porsche 911 1984-1986 3.2L
- Porsche 911 1987-1989 3.2L G50
- Porsche 911 1975-1977 3.0L Turbo (930)
- Porsche 911 1978-1989 3.3L Turbo (930)
- Porsche 964 (911) C2 1989-93
- Porsche 964 (911) C4 1989-93
- Porsche 964 (911) RS 3.6L 1991-93
- Porsche 964 (911) RS 3.8L 1991-93
- Porsche 964 (911) TURBO 3.3L 1991-93
- Porsche 964 (911) TURBO 3.6L 1991-93
- Porsche 993 (911) C2 1994-97
- Porsche 993 (911) C4 1994-97
- Porsche 993 (911) RS 1994-97
- Porsche 993 (911) C2S 1994-97
- Porsche 993 (911) C4S 1994-97
- Porsche 993 (911) TURBO 1994-96
- Porsche 993 (911) GT2 1994-97
- Porsche 993 (911) TURBO S 1994-97
- Porsche 996 TURBO 2000-05
发动机壳体轴承——适用于保时捷发动机的精密大端轴承、连杆轴承和推力轴承
发动机壳体轴承是发动机结构中默默无闻的英雄——它确保曲轴、连杆和发动机缸体之间顺畅、无摩擦地运动。它们在维持油隙、支撑旋转和吸收燃烧过程中的负载方面发挥着至关重要的作用。
Design911 提供全系列精密设计的壳式轴承,包括大端轴承、连杆轴承和推力轴承,专为经典风冷式和现代水冷式保时捷发动机设计。我们的轴承采用高等级公差制造,具有卓越的负载能力、表面光洁度和油膜稳定性,即使在极端性能条件下也能保证可靠性。
无论您进行重建、更新还是性能升级,我们制造商品质的轴承都能满足全球保时捷爱好者和发动机制造商所要求的平衡性、耐用性和精度。
发动机壳体轴承起什么作用?
壳轴承在旋转和固定发动机部件之间形成低摩擦界面,使曲轴和连杆在重载下自由旋转。
核心功能:
- 以最小的摩擦支撑曲轴和连杆旋转。
- 保持正确的油隙以实现持续润滑。
- 吸收并均匀分配曲轴轴颈上的燃烧力。
- 减少磨损和振动,延长发动机寿命。
如果没有这些轴承,就会发生金属与金属的接触,从而导致灾难性的发动机故障。
发动机轴承为何会发生故障?
即使是高性能轴承也会随着时间的推移而磨损,尤其是在高温、污染或油压不足的情况下。故障会导致摩擦力增大、发动机噪音增大,甚至轴承完全卡死。
轴承故障的常见原因包括:
- 缺油或油压低,导致金属直接接触。
- 发动机油被污染或变质,引入磨蚀性颗粒。
- 间隙或安装不当,导致磨损不均匀。
- 因负荷过大或爆炸而过热。
- 长期使用后轴承疲劳或材料退化。
轴承磨损的迹象包括敲击声、低油压警告或轴承表面可见划痕。立即更换轴承至关重要,以防止损坏曲轴和发动机缸体。
为什么要更换精密级轴承?
在发动机重建期间安装新的、精密匹配的轴承可确保适当的油隙、平稳运行和可靠的动力传输。
主要优点:
- 恢复最佳油压和润滑性能。
- 消除因轴承磨损而引起的敲击和振动。
- 防止曲轴划伤和内部磨损。
- 采用三金属或双金属合金制成,具有卓越的强度和耐用性。
- 精密加工的公差确保一致的性能和配合。
- 与多种保时捷发动机兼容,从风冷 911 到 GT 型号。
更换磨损的壳轴承是保时捷发动机重建中至关重要的一步,确保了该品牌性能传统的长寿命和平稳性。
亮点:
- 全面的大端轴承、连杆轴承和推力轴承。
- 按照赛车运动标准精密设计,具有高负荷耐用性。
- 三金属和双金属合金结构,具有强度和热稳定性。
- 确保一致的油间隙和压力平衡。
- 非常适合重建、修复和高性能应用。
- 完美适合保时捷风冷和水冷发动机。