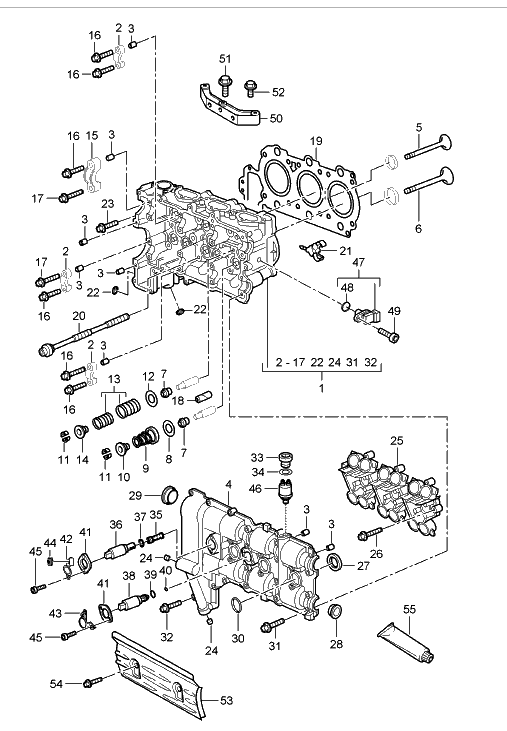
气缸盖/凸轮轴托架
发动机气缸盖垫片套件
气缸盖垫片是将气缸盖密封在发动机缸体上的关键部件。它具有多项关键功能:密封燃烧室,确保适当的压缩,从而实现高效的发动机性能;通过密封气缸盖和发动机缸体之间的流体通道,防止冷却液和机油混合。
适合:
- 保时捷 997 MK1 卡雷拉 2S 3.8L 2005-08
- 保时捷 997 MK1 卡雷拉 4S 3.8L 2005-08
图表参考编号 19 和 20。
气缸盖垫片故障的迹象
气缸盖垫片故障会导致严重的发动机故障。常见症状包括:
发动机过热
- 低气缸压缩
- 外部冷却液或油泄漏
- 排气管冒白烟
- 散热器或冷却液储液罐内有气泡
- 乳白色或白色发动机油
相关参考编号
相关编号、被取代编号、交叉引用编号或替代编号,供比较之用。
99610418059
您正在查看的产品与这些编号存在交叉引用关系
- Porsche 997 MK1 Carrera 2S 3.8L 2005-08
- Porsche 997 MK1 Carrera 4S 3.8L 2005-08
一套 12 件

适合:
- 保时捷 Boxster 986 2.5L 1997-99
- 保时捷 Boxster 986 2.7L 1999-02
- 保时捷 Boxster S 986 3.2L 1999-02
- 保时捷 Boxster 986 2.7L 2003-04
- 保时捷 Boxster S 986 3.2L 2003-04
- 保时捷 Boxster 987 2.7L 2005 -08/08
- 保时捷 Boxster 987 S 3.2/3.4L 2005-08/08
- 保时捷 996 C2 3.4L 1997-08/01
- 保时捷 996 C4 3.4L 1997-08/01
- 保时捷 996 C2 3.6L 09/01-2005
- 保时捷 996 C4 3.6L 09/01-2005
- 保时捷 996 C4S 3.6L 09/01-2005
- 保时捷 996 GT2 2001-05
- 保时捷 996 GT3 MKI 1999-02
- 保时捷 996 GT3 MKII 2003>>
- 保时捷 996 GT3 RS 2003-04
- 保时捷 997 MK1 卡雷拉 2 3.6L 2005-08
- 保时捷 997 MK1 卡雷拉 2S 3.8L 2005-08
- 保时捷 997 MK1 卡雷拉 4 3.6L 2005-08
- 保时捷 997 MK1 卡雷拉 4S 3.8L 2005-08
- 保时捷 开曼 2.7L 987C 2006-08
- 保时捷 开曼 S 3.4L 987C 2005-08
点击“放大”查看大图
图表参考编号 20。
相关参考编号
相关编号、被取代编号、交叉引用编号或替代编号,供比较之用。
99610418059
您正在查看的产品与这些编号存在交叉引用关系
- Porsche Boxster 986 2.5L 1997-99
- Porsche Boxster 986 2.7L 1999-02
- Porsche Boxster S 986 3.2L 1999-02
- Porsche Boxster 986 2.7L 2003-04
- Porsche Boxster S 986 3.2L 2003-04
- Porsche Boxster 987 2.7L 2005 -08/08
- Porsche Boxster 987 S 3.2/3.4L 2005-08/08
- Porsche 996 C2 3.4L 1997-08/01
- Porsche 996 C4 3.4L 1997-08/01
- Porsche 996 C2 3.6L 09/01-2005
- Porsche 996 C4 3.6L 09/01-2005
- Porsche 996 C4S 3.6L 09/01-2005
- Porsche 996 GT2 2001-05
- Porsche 996 GT3 MKI 1999-02
- Porsche 996 GT3 MKII 2003>>
- Porsche 996 GT3 RS 2003-04
- Porsche 997 MK1 Carrera 2 3.6L 2005-08
- Porsche 997 MK1 Carrera 2S 3.8L 2005-08
- Porsche 997 MK1 Carrera 4 3.6L 2005-08
- Porsche 997 MK1 Carrera 4S 3.8L 2005-08
- Porsche Cayman 2.7L 987C 2006-08
- Porsche Cayman S 3.4L 987C 2005-08
每件均已售出。
每辆车需要 x2。
适合:
保时捷 997.1 Turbo / GT2 3.6L MKI 2007>>2009
保时捷 997.2 Turbo / GT2 RS 3.6L MKII 2010>>2011
带有发动机代码的汽车:
9770
图表参考编号 10
相关参考编号
相关编号、被取代编号、交叉引用编号或替代编号,供比较之用。
99710531170
您正在查看的产品与这些编号存在交叉引用关系
- Porsche 997 MK1 TURBO 2007-09
- Porsche 997 MK1 GT2 2007-09
- Porsche 997 MKII Turbo 2010-13
- Porsche 997 MKII GT2 RS 2011-13
3.8L, 99.00mm Bore, flanged liner (No cutouts).
Fits:
Porsche 997 3.8L Price is Each
Inside Diameter 99.00mm / 3.898inch
Outside Diameter 104.20mm / 4.103inch
Length 128.00mm / 4.992inch
Flange Diameter 107.40mm / 4.228inch
Flange Depth 5.00mm / 0.197inch
NEW Cast Iron cylinder liners suitable for repairing damaged Alusil bores in 997 engines.
These liners are becoming very popular, with increasing numbers of cars suffering from scoring in the bores.
The liners will need to be fitted by a professional machine shop. You will not need to get special pistons or rings, as the original spec ones can be used with these cast iron liners.
- Porsche 997 MK1 Carrera 2S 3.8L 2005-08
- Porsche 997 MK1 Carrera 4S 3.8L 2005-08

Fits:
Porsche 997 Turbo / GT2 / GT2 RS 2009-11
Porsche 997 GT3 / GT3 RS / GT3 RS 4.0 2007-11
Click 'Zoom in' for large parts diagram.
Diagram ref no 8
相关参考编号
相关编号、被取代编号、交叉引用编号或替代编号,供比较之用。
99710119371
您正在查看的产品与这些编号存在交叉引用关系
- Porsche 997 MK1 TURBO 2007-09
- Porsche 997 MK1 GT3 2007-09
- Porsche 997 MK1 GT2 2007-09
- Porsche 997 MKII GT3 2010-11
- Porsche 997 MKII Turbo 2010-13
- Porsche 997 MKII GT2 RS 2011-13

Fits:
Porsche 997 Turbo / GT2 / GT2 RS 2009-11
Porsche 997 GT3 / GT3 RS / GT3 RS 4.0 2007-11
Click 'Zoom in' for large parts diagram.
Diagram ref no 8
相关参考编号
相关编号、被取代编号、交叉引用编号或替代编号,供比较之用。
99710119371
您正在查看的产品与这些编号存在交叉引用关系
- Porsche 997 MK1 TURBO 2007-09
- Porsche 997 MK1 GT3 2007-09
- Porsche 997 MK1 GT2 2007-09
- Porsche 997 MKII GT3 2010-11
- Porsche 997 MKII Turbo 2010-13
- Porsche 997 MKII GT2 RS 2011-13
每台发动机24个螺栓。价格为单价。
#保时捷#
适合:
保时捷 986 Boxster 2.7L / S 3.4L 2003-04
保时捷 987 Boxster 2005-08
保时捷 987C Cayman 2005-08
保时捷 996 C2 / C4 / C4S 2002-05
保时捷997 Carrera 2005-08
点击“放大”查看大图
图表参考编号 20。
相关参考编号
相关编号、被取代编号、交叉引用编号或替代编号,供比较之用。
99610418059
您正在查看的产品与这些编号存在交叉引用关系
- Porsche Boxster 986 2.5L 1997-99
- Porsche Boxster 986 2.7L 1999-02
- Porsche Boxster S 986 3.2L 1999-02
- Porsche Boxster 986 2.7L 2003-04
- Porsche Boxster S 986 3.2L 2003-04
- Porsche Boxster 987 2.7L 2005 -08/08
- Porsche Boxster 987 S 3.2/3.4L 2005-08/08
- Porsche 996 C2 3.4L 1997-08/01
- Porsche 996 C4 3.4L 1997-08/01
- Porsche 996 C2 3.6L 09/01-2005
- Porsche 996 C4 3.6L 09/01-2005
- Porsche 996 C4S 3.6L 09/01-2005
- Porsche 996 GT2 2001-05
- Porsche 996 GT3 MKI 1999-02
- Porsche 996 GT3 MKII 2003>>
- Porsche 996 GT3 RS 2003-04
- Porsche 997 MK1 Carrera 2 3.6L 2005-08
- Porsche 997 MK1 Carrera 2S 3.8L 2005-08
- Porsche 997 MK1 Carrera 4 3.6L 2005-08
- Porsche 997 MK1 Carrera 4S 3.8L 2005-08
- Porsche Cayman 2.7L 987C 2006-08
- Porsche Cayman S 3.4L 987C 2005-08
每台发动机 24 个螺栓。价格为每个螺栓。

適用於:
保时捷 986 Boxster 2.7L / S 3.4L 2003-04
保时捷 987 Boxster 2005-08
保时捷 987C Cayman 2005-08
保时捷 996 C2 / C4 / C4S 2002-05
保时捷 997 Carrera 2005-08
点击“放大”查看大部件图
图表参考编号 20。
相关参考编号
相关编号、被取代编号、交叉引用编号或替代编号,供比较之用。
99610418059
您正在查看的产品与这些编号存在交叉引用关系
- Porsche Boxster 986 2.5L 1997-99
- Porsche Boxster 986 2.7L 1999-02
- Porsche Boxster S 986 3.2L 1999-02
- Porsche Boxster 986 2.7L 2003-04
- Porsche Boxster S 986 3.2L 2003-04
- Porsche Boxster 987 2.7L 2005 -08/08
- Porsche Boxster 987 S 3.2/3.4L 2005-08/08
- Porsche 996 C2 3.4L 1997-08/01
- Porsche 996 C4 3.4L 1997-08/01
- Porsche 996 C2 3.6L 09/01-2005
- Porsche 996 C4 3.6L 09/01-2005
- Porsche 996 C4S 3.6L 09/01-2005
- Porsche 996 GT2 2001-05
- Porsche 996 GT3 MKI 1999-02
- Porsche 996 GT3 MKII 2003>>
- Porsche 996 GT3 RS 2003-04
- Porsche 997 MK1 Carrera 2 3.6L 2005-08
- Porsche 997 MK1 Carrera 2S 3.8L 2005-08
- Porsche 997 MK1 Carrera 4 3.6L 2005-08
- Porsche 997 MK1 Carrera 4S 3.8L 2005-08
- Porsche Cayman 2.7L 987C 2006-08
- Porsche Cayman S 3.4L 987C 2005-08

Fits:
Porsche 987 Boxster 2005-08
Porsche 987C Cayman 2005-08
Porsche 996 C2 / C4 / C4S 2002-05
Porsche 997 Carrera 2005-08
Click 'zoom in' for large parts diagram
Diagram ref no 27.
相关参考编号
相关编号、被取代编号、交叉引用编号或替代编号,供比较之用。
99610420300
您正在查看的产品与这些编号存在交叉引用关系
- Porsche Boxster 986 2.7L 2003-04
- Porsche Boxster S 986 3.2L 2003-04
- Porsche Boxster 987 2.7L 2005 -08/08
- Porsche Boxster 987 S 3.2/3.4L 2005-08/08
- Porsche 996 C2 3.6L 09/01-2005
- Porsche 996 C4 3.6L 09/01-2005
- Porsche 996 C4S 3.6L 09/01-2005
- Porsche 997 MK1 Carrera 2 3.6L 2005-08
- Porsche 997 MK1 Carrera 2S 3.8L 2005-08
- Porsche 997 MK1 Carrera 4 3.6L 2005-08
- Porsche 997 MK1 Carrera 4S 3.8L 2005-08
- Porsche Cayman 2.7L 987C 2006-08
- Porsche Cayman S 3.4L 987C 2005-08

Fits:
Porsche 987 Boxster 2005-08
Porsche 987C Cayman 2005-08
Porsche 996 C2 / C4 / C4S 2002-05
Porsche 997 Carrera 2005-08
Click 'zoom in' for large parts diagram
Diagram ref no 27.
相关参考编号
相关编号、被取代编号、交叉引用编号或替代编号,供比较之用。
99610420300
您正在查看的产品与这些编号存在交叉引用关系
- Porsche Boxster 986 2.7L 2003-04
- Porsche Boxster S 986 3.2L 2003-04
- Porsche Boxster 987 2.7L 2005 -08/08
- Porsche Boxster 987 S 3.2/3.4L 2005-08/08
- Porsche 996 C2 3.6L 09/01-2005
- Porsche 996 C4 3.6L 09/01-2005
- Porsche 996 C4S 3.6L 09/01-2005
- Porsche 997 MK1 Carrera 2 3.6L 2005-08
- Porsche 997 MK1 Carrera 2S 3.8L 2005-08
- Porsche 997 MK1 Carrera 4 3.6L 2005-08
- Porsche 997 MK1 Carrera 4S 3.8L 2005-08
- Porsche Cayman 2.7L 987C 2006-08
- Porsche Cayman S 3.4L 987C 2005-08

Fits:
Porsche 986 Boxster 2.7L / S 3.4L 2003-04
Porsche 987 Boxster 2005-08
Porsche 987C Cayman 2005-08
Porsche 996 C2 / C4 / C4S 2002-05
Porsche 997 Carrera 2005-08
Click 'zoom in' for large parts diagram
Diagram ref no 41.
相关参考编号
相关编号、被取代编号、交叉引用编号或替代编号,供比较之用。
99610524403
您正在查看的产品与这些编号存在交叉引用关系
- Porsche Boxster 986 2.7L 2003-04
- Porsche Boxster S 986 3.2L 2003-04
- Porsche Boxster 987 2.7L 2005 -08/08
- Porsche Boxster 987 S 3.2/3.4L 2005-08/08
- Porsche 996 C2 3.4L 1997-08/01
- Porsche 996 C4 3.4L 1997-08/01
- Porsche 996 C2 3.6L 09/01-2005
- Porsche 996 C4 3.6L 09/01-2005
- Porsche 996 C4S 3.6L 09/01-2005
- Porsche 997 MK1 Carrera 2 3.6L 2005-08
- Porsche 997 MK1 Carrera 2S 3.8L 2005-08
- Porsche 997 MK1 Carrera 4 3.6L 2005-08
- Porsche 997 MK1 Carrera 4S 3.8L 2005-08
- Porsche Cayman 2.7L 987C 2006-08
- Porsche Cayman S 3.4L 987C 2005-08
适用:
保时捷 986 Boxster 2.7L / S 3.4L 2003-04
保时捷 987 Boxster 2005-08
保时捷 987C Cayman 2005-08
保时捷 996 C2 / C4 / C4S 2002-05
保时捷 997 Carrera 2005-08
点击“放大”查看零件大图
图示编号 41。
相关参考编号
相关编号、被取代编号、交叉引用编号或替代编号,供比较之用。
99610524403
您正在查看的产品与这些编号存在交叉引用关系
- Porsche Boxster 986 2.7L 2003-04
- Porsche Boxster S 986 3.2L 2003-04
- Porsche Boxster 987 2.7L 2005 -08/08
- Porsche Boxster 987 S 3.2/3.4L 2005-08/08
- Porsche 996 C2 3.4L 1997-08/01
- Porsche 996 C4 3.4L 1997-08/01
- Porsche 996 C2 3.6L 09/01-2005
- Porsche 996 C4 3.6L 09/01-2005
- Porsche 996 C4S 3.6L 09/01-2005
- Porsche 997 MK1 Carrera 2 3.6L 2005-08
- Porsche 997 MK1 Carrera 2S 3.8L 2005-08
- Porsche 997 MK1 Carrera 4 3.6L 2005-08
- Porsche 997 MK1 Carrera 4S 3.8L 2005-08
- Porsche Cayman 2.7L 987C 2006-08
- Porsche Cayman S 3.4L 987C 2005-08

Fits:
Porsche 986 Boxster 1997-04
Porsche 987 Boxster 2005-08
Porsche 987C Cayman 2005-08
Porsche 996 C2 / C4 / C4S 1997-05
Porsche 997 Carrera 2005-08
Click 'zoom in' for large parts diagram
Diagram ref no 28.
相关参考编号
相关编号、被取代编号、交叉引用编号或替代编号,供比较之用。
99610421554
您正在查看的产品与这些编号存在交叉引用关系
- Porsche Boxster 986 2.5L 1997-99
- Porsche Boxster 986 2.7L 1999-02
- Porsche Boxster S 986 3.2L 1999-02
- Porsche Boxster 986 2.7L 2003-04
- Porsche Boxster S 986 3.2L 2003-04
- Porsche Boxster 987 2.7L 2005 -08/08
- Porsche Boxster 987 S 3.2/3.4L 2005-08/08
- Porsche 996 C2 3.4L 1997-08/01
- Porsche 996 C4 3.4L 1997-08/01
- Porsche 996 C2 3.6L 09/01-2005
- Porsche 996 C4 3.6L 09/01-2005
- Porsche 996 C4S 3.6L 09/01-2005
- Porsche 997 MK1 Carrera 2 3.6L 2005-08
- Porsche 997 MK1 Carrera 2S 3.8L 2005-08
- Porsche 997 MK1 Carrera 4 3.6L 2005-08
- Porsche 997 MK1 Carrera 4S 3.8L 2005-08
- Porsche Cayman 2.7L 987C 2006-08
- Porsche Cayman S 3.4L 987C 2005-08

Fits:
Porsche 986 Boxster 1997-04
Porsche 987 Boxster 2005-08
Porsche 987C Cayman 2005-08
Porsche 996 C2 / C4 / C4S 1997-05
Porsche 997 Carrera 2005-08
Click 'zoom in' for large parts diagram
Diagram ref no 28.
相关参考编号
相关编号、被取代编号、交叉引用编号或替代编号,供比较之用。
99610421554
您正在查看的产品与这些编号存在交叉引用关系
- Porsche Boxster 986 2.5L 1997-99
- Porsche Boxster 986 2.7L 1999-02
- Porsche Boxster S 986 3.2L 1999-02
- Porsche Boxster 986 2.7L 2003-04
- Porsche Boxster S 986 3.2L 2003-04
- Porsche Boxster 987 2.7L 2005 -08/08
- Porsche Boxster 987 S 3.2/3.4L 2005-08/08
- Porsche 996 C2 3.4L 1997-08/01
- Porsche 996 C4 3.4L 1997-08/01
- Porsche 996 C2 3.6L 09/01-2005
- Porsche 996 C4 3.6L 09/01-2005
- Porsche 996 C4S 3.6L 09/01-2005
- Porsche 997 MK1 Carrera 2 3.6L 2005-08
- Porsche 997 MK1 Carrera 2S 3.8L 2005-08
- Porsche 997 MK1 Carrera 4 3.6L 2005-08
- Porsche 997 MK1 Carrera 4S 3.8L 2005-08
- Porsche Cayman 2.7L 987C 2006-08
- Porsche Cayman S 3.4L 987C 2005-08
Fits:
Porsche 986 Boxster 2.7L / 3.2L 2003-04
Porsche 987 Boxster 2005-08
Porsche 987C Cayman 2005-08
Porsche 996 C2 / C4 / C4S 2002-05
Porsche 997 Carrera 2005-08
Click 'zoom in' for large parts diagram
Diagram ref no 29.
相关参考编号
相关编号、被取代编号、交叉引用编号或替代编号,供比较之用。
99610421602
您正在查看的产品与这些编号存在交叉引用关系
- Porsche Boxster 986 2.7L 2003-04
- Porsche Boxster S 986 3.2L 2003-04
- Porsche Boxster 987 2.7L 2005 -08/08
- Porsche Boxster 987 S 3.2/3.4L 2005-08/08
- Porsche 996 C2 3.6L 09/01-2005
- Porsche 996 C4 3.6L 09/01-2005
- Porsche 996 C4S 3.6L 09/01-2005
- Porsche 997 MK1 Carrera 2 3.6L 2005-08
- Porsche 997 MK1 Carrera 2S 3.8L 2005-08
- Porsche 997 MK1 Carrera 4 3.6L 2005-08
- Porsche 997 MK1 Carrera 4S 3.8L 2005-08
- Porsche Cayman 2.7L 987C 2006-08
- Porsche Cayman S 3.4L 987C 2005-08
24Pc per Engine. Price is for each.

Fits:
Porsche 996 Turbo 2001-05
Porsche 997.1 Turbo / GT2 2007-09
Porsche 997.2 GT2 RS 2011
Porsche 996 GT3 2000-05
Porsche 997 GT3 2007-11
Click 'Zoom in' for large parts diagram
Diagram ref no 6
相关参考编号
相关编号、被取代编号、交叉引用编号或替代编号,供比较之用。
99610117270
您正在查看的产品与这些编号存在交叉引用关系
- Porsche 996 TURBO 2000-05
- Porsche 996 GT2 2001-05
- Porsche 996 GT3 MKI 1999-02
- Porsche 996 GT3 MKII 2003>>
- Porsche 996 GT3 RS 2003-04
- Porsche 997 MK1 GT3 2007-09
- Porsche 997 MKII GT3 2010-11
- Porsche 997 MKII GT2 RS 2011-13
-
cylinder head for 997.1 M96.05 3.6L COUPE / CABRIO and 997.1 M97.01 3.8L COUPE S / CABRIO S 2005-08 103-00
-
crankcase left for 997.1 TURBO/GT2 M97.70 2007-09 and 997.1 GT2 RS M97.70 2011 101-05
-
cylinder with piston for 997.1 TURBO/GT2 M97.70 2007-09 and 997.1 GT2 RS M97.70 2011 102-05
-
camshaft housing for 997.1 TURBO/GT2 M97.70 2007-09 and 997.1 GT2 RS M97.70 2011 103-10
-
crankcase left 997 GT3 M97.76 2007-09 101-05
-
crankcase left 997 GT3 / GT3 RS M97.77 2010-11 and 997 GT3 RS 4.0 M97.74 2011 101-06
-
cylinder with piston 997 GT3 M97.76 2007-09 102-05
-
cylinder with piston 997 GT3 / GT3 RS M97.77 2010-11 and 997 GT3 RS M97.74 2011 102-06
精密气缸盖和凸轮轴盖——保时捷车型的发动机保护和性能
气缸盖和凸轮轴罩在保护气门传动机构、凸轮轴和气缸盖等关键发动机部件免受灰尘、碎屑和油污侵害方面发挥着至关重要的作用。除了提供保护之外,它们还能确保良好的油封和通风,从而维持发动机内部的润滑和压力平衡。
Design911 为经典和现代保时捷发动机提供各种精密设计的气缸盖和凸轮轴罩。这些罩壳采用优质铝、镁和复合材料精心打造,完美贴合,持久可靠,同时保留了保时捷高性能传承所追求的简洁专业外观。
无论您是修复风冷 911 还是维修高输出 992,我们制造商品质的组件都能确保无泄漏运行和卓越的耐用性。
气缸盖和凸轮轴盖起什么作用?
这些部件是发动机气门机构和上部油道的保护壳。它们可以阻挡污染物,控制内部压力,并有助于维持持续润滑。
核心功能:
- 密封发动机上部区域,防止漏油和污染。
- 保护凸轮轴和气门机构免受碎屑和湿气的侵害。
- 调节曲轴箱通风,支持最佳发动机呼吸。
- 保持正确的油流量以提高冷却和润滑效率。
它们不仅对于可靠性至关重要,而且对于维护保时捷发动机舱的外观和机械完整性也至关重要。
为什么气缸盖/凸轮轴盖会失效?
随着时间的推移,高温、高压和油污会损坏材料、密封件和垫圈。这些问题可能导致泄漏、通风不良,甚至在极端情况下导致缺油。
常见的失败原因包括:
- 反复的热循环导致盖子破裂或变形。
- 密封件或垫圈老化,导致漏油。
- 紧固件松动或疲劳,导致密封压力不均匀。
- 通气通道堵塞,内部压力增加。
- 旧发动机的腐蚀或污染。
更换磨损的盖子和密封件可恢复油控制,防止泄漏,并保持发动机的长期健康。
为什么要更换精密设计的盖子?
升级或更换您的盖子可确保您的保时捷发动机按预期运行 - 无泄漏、通风良好且外观清洁。
主要优点:
- 恢复密封性能并消除漏油。
- 保护重要的气门机构部件免受灰尘和碎屑的侵害。
- 保持适当的曲轴箱压力和油控制。
- 采用优质材料制成,具有出色的耐热性和耐腐蚀性。
- 完美的装配和表面处理,确保长期可靠性。
- 兼容多种保时捷车型,从经典车型到现代 GT 车型。
精密的盖子也增强了发动机的美观度,保持了保时捷车主所期望的精致外观。
亮点:
- 适用于保时捷发动机的高强度气缸盖和凸轮轴盖。
- 精密加工的密封表面,具有长期的防油性能。
- 制造商品质的材料——铝、镁和复合材料选项。
- 改善油控制和内部通风。 非常适合发动机重建、升级或修复。
- 兼容风冷和水冷保时捷车型。