Geben Sie hier Ihre MwSt.-Nummer ein und klicken Sie auf Überprüfen:
Sie brauchen den Ländercode Ihrer MwSt.-Nummer nicht einzugeben, da dieser bereits oben in Ihrer Rechnungsadresse ausgewählt wurde.
Ihre Angaben wurden überprüft. MwSt.-Nummer registriert auf:
,
.
Ihre Bestellung ist nun mehrwertsteuerfrei. Wir behalten uns das Recht vor, diese Angaben nach Ihrer Bestellung zu überprüfen und gegebenenfalls die Mehrwertsteuer wieder einzuführen.
Ihre MwSt.-Angaben wurden nicht erkannt oder waren ungültig. Ihre MwSt.-Nummer muss mit Ihrem Rechnungsland übereinstimmen, wie oben angegeben. Dies ist derzeit als angegeben. Sie brauchen den Ländercode Ihrer MwSt.-Nummer nicht einzugeben, da Sie diesen bereits in den Angaben zu Ihrer Rechnungsadresse oben ausgewählt haben.
Der Dienst zur Überprüfung von MwSt.-Nummern ist derzeit offline. Bitte geben Sie Ihre MwSt.-Daten im Feld „Kommentare“ oder „Besondere Hinweise“ unten an, und wir werden nach Ihrer Bestellung einen MwSt.-Rabatt gewähren.
Kofferräume/Heckklappe/Schlösser und Riegel
Passform:
Porsche 964 C2 / C4 / RS 1989-94
Porsche 993 1995-98
Ein abgedichtetes, hochwertiges SKF-Kugellager für den Einsatz im Heckspoilermechanismus des Porsche 964 und 993. Das abgedichtete Lager hält den rauen Bedingungen im Motorraum stand.
Sie benötigen eines davon, um ein Schleifgeräusch beim Anheben oder Absenken des Heckspoilers zu beseitigen. Eine kostensparende Eigenleistung im Vergleich zum Kauf eines kompletten Mechanismus von Porsche.
Wir haben einen Artikel zum Wechseln dieses Kugellagers, bitte KLICKEN SIE HIER
Passt zu Nummer 7 im Diagramm
Zugehörige Referenznummern
Verwandte, ersetzte, Querverweisoder Alternativnummern zum Vergleich.
96462412100
Das von Ihnen angezeigte Produkt verweist auf diese Nummern
- Porsche 964 (911) C2 1989-93
- Porsche 964 (911) C4 1989-93
- Porsche 964 (911) RS 3.6L 1991-93
- Porsche 964 (911) RS 3.8L 1991-93
- Porsche 993 (911) C2 1994-97
- Porsche 993 (911) C4 1994-97
- Porsche 993 (911) RS 1994-97
- Porsche 993 (911) C2S 1994-97
- Porsche 993 (911) C4S 1994-97

Passend für:
Porsche 964 C2 / C4 / RS 1989-94
Porsche 993 C2 / C4 / RS 1989-94
Klicken Sie auf „Vergrößern“, um ein Diagramm mit großen Teilen anzuzeigen.
Diagramm Nr. 26
Zugehörige Referenznummern
Verwandte, ersetzte, Querverweisoder Alternativnummern zum Vergleich.
96451272300
Das von Ihnen angezeigte Produkt verweist auf diese Nummern
- Porsche 964 (911) C2 1989-93
- Porsche 964 (911) C4 1989-93
- Porsche 964 (911) RS 3.6L 1991-93
- Porsche 964 (911) RS 3.8L 1991-93
- Porsche 993 (911) C2 1994-97
- Porsche 993 (911) C4 1994-97
- Porsche 993 (911) RS 1994-97
- Porsche 993 (911) C2S 1994-97
- Porsche 993 (911) C4S 1994-97

Passt:
Porsche 993 Carrera 1994-98 (Heckklappe)
Porsche 993 TURBO 1994-98 (Heckspoiler)
Porsche 996 Carrera 1998-05
Porsche 996 TURBO 2001-05
Porsche 996 GT3 1999-05
Klicken Sie auf „Vergrößern“, um ein großes Teilediagramm anzuzeigen.
Diagramm Nr. 6
Zugehörige Referenznummern
Verwandte, ersetzte, Querverweisoder Alternativnummern zum Vergleich.
99651221301
Das von Ihnen angezeigte Produkt verweist auf diese Nummern
- Porsche 993 (911) C2 1994-97
- Porsche 993 (911) C4 1994-97
- Porsche 993 (911) RS 1994-97
- Porsche 993 (911) C2S 1994-97
- Porsche 993 (911) C4S 1994-97
- Porsche 993 (911) TURBO 1994-96
- Porsche 996 C2 3.4L 1997-08/01
- Porsche 996 C4 3.4L 1997-08/01
- Porsche 996 C2 3.6L 09/01-2005
- Porsche 996 C4 3.6L 09/01-2005
- Porsche 996 C4S 3.6L 09/01-2005
- Porsche 996 TURBO 2000-05
- Porsche 996 GT2 2001-05
- Porsche 996 GT3 MKI 1999-02
- Porsche 996 GT3 MKII 2003>>
- Porsche 996 GT3 RS 2003-04

Passt:
Porsche 993 C2S / C4S 1997>>
Klicken Sie auf „Vergrößern“, um ein großes Teilediagramm anzuzeigen.
Diagramm Nr. 2
Zugehörige Referenznummern
Verwandte, ersetzte, Querverweisoder Alternativnummern zum Vergleich.
99351259
Das von Ihnen angezeigte Produkt verweist auf diese Nummern
- Porsche 993 (911) C2S 1994-97

Passt:
Porsche 993 1995-98
Klicken Sie auf „Vergrößern“, um ein großes Teilediagramm anzuzeigen.
Diagramm Nr. 13
Zugehörige Referenznummern
Verwandte, ersetzte, Querverweisoder Alternativnummern zum Vergleich.
99351202303
Das von Ihnen angezeigte Produkt verweist auf diese Nummern
- Porsche 993 (911) C2 1994-97
- Porsche 993 (911) C4 1994-97
- Porsche 993 (911) RS 1994-97
- Porsche 993 (911) C2S 1994-97
- Porsche 993 (911) C4S 1994-97
- Porsche 993 (911) TURBO 1994-96
- Porsche 993 (911) GT2 1994-97
- Porsche 993 (911) TURBO S 1994-97

Passt:
Porsche 964 1989-94
Porsche 993 1995-98
Klicken Sie auf „Vergrößern“, um ein großes Teilediagramm anzuzeigen.
Diagramm Nr. 7
Zugehörige Referenznummern
Verwandte, ersetzte, Querverweisoder Alternativnummern zum Vergleich.
96551205201
Das von Ihnen angezeigte Produkt verweist auf diese Nummern
- Porsche 964 (911) C2 1989-93
- Porsche 964 (911) C4 1989-93
- Porsche 964 (911) RS 3.6L 1991-93
- Porsche 964 (911) RS 3.8L 1991-93
- Porsche 964 (911) TURBO 3.3L 1991-93
- Porsche 964 (911) TURBO 3.6L 1991-93
- Porsche 993 (911) C2 1994-97
- Porsche 993 (911) C4 1994-97
- Porsche 993 (911) RS 1994-97
- Porsche 993 (911) C2S 1994-97
- Porsche 993 (911) C4S 1994-97
- Porsche 993 (911) TURBO 1994-96
- Porsche 993 (911) GT2 1994-97
- Porsche 993 (911) TURBO S 1994-97
Sorgen Sie mit diesem Original-Entriegelungskabel für eine reibungslose und zuverlässige Funktion der Heckklappe Ihres Porsche 911. Dieses Kabelset wurde für die Modellreihen 964 und 993 entwickelt und stellt die Verbindung zwischen dem Innengriff und dem Heckklappenverschluss wieder her. Bei einer schwergängigen, nicht reagierenden oder defekten Heckklappenentriegelung stellt der Austausch dieses Kabels die korrekte Funktion und Zuverlässigkeit wieder her.
Passform:
- Porsche 964 (911) C2 1991-93
- Porsche 964 (911) C4 1991-93
- Porsche 964 (911) RS 3.6L 1991-93
- Porsche 964 (911) RS 3.8L 1991-93
- Porsche 964 (911) TURBO 3,3 L 1991-93
- Porsche 964 (911) TURBO 3.6L 1991-93
- Porsche 993 (911) C2 1994-97
- Porsche 993 (911) C4 1994-97
- Porsche 993 (911) RS 1994-97
- Porsche 993 (911) C2S 1994-97
- Porsche 993 (911) C4S 1994-97
- Porsche 993 (911) TURBO 1994-96
- Porsche 993 (911) GT2 1994-97
- Porsche 993 (911) TURBO S 1994-97
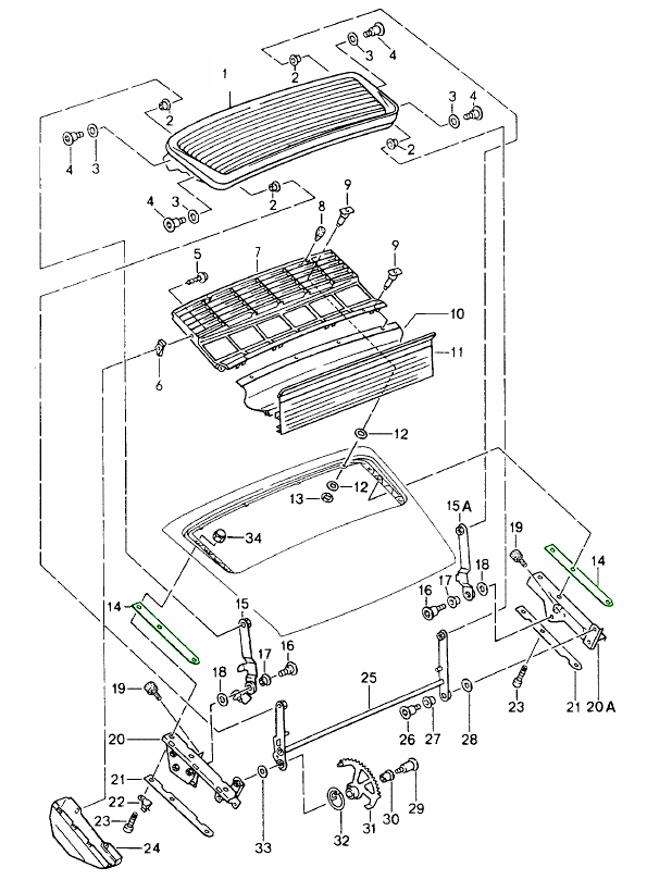
Diagramm Ref Nr. 9
Was dieses Produkt leistet:
- Wenn Sie im Fahrzeuginneren (oder über die Fernentriegelung) am Entriegelungsgriff ziehen, wird dieses Kabel gespannt und durch die Bewegung wird der Verriegelungshebel an der Heckklappe gezogen, wodurch sich die Klappe öffnen lässt.
- Der „Führungsrohr“-Teil stützt das Kabel, hält es ausgerichtet, verhindert Knicke oder Scheuern und trägt zu einem reibungslosen Betrieb bei.
- Wenn dieses Kabel nicht ordnungsgemäß funktioniert, kann es sein, dass sich die Heckklappe nicht (oder unvorhersehbar) öffnet, was zu Unannehmlichkeiten oder einem fehlenden Zugang zum Motorraum/Kofferraum führen kann.
Symptome von Verschleiß oder Ausfall:
- Die Deckelentriegelung in der Kabine betätigt nicht den Heckdeckel, d. h., Sie ziehen am Griff, aber der Deckel löst sich nicht.
- Klebriger, schwergängiger oder ruckartiger Auslösevorgang – das Kabel kann im Führungsrohr festhängen, gedehnt oder ausgefranst sein.
- Sichtbare Schäden am Kabel oder Führungsrohr – Korrosion, ausgefranster Draht, gebrochene Ummantelung, Knicke im Rohr.
- Fehlverhalten der Heckklappenverriegelung – die Klappe springt möglicherweise unerwartet auf, rastet nicht richtig ein oder Sie müssen möglicherweise wiederholt am Griff ziehen.
- Bei der Restaurierung eines Fahrzeugs oder dem Austausch von Heckklappenkomponenten (Scharniere, Riegel, Dichtung) wird das Kabel oft übersehen, kann aber altersbedingt verschlissen sein (insbesondere bei Fahrzeugen vom Typ 964/993).
Warum Ersatz wichtig ist:
- Sicherstellung eines zuverlässigen Zugangs: Die Heckklappe ist Ihr Zugangspunkt zum Motorraum/Kofferraum. Ein nicht elastisches oder gebrochenes Kabel bedeutet, dass Sie die Klappe bei Bedarf möglicherweise nicht öffnen können.
- Sicherheit und Nutzen: Wenn der Deckel nicht richtig einrastet oder teilweise unverschlossen bleibt, kann dies dazu führen, dass er während der Fahrt aufspringt oder nicht richtig sichert.
- Verhindert weitere Schäden: Ein verschlissenes Kabel kann den Riegel-, Scharnier- oder Entriegelungsmechanismus übermäßig belasten und so den Verschleiß beschleunigen oder eine Fehlausrichtung verursachen.
Zugehörige Referenznummern
Verwandte, ersetzte, Querverweisoder Alternativnummern zum Vergleich.
99351206300
Das von Ihnen angezeigte Produkt verweist auf diese Nummern
- Porsche 964 (911) C2 1989-93
- Porsche 964 (911) C4 1989-93
- Porsche 964 (911) RS 3.6L 1991-93
- Porsche 964 (911) RS 3.8L 1991-93
- Porsche 964 (911) TURBO 3.3L 1991-93
- Porsche 964 (911) TURBO 3.6L 1991-93
- Porsche 993 (911) C2 1994-97
- Porsche 993 (911) C4 1994-97
- Porsche 993 (911) RS 1994-97
- Porsche 993 (911) C2S 1994-97
- Porsche 993 (911) C4S 1994-97
- Porsche 993 (911) TURBO 1994-96
- Porsche 993 (911) GT2 1994-97
- Porsche 993 (911) TURBO S 1994-97
Jeweils verkauft. Erforderlich 4.

Passt:
Porsche 964 1989-94
Porsche 993 1995-98
Klicken Sie auf „Vergrößern“, um ein großes Teilediagramm anzuzeigen.
Diagramm Nr. 4 (964) / 8 (993)
Zugehörige Referenznummern
Verwandte, ersetzte, Querverweisoder Alternativnummern zum Vergleich.
96451272202
Das von Ihnen angezeigte Produkt verweist auf diese Nummern
- Porsche 964 (911) C2 1989-93
- Porsche 964 (911) C4 1989-93
- Porsche 964 (911) RS 3.6L 1991-93
- Porsche 964 (911) RS 3.8L 1991-93
- Porsche 993 (911) C2 1994-97
- Porsche 993 (911) C4 1994-97
- Porsche 993 (911) RS 1994-97
- Porsche 993 (911) C2S 1994-97
- Porsche 993 (911) C4S 1994-97
- Porsche 993 (911) TURBO 1994-96
- Porsche 993 (911) GT2 1994-97
- Porsche 993 (911) TURBO S 1994-97
Wird einzeln verkauft. 4 erforderlich.
Passform:
Porsche 964 1989-94
Porsche 993 1995-98
Diagramm Ref Nr. 4 (964) / 8 (993)
Zugehörige Referenznummern
Verwandte, ersetzte, Querverweisoder Alternativnummern zum Vergleich.
96451272202
Das von Ihnen angezeigte Produkt verweist auf diese Nummern
- Porsche 964 (911) C2 1989-93
- Porsche 964 (911) C4 1989-93
- Porsche 964 (911) RS 3.6L 1991-93
- Porsche 964 (911) RS 3.8L 1991-93
- Porsche 993 (911) C2 1994-97
- Porsche 993 (911) C4 1994-97
- Porsche 993 (911) RS 1994-97
- Porsche 993 (911) C2S 1994-97
- Porsche 993 (911) C4S 1994-97
- Porsche 993 (911) TURBO 1994-96
- Porsche 993 (911) GT2 1994-97
- Porsche 993 (911) TURBO S 1994-97

Passt:
Porsche 993 Carrera 2S / Carrera 4S
Zugehörige Referenznummern
Verwandte, ersetzte, Querverweisoder Alternativnummern zum Vergleich.
99351212300G2X
Das von Ihnen angezeigte Produkt verweist auf diese Nummern
- Porsche 993 (911) C2S 1994-97
- Porsche 993 (911) C4S 1994-97

Passt:
Porsche 993 1994-98 M602
* M602 - Erhöhte Bremsleuchte
Links oder rechts
Bitte unten auswählen
Klicken Sie auf das Bild für ein Diagramm mit großen Teilen.
Diagramm Nr. 23.
Zugehörige Referenznummern
Verwandte, ersetzte, Querverweisoder Alternativnummern zum Vergleich.
99350468
Das von Ihnen angezeigte Produkt verweist auf diese Nummern
- Porsche 993 (911) C2 1994-97
- Porsche 993 (911) C4 1994-97
- Porsche 993 (911) RS 1994-97
- Porsche 993 (911) C2S 1994-97
- Porsche 993 (911) C4S 1994-97
- Porsche 993 (911) TURBO 1994-96
- Porsche 993 (911) GT2 1994-97
- Porsche 993 (911) TURBO S 1994-97

PassformS:
Porsche 993 Turbo 1994-98
Klicken Sie auf „Vergrößern“, um ein großes Teilediagramm anzuzeigen.
Diagramm Nr. 7
Zugehörige Referenznummern
Verwandte, ersetzte, Querverweisoder Alternativnummern zum Vergleich.
99351263300
Das von Ihnen angezeigte Produkt verweist auf diese Nummern
- Porsche 993 (911) TURBO 1994-96

Passt:
Porsche 964 C2 / C4 / Carrera RS 1989-94
Porsche 964 Turbo-Look
Porsche 993 1995-98
Klicken Sie auf „Vergrößern“, um ein großes Teilediagramm anzuzeigen.
Diagramm Nr. 1.
* Bitte überprüfen Sie vor der Bestellung die Teilenummer Ihres Mikroschalters in Ihrem Auto und passen Sie sie an.
Zugehörige Referenznummern
Verwandte, ersetzte, Querverweisoder Alternativnummern zum Vergleich.
96461310701
Das von Ihnen angezeigte Produkt verweist auf diese Nummern
- Porsche 964 (911) C2 1989-93
- Porsche 964 (911) C4 1989-93
- Porsche 964 (911) RS 3.6L 1991-93
- Porsche 964 (911) RS 3.8L 1991-93
- Porsche 993 (911) C2 1994-97
- Porsche 993 (911) C4 1994-97
- Porsche 993 (911) RS 1994-97
- Porsche 993 (911) C2S 1994-97
- Porsche 993 (911) C4S 1994-97

Passt:
Porsche 964 C2 / C4 / RS 1989-94
Porsche 993 1995-98
Klicken Sie auf „Vergrößern“, um ein großes Teilediagramm anzuzeigen.
Diagramm Nr. 14
Zugehörige Referenznummern
Verwandte, ersetzte, Querverweisoder Alternativnummern zum Vergleich.
96451246700
Das von Ihnen angezeigte Produkt verweist auf diese Nummern
- Porsche 964 (911) C2 1989-93
- Porsche 964 (911) C4 1989-93
- Porsche 964 (911) RS 3.6L 1991-93
- Porsche 964 (911) RS 3.8L 1991-93
- Porsche 993 (911) C2 1994-97
- Porsche 993 (911) C4 1994-97
- Porsche 993 (911) RS 1994-97
- Porsche 993 (911) C2S 1994-97
- Porsche 993 (911) C4S 1994-97
- Porsche 993 (911) TURBO 1994-96
- Porsche 993 (911) GT2 1994-97
- Porsche 993 (911) TURBO S 1994-97
Passform:
Porsche 993 C2S / C4S 1997>>
Zugehörige Referenznummern
Verwandte, ersetzte, Querverweisoder Alternativnummern zum Vergleich.
99351277701
Das von Ihnen angezeigte Produkt verweist auf diese Nummern
- Porsche 993 (911) C2S 1994-97
- Porsche 993 (911) C4S 1994-97
Passform:
Porsche 964 C2 / C4 / RS 1989-94
Porsche 993 1995-98
Diagrammreferenz Nr. 7
Zugehörige Referenznummern
Verwandte, ersetzte, Querverweisoder Alternativnummern zum Vergleich.
96462412100
Das von Ihnen angezeigte Produkt verweist auf diese Nummern
- Porsche 964 (911) C2 1989-93
- Porsche 964 (911) C4 1989-93
- Porsche 964 (911) RS 3.6L 1991-93
- Porsche 964 (911) RS 3.8L 1991-93
- Porsche 993 (911) C2 1994-97
- Porsche 993 (911) C4 1994-97
- Porsche 993 (911) RS 1994-97
- Porsche 993 (911) C2S 1994-97
- Porsche 993 (911) C4S 1994-97
Stellen Sie die perfekte Passform und Verarbeitung mit Porsche-Kofferraumdeckeln, Heckklappen, Schlössern und Verschlüssen von Design911 wieder her. Unser Sortiment umfasst OEM- und präzisionsgefertigte Ersatzplatten, Scharniere, Verschlüsse und Entriegelungsmechanismen für klassische und moderne Porsche-Modelle. Ob 911, Cayman oder Taycan – jede Komponente ist auf präzise Ausrichtung, reibungslosen Betrieb und Leistung auf Werksniveau ausgelegt. Vom kompletten Heckklappenersatz bis hin zu kleinen Schließkomponenten bietet Design911 hochwertige Lösungen, denen Porsche-Spezialisten und Restaurierungsexperten weltweit vertrauen.
Kofferraumdeckel und Heckklappenverkleidungen
OEM- und Ersatz-Kofferraum- und Heckklappenverkleidungen für Porsche für perfekte Passform und Langlebigkeit. Bewahren Sie die Werkslinien und die strukturelle Integrität während der Restaurierung oder Reparatur.
Schlösser und Riegelbaugruppen
Zuverlässige Porsche-Verriegelungsmechanismen für Kofferraum und Heckklappe gewährleisten sicheres Schließen und einfaches Öffnen. Erhältlich für Motorhauben, Heckklappen und Heckfächer.
Scharniere & Montagekomponenten
Präzisionsgefertigte Scharniere und Halterungen sorgen für sanfte Öffnungsbewegungen und dauerhafte Stabilität. Ideal für klassische und moderne Porsche-Modelle.
Auslösekabel und Griffe
Entriegelungskabel und Innengriffe im OEM-Stil ermöglichen eine reibungslose und zuverlässige Bedienung des Kofferraumdeckels. Perfekt für den Austausch oder die Nachrüstung.
Klassische Porsche-Kofferraum- und Heckriegelteile
Authentische Reproduktionen von Heckklappenschlössern, -verschlüssen und -beschlägen für klassische Porsche-Modelle, einschließlich 356, 911 Classic und 912. Bewahren Sie Originalität und traditionelle Qualität.