Saisissez votre numéro de TVA ici et cliquez sur Vérifier :
Il n'est pas nécessaire de saisir la partie code pays de votre numéro de TVA car elle a déjà été sélectionnée dans votre adresse de facturation ci-dessus.
Vos coordonnées ont été vérifiées. Numéro de TVA enregistré au nom de:
,
.
Votre commande sera désormais détaxée au titre de la TVA. Nous nous réservons le droit de vérifier ces détails une fois votre commande passée et de rétablir la TVA si nécessaire.
Vos données de TVA n'ont pas été reconnues ou n'étaient pas valides. Votre numéro de TVA doit correspondre à votre pays de facturation tel que spécifié ci-dessus. Il est actuellement spécifié comme . Vous n'avez pas besoin de saisir la partie code pays de votre numéro de TVA car elle a déjà été sélectionnée dans les détails de votre adresse de facturation ci-dessus.
Le service de vérification du numéro de TVA est actuellement hors ligne. Veuillez indiquer votre numéro de TVA dans le champ « Commentaires ou instructions spéciales » ci-dessous et nous appliquerons une remise de TVA après avoir passé votre commande.
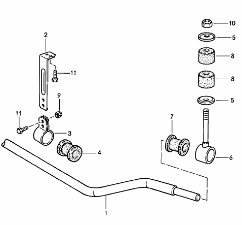
Liens de chute et bagues AVANT
pour arceaux de 20mm à 24mm
Compatible avec : Porsche 944
Réf. diagramme : 5, 6, 7, 8, 10
Numéros de référence associés
Numéros associés, remplacés, de référence croisée ou alternatifs à des fins de comparaison.
95134379300KIT
Le produit que vous consultez fait référence à ces numéros
- Porsche 944 2.5L 8V 1982-87
- Porsche 944 2.7L 8V 1988-89
- Porsche 944S 2.5L 16V 1987-88
Porsche 944 jusqu'en 1986 (LOT DE 2) côté gauche et droit
Convient à :
Porsche 944
Références du diagramme : 2, 3, 4, 9, 11
Numéros de référence associés
Numéros associés, remplacés, de référence croisée ou alternatifs à des fins de comparaison.
94434373100KIT
Le produit que vous consultez fait référence à ces numéros
- Porsche 924S 2.5L 1986-87
- Porsche 924S 2.5L 1988
- Porsche 944 2.5L 8V 1982-87
- Porsche 944 2.7L 8V 1988-89
- Porsche 944S 2.5L 16V 1987-88
- Porsche 944S2 3.0L 16V 1989-91
Remplacez la biellette de barre stabilisatrice avant de votre Porsche 944 avec cette biellette de remplacement direct, avec bagues. Cet élément essentiel relie la barre anti-roulis au bras de suspension avant, assurant un contrôle efficace du roulis et une stabilité optimale du train avant. Que l'ancienne biellette soit bruyante, usée ou que la tenue de route du véhicule se soit dégradée, son installation rétablit le bon fonctionnement de la suspension.
Vendu à l'unité.
x2 requis par voiture.
Convient à gauche et à droite.
Convient à :
- Porsche 944 2.5L 8V 1982-87
- Porsche 944 2.7L 8V 1988-89
- Porsche 944S 2.5L 16V 1987-88
Ce que fait ce produit :
- La biellette de suspension relie la barre anti-roulis (stabilisatrice) avant aux bras de suspension avant ou à l'ensemble de jambe de force.
- Lorsque la voiture prend un virage, la barre stabilisatrice résiste au roulis de la carrosserie en transférant la charge entre les deux côtés ; la biellette de direction est le maillon crucial de ce système.
- Les bagues incluses dans cette pièce absorbent les vibrations, permettent l'articulation et empêchent le contact métal sur métal.
- Au fil du temps, l’usure des bagues ou la fatigue des biellettes réduisent l’efficacité de la barre stabilisatrice en permettant des mouvements indésirables.
- Une biellette de suspension en bon état garantit que la barre stabilisatrice est correctement engagée, réduisant ainsi le roulis de la carrosserie, améliorant la stabilité dans les virages et maintenant une géométrie de suspension cohérente sous charge.
- Bruits de claquement ou de cognement provenant de la suspension avant lors du franchissement de bosses ou lors d'un changement de direction, indiquant un jeu dans la biellette ou les bagues.
- Roulis de carrosserie accru ou sensation vague de l'avant dans les virages — la barre stabilisatrice n'est pas entièrement transmise car la biellette de direction n'est pas rigide.
- Usure inégale des pneus sur la paire avant : des biellettes de suspension usées peuvent entraîner un comportement incohérent de la barre, affectant ainsi la géométrie de la suspension.
- Visuellement : le maillon peut paraître tordu, les bagues peuvent être fissurées ou dégradées et le maillon peut se déplacer trop librement à la main.
- Si votre véhicule a été modifié (hauteur de caisse basse, ressorts plus rigides, pneus larges) mais que la biellette stabilisatrice est toujours standard/usée, vous pouvez avoir l'impression que l'avant manque de stabilité.
- Le remplacement d'une biellette de suspension usée ou fatiguée rétablit le bon fonctionnement de la barre stabilisatrice, améliorant ainsi la réponse de l'avant, réduisant le roulis et augmentant la confiance du conducteur.
- Étant donné que ce lien est relativement peu coûteux et facile à installer, il s'agit souvent d'un élément de maintenance de grande valeur, en particulier dans les voitures plus anciennes comme la 944/968, où les composants d'origine peuvent avoir des décennies.
- Les biellettes de suspension améliorées ou nouvelles contribuent à garantir que la suspension avant se comporte de manière cohérente sous charge, en s'alignant avec d'autres composants améliorés (ressorts, amortisseurs, barres anti-roulis) plutôt que d'être le maillon faible.
- Pour la sécurité et la maniabilité : une biellette stabilisatrice compromise affecte la stabilité du véhicule lors de manœuvres d'urgence ou de conduite sportive.
Numéros de référence associés
Numéros associés, remplacés, de référence croisée ou alternatifs à des fins de comparaison.
95134307500
Le produit que vous consultez fait référence à ces numéros
- Porsche 944 2.5L 8V 1982-87
- Porsche 944 2.7L 8V 1988-89
- Porsche 944S 2.5L 16V 1987-88
Restaurez la maniabilité de votre Porsche 944 (1985-91) ou 968 (1992-95) grâce à ce kit de biellettes avant. Ce kit comprend la biellette et des bagues de montage neuves, conçues pour relier la barre anti-roulis avant aux bras de suspension avec un jeu minimal. Si votre voiture présente des claquements à l'avant, un roulis accru en virage ou des biellettes de suspension usées, ce kit de remplacement assure le bon fonctionnement de la barre stabilisatrice, améliorant ainsi l'entrée en virage, l'équilibre du châssis et la précision de conduite au quotidien.
Vendu à l'unité.
x2 requis par voiture.
Convient à :
- Porsche 944S2 3.0L 16V 1989-91
- Porsche 944 Turbo 2.5L 8V 1985-88
- Porsche 944 Turbo 2.5L 8V 1989-91
- Porsche 944 Turbo S 2.5L 8V 1988
- Porsche 968 3.0L 1992-94
- Porsche 968 Sport 3.0L 1994-95
- Porsche 968 CS 3.0L 1993-95
- Porsche 968 Turbo S 3.0L 1993-94
Ce que fait ce produit :
- La barre anti-roulis avant (barre stabilisatrice) est un composant qui aide à réduire le roulis de la carrosserie dans les virages en transférant la charge d'un côté de la suspension à l'autre.
- La biellette de direction est la biellette verticale ou coudée qui relie la barre au bras ou au support de suspension. Si la biellette de direction ou ses bagues sont usées, la barre stabilisatrice ne peut pas transmettre efficacement la charge, ce qui réduit l'effet stabilisateur.
- Avec des biellettes et des bagues de suspension en bon état, vous maintenez une bonne stabilité de l'avant, des virages plus serrés, un meilleur équilibre du châssis et une charge uniforme des pneus.
Symptômes d'usure ou quand remplacer :
- Bruit de claquement/cognement provenant de la suspension avant lors du passage sur des bosses ou d'une direction brusque — souvent dû à des biellettes de direction usées ou à des bagues dégradées.
- Roulis excessif de la carrosserie ou réponse vague de l'avant dans les virages — si la biellette est molle ou cassée, la barre anti-roulis peut être moins efficace.
- Usure inégale des pneus avant ou problèmes de désalignement : les maillons usés permettent plus de mouvement, modifiant la géométrie sous charge.
- Usure visuelle : la biellette de suspension apparaît pliée, sa douille de fixation est fissurée ou l'ensemble bouge excessivement à la main.
- Le remplacement des biellettes de suspension usées restaure la capacité de la barre anti-roulis à fonctionner correctement, améliorant ainsi la précision de la maniabilité, réduisant le roulis de la carrosserie et stabilisant le comportement du châssis.
- Cela contribue au bon fonctionnement du reste de votre suspension : si les ressorts, les amortisseurs ou les pneus ont été améliorés mais que les biellettes sont usées, les gains peuvent ne pas être pleinement réalisés.
- Du point de vue de l'entretien et de la valeur : des biellettes et des bagues usées peuvent entraîner des contraintes supplémentaires (sur les bras, les bagues et les supports) et une usure progressive. Le remplacement de cette pièce est préventif.
- Pour le plaisir de conduite : lorsque le lien + les bagues sont en bon état, la voiture semble plus ferme, plus réactive et plus confiante, en particulier lors d'une conduite dynamique ou d'une utilisation dynamique.
Numéros de référence associés
Numéros associés, remplacés, de référence croisée ou alternatifs à des fins de comparaison.
95134307500
Le produit que vous consultez fait référence à ces numéros
- Porsche 944S2 3.0L 16V 1989-91
- Porsche 944 Turbo 2.5L 8V 1985-88
- Porsche 944 Turbo 2.5L 8V 1989-91
- Porsche 944 Turbo S 2.5L 8V 1988
- Porsche 968 3.0L 1992-94
- Porsche 968 Sport 3.0L 1994-95
- Porsche 968 CS 3.0L 1993-95
- Porsche 968 Turbo S 3.0L 1993-94
Pour les voitures avec arceaux de sécurité de 20 mm à 24 mm
Convient à gauche et à droite, vendu à l'unité.
Convient à :
Porsche 944 08/1985 - 1989
Diagramme réf. n° 5, 6, 7, 8, 10
Les biellettes de barre stabilisatrice sont conçues pour la suspension avant des modèles Porsche 944, reliant la barre anti-roulis à la suspension pour une meilleure stabilité dans les virages.
• Remplacement de style OE , conçu pour correspondre à la sensation et au confort OEM ; parfait pour la conduite quotidienne avec un confort similaire à celui de l'usine ; plus doux, plus lisse, plus indulgent
• Version sport/course , avec caoutchouc plus rigide pour une maniabilité plus précise et un roulis réduit ; Conduite sportive, utilisation sur piste, maniabilité plus agressive ; Plus direct, plus ferme, avec moins de flexion.
Choisissez un remplacement de style OE si vous souhaitez une qualité de conduite d'origine, ou une version Sport / course pour une sensation plus ferme et plus axée sur les performances.
Numéros de référence associés
Numéros associés, remplacés, de référence croisée ou alternatifs à des fins de comparaison.
95134307500
Le produit que vous consultez fait référence à ces numéros
- Porsche 944 2.5L 8V 1982-87
- Porsche 944 2.7L 8V 1988-89
- Porsche 944S 2.5L 16V 1987-88
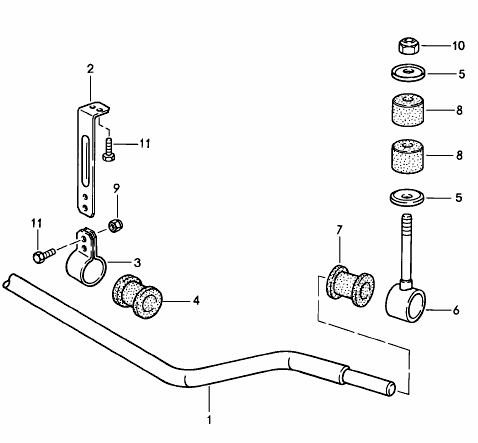
pour voitures avec arceaux de sécurité de 25,5 mm à 26,8 mm
Convient à :
Porsche 944 Turbo / S2
Porsche 968
Diagramme réf. n° 5, 6, 7, 8, 10
Numéros de référence associés
Numéros associés, remplacés, de référence croisée ou alternatifs à des fins de comparaison.
95134307500
Le produit que vous consultez fait référence à ces numéros
- Porsche 944S2 3.0L 16V 1989-91
- Porsche 944 Turbo 2.5L 8V 1985-88
- Porsche 944 Turbo 2.5L 8V 1989-91
- Porsche 944 Turbo S 2.5L 8V 1988
- Porsche 968 3.0L 1992-94
- Porsche 968 Sport 3.0L 1994-95
- Porsche 968 CS 3.0L 1993-95
- Porsche 968 Turbo S 3.0L 1993-94

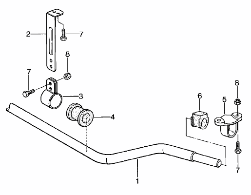
Convient :
Porsche 924 1976-85
Porsche 944 1985-91
Porsche 968 1992-95
Cliquez sur "Zoom avant" pour le schéma des grandes pièces.
Schéma réf n° 12.
- Porsche 924 2.0L 1976-79
- Porsche 924 2.0L 1980-85
- Porsche 924 Turbo 2.0L 1979-81
- Porsche 924 Turbo 2.0L 1982-84
- Porsche 924 Carrera GT 2.0L 1981
- Porsche 924 Carrera GTS 2.0L 1982
- Porsche 944 2.5L 8V 1982-87
- Porsche 944 2.7L 8V 1988-89
- Porsche 944S 2.5L 16V 1987-88
- Porsche 944S2 3.0L 16V 1989-91
- Porsche 968 3.0L 1992-94
- Porsche 968 Sport 3.0L 1994-95
- Porsche 968 CS 3.0L 1993-95
- Porsche 968 Turbo S 3.0L 1993-94

Deux tailles couvrant les barres anti-roulis :
95134379330 = PFF57-206 20mm - 24mm
95134379300 = PFF57-205-16 25,5 mm - 26,8 mm
Remplacer les bagues de suspension en caoutchouc de votre voiture par des bagues de suspension en polyuréthane vous donnera :
- Meilleure tenue de route
- Géométrie de direction constante
- Augmentation de la durée de vie des pneus
- Direction plus réactive
- Durée de vie plus longue des composants de suspension
Convient :
Porsche 944 1986-91
Porsche 968 1992-95
Schéma Ref No 7.
Numéros de référence associés
Numéros associés, remplacés, de référence croisée ou alternatifs à des fins de comparaison.
PFF57-20
Le produit que vous consultez fait référence à ces numéros
- Porsche 944 2.5L 8V 1982-87
- Porsche 944 2.7L 8V 1988-89
- Porsche 944S 2.5L 16V 1987-88
- Porsche 944S2 3.0L 16V 1989-91
- Porsche 944 Turbo 2.5L 8V 1985-88
- Porsche 944 Turbo 2.5L 8V 1989-91
- Porsche 944 Turbo S 2.5L 8V 1988
- Porsche 968 3.0L 1992-94
- Porsche 968 Sport 3.0L 1994-95
- Porsche 968 CS 3.0L 1993-95
- Porsche 968 Turbo S 3.0L 1993-94
Taille : convient aux barres anti-roulis de 20 mm, 21,5 mm, 23 mm, 24 mm.

Convient :
Porsche 944 1985-86 TOUS Avant
Porsche 944 1987-91 Voitures avant avec châssis standard (pas Turbo, etc.)
Veuillez noter que le prix indiqué est pour la quantité 1.
Veuillez noter qu'il y a 2 buissons par voiture.
Cliquez sur 'Zoom avant' pour afficher le diagramme de montage - Réf No 7.
Numéros de référence associés
Numéros associés, remplacés, de référence croisée ou alternatifs à des fins de comparaison.
95134379300
Le produit que vous consultez fait référence à ces numéros
- Porsche 944 2.5L 8V 1982-87
- Porsche 944 2.7L 8V 1988-89
- Porsche 944S 2.5L 16V 1987-88
- Porsche 944S2 3.0L 16V 1989-91
Taille : convient aux barres anti-roulis de 20 mm, 21,5 mm, 23 mm, 24 mm.

Convient :
Porsche 944 1985-86 TOUS Avant
Porsche 944 1987-91 Voitures avant avec châssis standard (pas Turbo, etc.)
Veuillez noter que le prix indiqué est pour la quantité 1.
Veuillez noter qu'il y a 2 buissons par voiture.
Cliquez sur 'Zoom avant' pour afficher le diagramme de montage - Réf No 7.
Numéros de référence associés
Numéros associés, remplacés, de référence croisée ou alternatifs à des fins de comparaison.
95134379300
Le produit que vous consultez fait référence à ces numéros
- Porsche 944 2.5L 8V 1982-87
- Porsche 944 2.7L 8V 1988-89
- Porsche 944S 2.5L 16V 1987-88
- Porsche 944S2 3.0L 16V 1989-91
Taille : Convient aux barres anti-roulis de 25,5 à 26,8 mm

Convient :
Porsche 944 1987-91 Turbo avant
Porsche 944 Turbo S 1988 Avant
Porsche 968 1992-95 Voitures avant avec suspension standard
Veuillez noter que le prix indiqué est pour la quantité 1 .
Veuillez noter qu'il y a 2 buissons par voiture.
Cliquez sur 'Zoom avant' pour afficher le diagramme de montage - Réf No 7.
Numéros de référence associés
Numéros associés, remplacés, de référence croisée ou alternatifs à des fins de comparaison.
95134379330
Le produit que vous consultez fait référence à ces numéros
- Porsche 944 Turbo 2.5L 8V 1985-88
- Porsche 944 Turbo 2.5L 8V 1989-91
- Porsche 944 Turbo S 2.5L 8V 1988
- Porsche 968 3.0L 1992-94
- Porsche 968 Sport 3.0L 1994-95
- Porsche 968 CS 3.0L 1993-95
- Porsche 968 Turbo S 3.0L 1993-94
Taille : Convient aux barres anti-roulis de 25,5 à 26,8 mm

Convient :
Porsche 944 1987-91 Turbo Avant
Porsche 944 Turbo S 1988 Avant
Porsche 968 1992-95 Voitures avant avec suspension standard
Veuillez noter que le prix indiqué est pour la quantité 1 .
Veuillez noter qu'il y a 2 buissons par voiture.
Cliquez sur 'Zoom avant' pour afficher le diagramme de montage - Réf No 7.
Numéros de référence associés
Numéros associés, remplacés, de référence croisée ou alternatifs à des fins de comparaison.
95134379330
Le produit que vous consultez fait référence à ces numéros
- Porsche 944 Turbo 2.5L 8V 1985-88
- Porsche 944 Turbo 2.5L 8V 1989-91
- Porsche 944 Turbo S 2.5L 8V 1988
- Porsche 968 3.0L 1992-94
- Porsche 968 Sport 3.0L 1994-95
- Porsche 968 CS 3.0L 1993-95
- Porsche 968 Turbo S 3.0L 1993-94
Convient - Gauche ou Droite

Convient :
Porsche 924 2.0L 1980-85
Porsche 924S 1986-88
Porsche 944 2.5L 1982-85
Numéros de référence associés
Numéros associés, remplacés, de référence croisée ou alternatifs à des fins de comparaison.
94434373
Le produit que vous consultez fait référence à ces numéros
- Porsche 924 2.0L 1980-85
- Porsche 924S 2.5L 1986-87
- Porsche 924S 2.5L 1988
- Porsche 944 2.5L 8V 1982-87

Convient :
Porsche 944 1985-91 TOUS Avant
Porsche 968 1992-95 TOUT Avant
Veuillez noter que le prix indiqué est pour la quantité 1.
Veuillez noter qu'il y a 4 buissons par voiture.
Cliquez sur 'Zoom avant' pour afficher le schéma de montage - Ref No 8.
Numéros de référence associés
Numéros associés, remplacés, de référence croisée ou alternatifs à des fins de comparaison.
95134379501
Le produit que vous consultez fait référence à ces numéros
- Porsche 944 2.5L 8V 1982-87
- Porsche 944 2.7L 8V 1988-89
- Porsche 944S 2.5L 16V 1987-88
- Porsche 944S2 3.0L 16V 1989-91
- Porsche 944 Turbo 2.5L 8V 1985-88
- Porsche 944 Turbo 2.5L 8V 1989-91
- Porsche 944 Turbo S 2.5L 8V 1988
- Porsche 968 3.0L 1992-94
- Porsche 968 Sport 3.0L 1994-95
- Porsche 968 CS 3.0L 1993-95
- Porsche 968 Turbo S 3.0L 1993-94

Convient :
Porsche 944 1985-91 TOUS Avant
Porsche 968 1992-95 TOUT Avant
Veuillez noter que le prix indiqué est pour la quantité 1.
Veuillez noter qu'il y a 4 buissons par voiture.
Cliquez sur 'Zoom avant' pour afficher le schéma de montage - Ref No 8.
Numéros de référence associés
Numéros associés, remplacés, de référence croisée ou alternatifs à des fins de comparaison.
95134379501
Le produit que vous consultez fait référence à ces numéros
- Porsche 944 2.5L 8V 1982-87
- Porsche 944 2.7L 8V 1988-89
- Porsche 944S 2.5L 16V 1987-88
- Porsche 944S2 3.0L 16V 1989-91
- Porsche 944 Turbo 2.5L 8V 1985-88
- Porsche 944 Turbo 2.5L 8V 1989-91
- Porsche 944 Turbo S 2.5L 8V 1988
- Porsche 968 3.0L 1992-94
- Porsche 968 Sport 3.0L 1994-95
- Porsche 968 CS 3.0L 1993-95
- Porsche 968 Turbo S 3.0L 1993-94
Convient - Gauche et droite.
Compatible avec :
Porsche 944 1985-91
Porsche 968 1992-95
Schéma réf. n° 6.
Numéros de référence associés
Numéros associés, remplacés, de référence croisée ou alternatifs à des fins de comparaison.
95134307500
Le produit que vous consultez fait référence à ces numéros
- Porsche 944 2.5L 8V 1982-87
- Porsche 944 2.7L 8V 1988-89
- Porsche 944S 2.5L 16V 1987-88
- Porsche 944S2 3.0L 16V 1989-91
- Porsche 944 Turbo 2.5L 8V 1985-88
- Porsche 944 Turbo 2.5L 8V 1989-91
- Porsche 944 Turbo S 2.5L 8V 1988
- Porsche 968 3.0L 1992-94
- Porsche 968 Sport 3.0L 1994-95
- Porsche 968 CS 3.0L 1993-95
- Porsche 968 Turbo S 3.0L 1993-94
Biellettes et bagues de suspension pour barre stabilisatrice avant Porsche | Design911 : composants de suspension pour une tenue de route précise et une stabilité optimale
Les biellettes et bagues de suspension de barre anti-roulis avant jouent un rôle essentiel dans la liaison entre la suspension de votre Porsche et la barre anti-roulis, garantissant stabilité, adhérence et contrôle en virage. Elles répartissent uniformément les forces entre les deux côtés de la suspension, réduisant ainsi le roulis et maintenant une position stable et plane. En bon état, ces composants améliorent la précision de la direction et confèrent à votre Porsche la tenue de route équilibrée et réactive qui fait sa renommée.
Chez Design911, nous proposons une large sélection de biellettes et de silentblocs de barre stabilisatrice avant, conçus pour allier robustesse, durabilité et précision. Fabriqués en acier, alliage ou polyuréthane de haute qualité, ces composants sont conçus pour résister aux efforts importants en virage et aux exigences de performance typiques des véhicules Porsche. Idéale pour l'entretien, la modernisation ou la restauration des suspensions, notre gamme garantit un excellent ressenti de la route, une stabilité accrue et une fiabilité à long terme.
À quoi servent les biellettes et les bagues de la barre anti-roulis avant ?
Ces composants de suspension relient la barre anti-roulis aux bras de commande et au châssis, permettant à la suspension de se déplacer librement tout en contrôlant le roulis de la carrosserie.
Fonctions principales :
• Transférer la charge de suspension des roues à la barre anti-roulis.
• Réduisez le roulis du châssis pour des virages plus plats et plus stables.
• Maintenir un contact et une traction constants avec les pneus.
• Améliore la réponse de la direction et la confiance du conducteur.
• Minimisez le bruit, les vibrations et la dureté dus aux mouvements de la suspension.
Les biellettes et bagues de suspension de haute qualité garantissent une maniabilité prévisible, ce qui les rend essentielles pour une conduite dynamique et un confort quotidien.
Pourquoi les biellettes et les bagues de la barre anti-roulis avant tombent-elles en panne ou se dégradent-elles ?
Les biellettes de direction et les bagues sont constamment exposées au mouvement, à la pression et aux facteurs environnementaux, qui provoquent une usure progressive et une perte de performances au fil du temps.
Les causes courantes d’échec comprennent :
• Bagues en caoutchouc usées ou fendues entraînant un mouvement excessif.
• Corrosion ou fatigue des bielles métalliques.
• Supports en caoutchouc périmé ou en polyuréthane dégradé.
• Raccords desserrés provoquant des cognements ou des vibrations.
• L’exposition à la chaleur, à l’humidité et aux débris accélère l’usure.
Lorsque ces pièces se détériorent, la conduite peut sembler vague, instable ou bruyante, réduisant ainsi à la fois le confort et le contrôle du conducteur.
Pourquoi remplacer ou mettre à niveau les biellettes et bagues de barre anti-roulis avant de votre Porsche ?
Le remplacement des composants usés restaure la précision de la direction, la stabilité et la confiance au volant. L'utilisation de matériaux performants, comme le polyuréthane ou les maillons renforcés, améliore encore la réactivité et la durabilité.
Principaux avantages :
• Restaure l’équilibre de la conduite et la précision de la direction.
• Réduit le roulis de la carrosserie et le bruit de suspension.
• Améliore l'adhérence à la route et le retour d'information du châssis.
• Disponible en modèles standard et de qualité performance.
• Convient aux modèles Porsche 911, 944, 968, Boxster, Cayman, Cayenne et Macan.
• Idéal pour les restaurations, l’entretien ou les améliorations de suspension de performance.
Les biellettes et bagues de barre anti-roulis avant Porsche de Design911 offrent la précision, la résistance et la fiabilité nécessaires pour maintenir la maniabilité de votre Porsche précise et réactive dans toutes les conditions.
Points forts
• Biellettes et bagues de barre anti-roulis avant Porsche de qualité supérieure.
• Conçu avec précision pour un ajustement et une maniabilité supérieurs.
• Réduit les vibrations, le bruit et la flexion de la suspension.
• Matériaux résistants à la corrosion et hautes performances.
• Compatible avec les modèles Porsche classiques et modernes.
• Parfait pour l’entretien, le réglage des performances ou les travaux de restauration.