在此输入您的增值税号,然后单击验证:
您的详细信息已经过验证。增值税号注册至:
,
。
现在,您的订单的增值税税率为零。我们保留在您提出订单请求后验证这些详细信息的权利,并在需要时恢复增值税。
您的增值税详细信息无法识别或无效。您的增值税号必须与上面指定的帐单国家/地区相匹配。当前指定为 。您无需输入增值税号的国家/地区代码部分,因为已在上面的帐单地址详细信息中选择了该部分。
增值税号查询服务目前已离线。请在下面的评论或特殊说明字段中提供您的增值税详细信息,我们将在您提出订单请求后应用增值税折扣。
吉凯恩
大约吉凯恩
GKN Automotive 市场领先的传动系统部门展示了其深厚的实力,其广泛的产品组合兼具价值和技术专长。这些技术涵盖了从大批量低成本车辆到具有复杂全轮驱动驾驶动态的高端豪华汽车。这些世界一流的产品正在不断完善和改进,以满足全球保时捷客户的需求。
95B521101Q/1
Product Information
适合:
保时捷Macan (95B.1) 2.0L 07.06.2016>> 2018
* 仅适用于:M10
图表参考编号 1
相关参考编号
相关编号、被取代编号、交叉引用编号或替代编号,供比较之用。
95B521101Q
您正在查看的产品与这些编号存在交叉引用关系
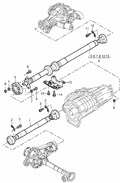
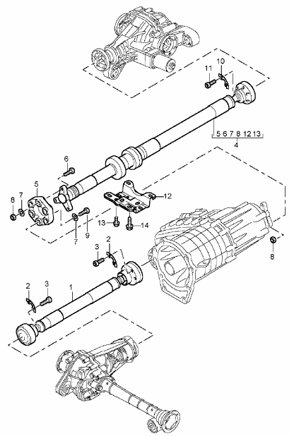
Product Information
万向传动轴。适合:
保时捷Macan (95B.1) 2.0L 07.06.2016>> 2018
* 仅适用于:M10
图表参考编号 1
相关参考编号
相关编号、被取代编号、交叉引用编号或替代编号,供比较之用。
95B521101Q
95B521101Q
95B521101J
95B521101E
95B521101T
您正在查看的产品与这些编号存在交叉引用关系
产品车辆组
产品车辆组
- Porsche 95B.1 Macan Petrol 2.0L 237Bhp 2014-18
价格: €696.15
可订购 - 7 到 10 天
9GT501201A/1
Product Information

適用於:
保时捷 992 GT3
相关参考编号
相关编号、被取代编号、交叉引用编号或替代编号,供比较之用。
9GT501201A
您正在查看的产品与这些编号存在交叉引用关系
Product Information
传动轴后部。
適用於:
保时捷 992 GT3
相关参考编号
相关编号、被取代编号、交叉引用编号或替代编号,供比较之用。
9GT501201A
9GT 501 201 A
9GT501201A
9GT.501.201.A
21731
您正在查看的产品与这些编号存在交叉引用关系
产品车辆组
产品车辆组
- Porsche 992.1 GT3 4.0L / 992 S/T 4.0L 2021-24
价格: €462.15
+ €102.67 包装附加费
99633229300/1
Product Information
该套件包括夹子和油脂。
適用於:
保时捷 986 BOXSTER 2.7L 2003-04 内外部
保时捷 987 BOXSTER 987C CAYMAN 内外
保时捷 996 2002>> C2/C4 后内、外
保时捷 997 C2/C4 后内外侧
相关参考编号
相关编号、被取代编号、交叉引用编号或替代编号,供比较之用。
99633229300
您正在查看的产品与这些编号存在交叉引用关系
Product Information
CV 接头(等速万向节)橡胶套位于车轴组件的每一端,用于保护 CV 接头。如果橡胶套破裂,则可能会造成进一步的损坏。该套件包括夹子和油脂。
適用於:
保时捷 986 BOXSTER 2.7L 2003-04 内外部
保时捷 987 BOXSTER 987C CAYMAN 内外
保时捷 996 2002>> C2/C4 后内、外
保时捷 997 C2/C4 后内外侧
相关参考编号
相关编号、被取代编号、交叉引用编号或替代编号,供比较之用。
99633229300
99633229300
996.332.293.00
37046
您正在查看的产品与这些编号存在交叉引用关系
产品车辆组
产品车辆组
- Porsche Boxster 986 2.7L 2003-04
- Porsche Boxster 987 2.7L 2005 -08/08
- Porsche Boxster 987 S 3.2/3.4L 2005-08/08
- Porsche 993 (911) TURBO S 1994-97
- Porsche 996 C2 3.6L 09/01-2005
- Porsche 996 C4 3.6L 09/01-2005
- Porsche 996 C4S 3.6L 09/01-2005
- Porsche 997 MK1 Carrera 2 3.6L 2005-08
- Porsche 997 MK1 Carrera 2S 3.8L 2005-08
- Porsche 997 MK1 Carrera 4 3.6L 2005-08
- Porsche 997 MK1 Carrera 4S 3.8L 2005-08
- Porsche Cayman 2.7L 987C 2006-08
- Porsche Cayman S 3.4L 987C 2005-08
- Porsche Cayman 2.9L 987C MKII 2009-12
- Porsche Cayman S / R 3.4L 987C MKII 2009-12
€23.34
当前 €21.01
有现货 - 3-5 天发货
95533290100/1
Product Information
Fits:
Porsche 955 Cayenne 3.2L 2004-06 (OUTER & INNER) Rear Axle
Porsche 957 Cayenne 3.6L 2007-10 (OUTER & INNER) Rear Axle
Porsche 957 Cayenne 3.0L DIESEL 2007-10 (OUTER & INNER) Rear Axle
Porsche 957 Cayenne S 4.8L V8 2007-10 Tiptronic (OUTER & INNER) Rear Axle
Click 'Zoom in' for large parts diagram.
Diagram ref no 9
相关参考编号
相关编号、被取代编号、交叉引用编号或替代编号,供比较之用。
95533290100
您正在查看的产品与这些编号存在交叉引用关系
Product Information
The CV joint (Constant Velocity Joint) rubber boot is located at each end of the axle assembly and protects the CV Joint. if the boot is split this can cause further damage.
Fits:
Porsche 955 Cayenne 3.2L 2004-06 (OUTER & INNER) Rear Axle
Porsche 957 Cayenne 3.6L 2007-10 (OUTER & INNER) Rear Axle
Porsche 957 Cayenne 3.0L DIESEL 2007-10 (OUTER & INNER) Rear Axle
Porsche 957 Cayenne S 4.8L V8 2007-10 Tiptronic (OUTER & INNER) Rear Axle
Click 'Zoom in' for large parts diagram.
Diagram ref no 9
相关参考编号
相关编号、被取代编号、交叉引用编号或替代编号,供比较之用。
95533290100
95533290100
24232
95533290100
1143305410
111671
95534990102
95534990103
7L0407321D
7L0498099
7L0498099A
7L0498099AX
7L0498099C
7L0498099CX
95534990100
95534990101
您正在查看的产品与这些编号存在交叉引用关系
产品车辆组
产品车辆组
- Porsche 955 Cayenne 3.2L V6 2003-06
- Porsche 957 Cayenne 3.0L Diesel 2007-10
- Porsche 957 Cayenne 3.6L 2007-10
- Porsche 957 Cayenne S/GTS 4.8L 2007-10
€26.91
当前 €24.22
有现货 - 24 小时发货
95542102004/1
Product Information

适合:
仅适合配备汽油发动机的汽车
保时捷 955 卡宴 MKI 2003-06
保时捷 957 卡宴 MKII 2007>>
以前的零件号:
- 95542102000
- 95542102001
- 95542102002
- 95542102003
单击“放大”查看大零件图。
零件图参考编号 1。
相关参考编号
相关编号、被取代编号、交叉引用编号或替代编号,供比较之用。
95542102004
您正在查看的产品与这些编号存在交叉引用关系
Product Information
万向轴前段传动。
适合:
仅适合配备汽油发动机的汽车
保时捷 955 卡宴 MKI 2003-06
保时捷 957 卡宴 MKII 2007>>
以前的零件号:
- 95542102000
- 95542102001
- 95542102002
- 95542102003
单击“放大”查看大零件图。
零件图参考编号 1。
相关参考编号
相关编号、被取代编号、交叉引用编号或替代编号,供比较之用。
95542102004
95542102000
95542102001
95542102002
95542102003
95542102004
95542102031
7L0521101
7L0521101A
7L0521101B
7L0521101D
7L0521101F
7L0521101G
7L0521101H
7L6521101D
7L6521101F
7L6521101H
7L6521101M
7L6521101P
7L6521101Q
您正在查看的产品与这些编号存在交叉引用关系
产品车辆组
产品车辆组
- Porsche 955 Cayenne 3.2L V6 2003-06
- Porsche 955 Cayenne S 4.5L V8 2003-06
- Porsche 955 Cayenne Turbo 4.5L 2003-06
- Porsche 955 Cayenne Turbo S 4.5L 2006>>
- Porsche 957 Cayenne 3.6L 2007-10
- Porsche 957 Cayenne S/GTS 4.8L 2007-10
- Porsche 957 Cayenne Turbo / Turbo S 4.8L 2007-10
€231.66
当前 €208.49
有现货 - 24 小时发货
95542102015/1
Product Information


Fits:
Porsche Cayenne 955 V6 3.2L MK I 2003-2006
Porsche Cayenne 955 V8 S 4.5L MK I 2003-2006
Porsche Cayenne 955 V8 4.5L Turbo MK I 2003-2006
Porsche Cayenne 957 6cyl 3.0L MK II 2007-2008
Porsche Cayenne 957 V8 3.6L MK II 2007-2008
Porsche Cayenne 957 V8 4.8L MK II 2007-2008
Porsche Cayenne 957 V8 4.8L GTS MK II 2007-2008
Porsche Cayenne 957 V8 4.8L Turbo MK II 2007-2008
Previous part numbers:
- 95542102010
- 95542102011
- 95542102012
- 95542102013
- 95542102014
Click 'Zoom in' for large parts diagram.
Diagram parts Ref No 4.
相关参考编号
相关编号、被取代编号、交叉引用编号或替代编号,供比较之用。
95542102015
您正在查看的产品与这些编号存在交叉引用关系
Product Information

Reconditioned replacement cardan shaft rear transmission.
Please note:
Reconditioned units are sold on an exchange basis, A surcharge of £89.00 will be held and then refunded when the old one is returned.
Reconditioned units are sold on an exchange basis, A surcharge of £89.00 will be held and then refunded when the old one is returned.

Fits:
Porsche Cayenne 955 V6 3.2L MK I 2003-2006
Porsche Cayenne 955 V8 S 4.5L MK I 2003-2006
Porsche Cayenne 955 V8 4.5L Turbo MK I 2003-2006
Porsche Cayenne 957 6cyl 3.0L MK II 2007-2008
Porsche Cayenne 957 V8 3.6L MK II 2007-2008
Porsche Cayenne 957 V8 4.8L MK II 2007-2008
Porsche Cayenne 957 V8 4.8L GTS MK II 2007-2008
Porsche Cayenne 957 V8 4.8L Turbo MK II 2007-2008
Previous part numbers:
- 95542102010
- 95542102011
- 95542102012
- 95542102013
- 95542102014
Click 'Zoom in' for large parts diagram.
Diagram parts Ref No 4.
- The surcharge for this reconditioned part will be refunded when the exchange unit is received and approved by us and the relevant manufacturer.
- Please note, surcharge refunds often take an average of 6 to 8 weeks to be approved by the manufacturer.
- Acceptance of the exchange part is at the manufacturer's discretion, based on the part being fit for reconditioning.
- All surcharges and exchanges are subject to our terms and conditions.
PLEASE NOTE:
相关参考编号
相关编号、被取代编号、交叉引用编号或替代编号,供比较之用。
95542102015
20080
955.421.020.11
955.421.020.12
955.421.020.13
955.421.020.14
955.421.020.15
95542102011
95542102012
95542102013
95542102014
95542102015
7L0521102B
7L0521102D
7L0521102F
7L0521102G
7L0521102H
7L0521102M
7L0521102N
7L5521102C
7L6521102G
7L6521102J
7L6521102M
7L6521102P
您正在查看的产品与这些编号存在交叉引用关系
产品车辆组
产品车辆组
- Porsche 955 Cayenne 3.2L V6 2003-06
- Porsche 955 Cayenne S 4.5L V8 2003-06
- Porsche 955 Cayenne Turbo 4.5L 2003-06
- Porsche 957 Cayenne 3.0L Diesel 2007-10
- Porsche 957 Cayenne 3.6L 2007-10
- Porsche 957 Cayenne S/GTS 4.8L 2007-10
- Porsche 957 Cayenne Turbo / Turbo S 4.8L 2007-10
€466.83
当前 €420.15
+ €121.83 附加费
有现货 - 24 小时发货
92333203200/1KIT
Product Information
SET OF 2

Fits:
Porsche 911 2.7/3.0L 1974-84
6 Bolt driveshaft type
Tooth Gaps, profile shaft conn.: 25,
without groove in internal component,
D1: 25.84 mm,
Joint Ø: 100 mm,
Length: 32 mm, with cap,
Bore Ø: 8.2 mm,
Number of bores: 6,
Bolt Hole Circle Ø: 86 mm,
The CV joint (Constant Velocity Joint) is located at each end of the axle assembly and is most often used on front wheel drive cars. A 2wd vehicle will have 2 axles with 4 CV joints and boots. A 4wd will typically have twice as many as the 2wd. The CV joint allows the wheels of the vehicle to turn while still being able to put power to the wheels.
The most notable indicator of a worn out CV joint is the loud clicking noise you hear when you turn the steering wheel.
相关参考编号
相关编号、被取代编号、交叉引用编号或替代编号,供比较之用。
92333203200
您正在查看的产品与这些编号存在交叉引用关系
Product Information
CV joint kit Constant Velocity Joint. SET OF 2

Fits:
Porsche 911 2.7/3.0L 1974-84
6 Bolt driveshaft type
Tooth Gaps, profile shaft conn.: 25,
without groove in internal component,
D1: 25.84 mm,
Joint Ø: 100 mm,
Length: 32 mm, with cap,
Bore Ø: 8.2 mm,
Number of bores: 6,
Bolt Hole Circle Ø: 86 mm,
The CV joint (Constant Velocity Joint) is located at each end of the axle assembly and is most often used on front wheel drive cars. A 2wd vehicle will have 2 axles with 4 CV joints and boots. A 4wd will typically have twice as many as the 2wd. The CV joint allows the wheels of the vehicle to turn while still being able to put power to the wheels.
The most notable indicator of a worn out CV joint is the loud clicking noise you hear when you turn the steering wheel.
相关参考编号
相关编号、被取代编号、交叉引用编号或替代编号,供比较之用。
92333203200
92333203200
923.332.032.00
302266
您正在查看的产品与这些编号存在交叉引用关系
关于此套件
该套件包括以下商品:
2 x CV joint kit Constant Velocity Joint. Porsche 911 2.7/3.0L 1974-84 (92333203200/1)
产品车辆组
产品车辆组
- Porsche 911 1974-1977 2.7L / 1976-77 3.0 Carrera
- Porsche 911 1978-1983 3.0L / SC
€198.90
当前 €179.00
有现货 - 24 小时发货
94433190100/1KIT
Product Information
SET OF 2

Fits:
Porsche 924/924S 76-88
Porsche 944/944S 82-91 (NOT TURBO)
Porsche 944T 1986 ONLY
The CV joint (Constant Velocity Joint) is located at each end of the axle assembly and is most often used on front wheel drive cars. A 2wd vehicle will have 2 axles with 4 CV joints and boots. A 4wd will typically have twice as many as the 2wd. The CV joint allows the wheels of the vehicle to turn while still being able to put power to the wheels.
The most notable indicator of a worn out CV joint is the loud clicking noise you hear when you turn the steering wheel.
相关参考编号
相关编号、被取代编号、交叉引用编号或替代编号,供比较之用。
94433190100
您正在查看的产品与这些编号存在交叉引用关系
Product Information
CV joint kit (Constant Velocity Joint). SET OF 2

Fits:
Porsche 924/924S 76-88
Porsche 944/944S 82-91 (NOT TURBO)
Porsche 944T 1986 ONLY
The CV joint (Constant Velocity Joint) is located at each end of the axle assembly and is most often used on front wheel drive cars. A 2wd vehicle will have 2 axles with 4 CV joints and boots. A 4wd will typically have twice as many as the 2wd. The CV joint allows the wheels of the vehicle to turn while still being able to put power to the wheels.
The most notable indicator of a worn out CV joint is the loud clicking noise you hear when you turn the steering wheel.
相关参考编号
相关编号、被取代编号、交叉引用编号或替代编号,供比较之用。
94433190100
94433190100
944.331.901.00
302267
477501185
21821
您正在查看的产品与这些编号存在交叉引用关系
关于此套件
该套件包括以下商品:
2 x CV joint kit Constant Velocity Joint. Porsche 924 / 944 (94433190100/1)
产品车辆组
产品车辆组
- Porsche 924 2.0L 1976-79
- Porsche 924 2.0L 1980-85
- Porsche 924 Turbo 2.0L 1979-81
- Porsche 924 Turbo 2.0L 1982-84
- Porsche 924 Carrera GT 2.0L 1981
- Porsche 924 Carrera GTS 2.0L 1982
- Porsche 924S 2.5L 1986-87
- Porsche 924S 2.5L 1988
- Porsche 944 2.5L 8V 1982-87
- Porsche 944 2.7L 8V 1988-89
- Porsche 944S 2.5L 16V 1987-88
- Porsche 944S2 3.0L 16V 1989-91
- Porsche 944 Turbo 2.5L 8V 1985-88
€134.56
当前 €121.10
有现货 - 3-5 天发货
8K0407305M/1
Product Information

Fits:
Porsche 95B Macan 2.0L / 3.0L 2014-18
Porsche Macan II 2.0L / 3.0L 2019>>
Click 'Zoom in' for large parts diagram.
Diagram ref no 10-14.
相关参考编号
相关编号、被取代编号、交叉引用编号或替代编号,供比较之用。
8K0407305M
您正在查看的产品与这些编号存在交叉引用关系
Product Information
Constant Velocity joint outer. Front axle.
Fits:
Porsche 95B Macan 2.0L / 3.0L 2014-18
Porsche Macan II 2.0L / 3.0L 2019>>
Click 'Zoom in' for large parts diagram.
Diagram ref no 10-14.
相关参考编号
相关编号、被取代编号、交叉引用编号或替代编号,供比较之用。
8K0407305M
8K0407305M
36097
306276
您正在查看的产品与这些编号存在交叉引用关系
产品车辆组
产品车辆组
- Porsche 95B.1 Macan Petrol 2.0L 237Bhp 2014-18
- Porsche 95B.1 Macan S Petrol 3.0L V6 340Bhp 2014-18
- Porsche 95B.1 Macan S Diesel 3.0L V6 258Bhp 2014-18
- Porsche 95B.1 Macan GTS Petrol 3.0L V6 360Bhp 2014-18
- Porsche 95B.2 Macan Petrol 2.0L 245Bhp 2019-21
- Porsche 95B.2 Macan S Petrol 3.0L V6 354Bhp 2019-21
€116.94
当前 €105.25
有现货 - 24 小时发货
91133203309/1
Product Information


Fits:
Porsche 911 1969-73 Manual cars
PLEASE NOTE: The old unit must be returned to Design911 in a built state, not in component pieces.
*Reconditioned Drive Shafts are sold on a exchange basis, A surcharge of £75.00 will be held and then refunded when the old one is returned
Price is for each Driveshaft.
相关参考编号
相关编号、被取代编号、交叉引用编号或替代编号,供比较之用。
91133203309
您正在查看的产品与这些编号存在交叉引用关系
Product Information

Reconditioned Replacement Driveshaft.
Please note:
Reconditioned units are sold on an exchange basis, A surcharge of £75.00 will be held and then refunded when the old one is returned.
Reconditioned units are sold on an exchange basis, A surcharge of £75.00 will be held and then refunded when the old one is returned.

Fits:
Porsche 911 1969-73 Manual cars
PLEASE NOTE: The old unit must be returned to Design911 in a built state, not in component pieces.
*Reconditioned Drive Shafts are sold on a exchange basis, A surcharge of £75.00 will be held and then refunded when the old one is returned
Price is for each Driveshaft.
- The surcharge for this reconditioned part will be refunded when the exchange unit is received and approved by us and the relevant manufacturer.
- Please note, surcharge refunds often take an average of 6 to 8 weeks to be approved by the manufacturer.
- Acceptance of the exchange part is at the manufacturer's discretion, based on the part being fit for reconditioning.
- All surcharges and exchanges are subject to our terms and conditions.
PLEASE NOTE:
相关参考编号
相关编号、被取代编号、交叉引用编号或替代编号,供比较之用。
91133203309
91133203308
91133203309
21806
300739
您正在查看的产品与这些编号存在交叉引用关系
产品车辆组
产品车辆组
- Porsche 911 1965-1968 2.0L / 912 SWB (F)
- Porsche 911 1968-1973 2.2L / 2.4L / 2.7L RS LWB (F)
€251.55
当前 €226.39
+ €102.67 附加费
有现货 - 24 小时发货
1909
Product Information
它们采用高品质高弹性氯丁橡胶制成,具有很强的抗臭氧、抗应力和抗低温性能。
可以使用塑料靴子或现代的枪式安装枪来安装靴子。
所有套件包括: 1 个靴子、2 个带孔的通用夹具和 80 克润滑脂。
所有 GKN FLexBoot 都十分灵活,因此
用锥体或靴子滑块安装。等速万向节无需拆卸!
適用於:
零件编号:190965:ø 1 - 27 毫米 / ø 2 - 84 毫米 / L - 100 毫米
保时捷卡宴 08/02-12/06
零件编号:190967:ø 1 - 29 毫米 / ø 2 - 67 毫米 / L - 79 毫米
保时捷卡宴 08/02-12/06
零件编号 190969:ø 1 - 23 毫米 / ø 2 - 59 毫米 / L - 90 毫米
保时捷卡宴 08/02-12/06
零件编号 190971:ø 1 - 24 毫米 / ø 2 - 92 毫米 / L - 83 毫米
保时捷卡宴 08/02-12/10
相关参考编号
相关编号、被取代编号、交叉引用编号或替代编号,供比较之用。
1909
您正在查看的产品与这些编号存在交叉引用关系
Product Information
关节专用 FlexBoots:普遍可用,但与 OE 靴子最相似。它们采用高品质高弹性氯丁橡胶制成,具有很强的抗臭氧、抗应力和抗低温性能。
可以使用塑料靴子或现代的枪式安装枪来安装靴子。
所有套件包括: 1 个靴子、2 个带孔的通用夹具和 80 克润滑脂。
所有 GKN FLexBoot 都十分灵活,因此
用锥体或靴子滑块安装。等速万向节无需拆卸!
適用於:
零件编号:190965:ø 1 - 27 毫米 / ø 2 - 84 毫米 / L - 100 毫米
保时捷卡宴 08/02-12/06
零件编号:190967:ø 1 - 29 毫米 / ø 2 - 67 毫米 / L - 79 毫米
保时捷卡宴 08/02-12/06
零件编号 190969:ø 1 - 23 毫米 / ø 2 - 59 毫米 / L - 90 毫米
保时捷卡宴 08/02-12/06
零件编号 190971:ø 1 - 24 毫米 / ø 2 - 92 毫米 / L - 83 毫米
保时捷卡宴 08/02-12/10
相关参考编号
相关编号、被取代编号、交叉引用编号或替代编号,供比较之用。
1909
190965
190967
190969
190971
您正在查看的产品与这些编号存在交叉引用关系
产品车辆组
产品车辆组
- Porsche 955 Cayenne 3.2L V6 2003-06
- Porsche 955 Cayenne S 4.5L V8 2003-06
- Porsche 955 Cayenne Turbo 4.5L 2003-06
- Porsche 955 Cayenne Turbo S 4.5L 2006>>
- Porsche 957 Cayenne 3.0L Diesel 2007-10
- Porsche 957 Cayenne 3.6L 2007-10
- Porsche 957 Cayenne S/GTS 4.8L 2007-10
- Porsche 957 Cayenne Turbo / Turbo S 4.8L 2007-10
选择尺寸:
价格低至: €12.58
92833229302/2
Product Information
适合:
相关参考编号
相关编号、被取代编号、交叉引用编号或替代编号,供比较之用。
92833229302
您正在查看的产品与这些编号存在交叉引用关系
Product Information
CV 接头防尘罩套件 (等速接头防尘罩)。适合:
保时捷 964 C2 / C4 - 后内/外
保时捷 964 C4 - 前内
保时捷 993 C2 / C4 - 后内/外
保时捷 993 C4 - 前内
保时捷 996 C2 / C4 / Turbo / GT2 / GT3 - 后内/外
保时捷 997 Turbo / GT2 / GT3 - 后内/外
保时捷 986 2.5/2.7L/3.2L >>2002 - 内外饰
保时捷 986 3.2L 2003>> - TIPRONIC 内胎和外胎
保时捷 986 3.2L 2003>> - 手动外
CV 接头(等速万向节)橡胶套位于车轴组件的每一端,用于保护 CV 接头。如果橡胶套破裂,则可能会造成进一步的损坏。
相关参考编号
相关编号、被取代编号、交叉引用编号或替代编号,供比较之用。
92833229302
304115
92833229302
您正在查看的产品与这些编号存在交叉引用关系
产品车辆组
产品车辆组
- Porsche Boxster 986 2.5L 1997-99
- Porsche Boxster 986 2.7L 1999-02
- Porsche Boxster S 986 3.2L 2003-04
- Porsche 964 (911) C2 1989-93
- Porsche 964 (911) C4 1989-93
- Porsche 964 (911) RS 3.6L 1991-93
- Porsche 964 (911) RS 3.8L 1991-93
- Porsche 964 (911) TURBO 3.3L 1991-93
- Porsche 964 (911) TURBO 3.6L 1991-93
- Porsche 993 (911) C2 1994-97
- Porsche 993 (911) C4 1994-97
- Porsche 993 (911) C2S 1994-97
- Porsche 993 (911) C4S 1994-97
- Porsche 993 (911) TURBO 1994-96
- Porsche 993 (911) TURBO S 1994-97
- Porsche 996 C2 3.4L 1997-08/01
- Porsche 996 C4 3.4L 1997-08/01
- Porsche 996 TURBO 2000-05
- Porsche 996 GT3 MKI 1999-02
- Porsche 997 MK1 TURBO 2007-09
€23.40
当前 €21.06
有现货 - 24 小时发货
95133203806/2
Product Information


Fits:
Porsche 944 S2 1989-91 Manual cars
Porsche 944 Turbo 1985-91 Manual cars
PLEASE NOTE: The old unit must be returned to Design911 in a built state, not in component pieces.
*Reconditioned Drive Shafts are sold on a exchange basis, A surcharge of £40.00 will be held and then refunded when the old one is returned
Price is for each Driveshaft.
相关参考编号
相关编号、被取代编号、交叉引用编号或替代编号,供比较之用。
95133203806
您正在查看的产品与这些编号存在交叉引用关系
Product Information

Reconditioned replacement driveshaft.
Please note:
Reconditioned units are sold on an exchange basis, A surcharge of £50.00 will be held and then refunded when the old one is returned.
Reconditioned units are sold on an exchange basis, A surcharge of £50.00 will be held and then refunded when the old one is returned.

Fits:
Porsche 944 S2 1989-91 Manual cars
Porsche 944 Turbo 1985-91 Manual cars
PLEASE NOTE: The old unit must be returned to Design911 in a built state, not in component pieces.
*Reconditioned Drive Shafts are sold on a exchange basis, A surcharge of £40.00 will be held and then refunded when the old one is returned
Price is for each Driveshaft.
- The surcharge for this reconditioned part will be refunded when the exchange unit is received and approved by us and the relevant manufacturer.
- Please note, surcharge refunds often take an average of 6 to 8 weeks to be approved by the manufacturer.
- Acceptance of the exchange part is at the manufacturer's discretion, based on the part being fit for reconditioning.
- All surcharges and exchanges are subject to our terms and conditions.
PLEASE NOTE:
相关参考编号
相关编号、被取代编号、交叉引用编号或替代编号,供比较之用。
95133203806
95133203806
300684
您正在查看的产品与这些编号存在交叉引用关系
产品车辆组
产品车辆组
- Porsche 944S2 3.0L 16V 1989-91
- Porsche 944 Turbo 2.5L 8V 1985-88
- Porsche 944 Turbo 2.5L 8V 1989-91
- Porsche 944 Turbo S 2.5L 8V 1988
价格: €174.33
+ €68.45 附加费
可订购 - 7 到 14 天
95133290100/1
Product Information

Fits:
Porsche 944 M030/031
Porsche 944 TURBO 87-91
Porsche 944S2 89-91
Porsche 968
The CV joint (Constant Velocity Joint) is located at each end of the axle assembly and is most often used on front wheel drive cars. A 2wd vehicle will have 2 axles with 4 CV joints and boots. A 4wd will typically have twice as many as the 2wd. The CV joint allows the wheels of the vehicle to turn while still being able to put power to the wheels.
The most notable indicator of a worn out CV joint is the loud clicking noise you hear when you turn the steering wheel.
相关参考编号
相关编号、被取代编号、交叉引用编号或替代编号,供比较之用。
95133290100
您正在查看的产品与这些编号存在交叉引用关系
Product Information
CV joint kit (Constant Velocity Joint). 
Fits:
Porsche 944 M030/031
Porsche 944 TURBO 87-91
Porsche 944S2 89-91
Porsche 968
The CV joint (Constant Velocity Joint) is located at each end of the axle assembly and is most often used on front wheel drive cars. A 2wd vehicle will have 2 axles with 4 CV joints and boots. A 4wd will typically have twice as many as the 2wd. The CV joint allows the wheels of the vehicle to turn while still being able to put power to the wheels.
The most notable indicator of a worn out CV joint is the loud clicking noise you hear when you turn the steering wheel.
相关参考编号
相关编号、被取代编号、交叉引用编号或替代编号,供比较之用。
95133290100
95133290100
951.332.901.00
302277
您正在查看的产品与这些编号存在交叉引用关系
产品车辆组
产品车辆组
- Porsche 944S2 3.0L 16V 1989-91
- Porsche 944 Turbo 2.5L 8V 1985-88
- Porsche 944 Turbo 2.5L 8V 1989-91
- Porsche 944 Turbo S 2.5L 8V 1988
- Porsche 968 3.0L 1992-94
- Porsche 968 Sport 3.0L 1994-95
- Porsche 968 CS 3.0L 1993-95
- Porsche 968 Turbo S 3.0L 1993-94
€76.05
当前 €68.44
有现货 - 24 小时发货
93033203400/1
Product Information

Fits:
Porsche 911 TURBO (930) 3.0L 1975-77
Porsche 911 TURBO (930) 3.3L 1978-89
Specification:
Disc Joint,
Tooth Gaps, profile shaft conn.: 28,
without groove in internal component,
Joint Ø: 108 mm,
Length: 40 mm,
Bore Ø: 10.2 mm,
Number of bores: 6,
Bolt Hole Circle Ø: 94 mm,
with rubber bellow,
The CV joint (Constant Velocity Joint) is located at each end of the axle assembly and is most often used on front wheel drive cars. A 2wd vehicle will have 2 axles with 4 CV joints and boots. A 4wd will typically have twice as many as the 2wd. The CV joint allows the wheels of the vehicle to turn while still being able to put power to the wheels.
The most notable indicator of a worn out CV joint is the loud clicking noise you hear when you turn the steering wheel.
相关参考编号
相关编号、被取代编号、交叉引用编号或替代编号,供比较之用。
93033203400
您正在查看的产品与这些编号存在交叉引用关系
Product Information
CV joint kit Constant Velocity Joint.
Fits:
Porsche 911 TURBO (930) 3.0L 1975-77
Porsche 911 TURBO (930) 3.3L 1978-89
Specification:
Disc Joint,
Tooth Gaps, profile shaft conn.: 28,
without groove in internal component,
Joint Ø: 108 mm,
Length: 40 mm,
Bore Ø: 10.2 mm,
Number of bores: 6,
Bolt Hole Circle Ø: 94 mm,
with rubber bellow,
The CV joint (Constant Velocity Joint) is located at each end of the axle assembly and is most often used on front wheel drive cars. A 2wd vehicle will have 2 axles with 4 CV joints and boots. A 4wd will typically have twice as many as the 2wd. The CV joint allows the wheels of the vehicle to turn while still being able to put power to the wheels.
The most notable indicator of a worn out CV joint is the loud clicking noise you hear when you turn the steering wheel.
相关参考编号
相关编号、被取代编号、交叉引用编号或替代编号,供比较之用。
93033203400
302299
93033203400
您正在查看的产品与这些编号存在交叉引用关系
产品车辆组
产品车辆组
- Porsche 911 1975-1977 3.0L Turbo (930)
- Porsche 911 1978-1989 3.3L Turbo (930)
€61.43
当前 €55.29
有现货 - 24 小时发货
94433190100/1
Product Information

Fits:
Porsche 924/924S 76-88
Porsche 944/944S 82-91 (NOT TURBO)
Porsche 944T 1986 ONLY
The CV joint (Constant Velocity Joint) is located at each end of the axle assembly and is most often used on front wheel drive cars. A 2wd vehicle will have 2 axles with 4 CV joints and boots. A 4wd will typically have twice as many as the 2wd. The CV joint allows the wheels of the vehicle to turn while still being able to put power to the wheels.
The most notable indicator of a worn out CV joint is the loud clicking noise you hear when you turn the steering wheel.
相关参考编号
相关编号、被取代编号、交叉引用编号或替代编号,供比较之用。
94433190100
您正在查看的产品与这些编号存在交叉引用关系
Product Information
CV joint kit (Constant Velocity Joint). 
Fits:
Porsche 924/924S 76-88
Porsche 944/944S 82-91 (NOT TURBO)
Porsche 944T 1986 ONLY
The CV joint (Constant Velocity Joint) is located at each end of the axle assembly and is most often used on front wheel drive cars. A 2wd vehicle will have 2 axles with 4 CV joints and boots. A 4wd will typically have twice as many as the 2wd. The CV joint allows the wheels of the vehicle to turn while still being able to put power to the wheels.
The most notable indicator of a worn out CV joint is the loud clicking noise you hear when you turn the steering wheel.
相关参考编号
相关编号、被取代编号、交叉引用编号或替代编号,供比较之用。
94433190100
94433190100
944.331.901.00
302267
477501185
您正在查看的产品与这些编号存在交叉引用关系
产品车辆组
产品车辆组
- Porsche 924 2.0L 1976-79
- Porsche 924 2.0L 1980-85
- Porsche 924 Turbo 2.0L 1979-81
- Porsche 924 Turbo 2.0L 1982-84
- Porsche 924 Carrera GT 2.0L 1981
- Porsche 924 Carrera GTS 2.0L 1982
- Porsche 924S 2.5L 1986-87
- Porsche 924S 2.5L 1988
- Porsche 944 2.5L 8V 1982-87
- Porsche 944 2.7L 8V 1988-89
- Porsche 944S 2.5L 16V 1987-88
- Porsche 944S2 3.0L 16V 1989-91
- Porsche 944 Turbo 2.5L 8V 1985-88
€67.28
当前 €60.55
有现货 - 24 小时发货