Injecteurs
Compatible avec :
Porsche 911 3.0 Carrera K-Jetronic
Porsche 911 3.0 SC K-Jetronic
Numéros de référence associés
Numéros associés, remplacés, de référence croisée ou alternatifs à des fins de comparaison.
91111022501
Le produit que vous consultez fait référence à ces numéros
- Porsche 911 1974-1977 2.7L / 1976-77 3.0 Carrera
- Porsche 911 1978-1983 3.0L / SC
Le kit comprend - 6 x joints d'injecteur de carburant
Compatible avec :
Porsche 911 - 1974 à 1983
pour les voitures avec injection de carburant K-Jetronic (non turbo)
Schéma réf. n° 44
Numéros de référence associés
Numéros associés, remplacés, de référence croisée ou alternatifs à des fins de comparaison.
99970142340KIT
Le produit que vous consultez fait référence à ces numéros
- Porsche 911 1974-1977 2.7L / 1976-77 3.0 Carrera
- Porsche 911 1978-1983 3.0L / SC
- Porsche 924S 2.5L 1986-87
- Porsche 924S 2.5L 1988
- Porsche 944 2.5L 8V 1982-87
- Porsche 944 2.7L 8V 1988-89
- Porsche 944S 2.5L 16V 1987-88
- Porsche 944S2 3.0L 16V 1989-91
- Porsche 944 Turbo 2.5L 8V 1985-88
- Porsche 944 Turbo 2.5L 8V 1989-91
- Porsche 944 Turbo S 2.5L 8V 1988
- Porsche 928S2 4.7L 1984-86
Convient à :
Porsche 911 1970-77 Injection mécanique
Numéros de référence associés
Numéros associés, remplacés, de référence croisée ou alternatifs à des fins de comparaison.
90111027100
Le produit que vous consultez fait référence à ces numéros
- Porsche 911 1968-1973 2.2L / 2.4L / 2.7L RS LWB (F)
- Porsche 911 1974-1977 2.7L / 1976-77 3.0 Carrera

Convient :
Porsche 930 Turbo 3.0 1975-83
Porsche 930 Turbo 3.3 1983-89
Numéros de référence associés
Numéros associés, remplacés, de référence croisée ou alternatifs à des fins de comparaison.
93011022502
Le produit que vous consultez fait référence à ces numéros
- Porsche 911 1975-1977 3.0L Turbo (930)
- Porsche 911 1978-1989 3.3L Turbo (930)
Convient à :
Porsche 911T/E/S/RS 1969-1976
Références du schéma : 5, 6, 7, 8, 9 et 10
Numéros de référence associés
Numéros associés, remplacés, de référence croisée ou alternatifs à des fins de comparaison.
91111002SET
Le produit que vous consultez fait référence à ces numéros
- Porsche 911 1968-1973 2.2L / 2.4L / 2.7L RS LWB (F)
- Porsche 911 1974-1977 2.7L / 1976-77 3.0 Carrera

Convient :
Porsche 911 Carrera 3.2L 1984-88
Porsche 924S 1986-88
Porsche 928S2 1985-86 Homme Voitures
Porsche 944 1982-91
Numéros de référence associés
Numéros associés, remplacés, de référence croisée ou alternatifs à des fins de comparaison.
94411090100
Le produit que vous consultez fait référence à ces numéros
- Porsche 911 1984-1986 3.2L
- Porsche 924S 2.5L 1986-87
- Porsche 924S 2.5L 1988
- Porsche 944 2.5L 8V 1982-87
- Porsche 944 2.7L 8V 1988-89
- Porsche 944S 2.5L 16V 1987-88
- Porsche 944S2 3.0L 16V 1989-91
- Porsche 944 Turbo 2.5L 8V 1985-88
- Porsche 944 Turbo 2.5L 8V 1989-91
- Porsche 944 Turbo S 2.5L 8V 1988
- Porsche 928S2 4.7L 1984-86

Convient :
Porsche 911 Carrera 3.2L 1984-88
Porsche 924S 1986-88
Porsche 928S2 1985-86 Homme Voitures
Porsche 944 1982-91
Numéros de référence associés
Numéros associés, remplacés, de référence croisée ou alternatifs à des fins de comparaison.
94411090100
Le produit que vous consultez fait référence à ces numéros
- Porsche 911 1984-1986 3.2L
- Porsche 911 1987-1989 3.2L G50
- Porsche 924S 2.5L 1986-87
- Porsche 924S 2.5L 1988
- Porsche 944 2.5L 8V 1982-87
- Porsche 944 2.7L 8V 1988-89
- Porsche 944S 2.5L 16V 1987-88
- Porsche 944S2 3.0L 16V 1989-91
- Porsche 944 Turbo 2.5L 8V 1985-88
- Porsche 944 Turbo 2.5L 8V 1989-91
- Porsche 944 Turbo S 2.5L 8V 1988
- Porsche 928S2 4.7L 1984-86
Vendu à l'unité - 6 requis par voiture
Compatible avec :
Porsche 911 - 1974 à 1983
pour les voitures avec injection de carburant K-Jetronic (non turbo)
Schéma réf. n° 44
Numéros de référence associés
Numéros associés, remplacés, de référence croisée ou alternatifs à des fins de comparaison.
99970142340
Le produit que vous consultez fait référence à ces numéros
- Porsche 911 1974-1977 2.7L / 1976-77 3.0 Carrera
- Porsche 911 1978-1983 3.0L / SC
- Porsche 924S 2.5L 1986-87
- Porsche 924S 2.5L 1988
- Porsche 944 2.5L 8V 1982-87
- Porsche 944 2.7L 8V 1988-89
- Porsche 944S 2.5L 16V 1987-88
- Porsche 944S2 3.0L 16V 1989-91
- Porsche 944 Turbo 2.5L 8V 1985-88
- Porsche 944 Turbo 2.5L 8V 1989-91
- Porsche 944 Turbo S 2.5L 8V 1988
- Porsche 928S2 4.7L 1984-86
Vendu à l'unité - 6 requis par voiture
Convient à :
Porsche 911 1970-77 Injection mécanique
Numéros de référence associés
Numéros associés, remplacés, de référence croisée ou alternatifs à des fins de comparaison.
90111027100
Le produit que vous consultez fait référence à ces numéros
- Porsche 911 1968-1973 2.2L / 2.4L / 2.7L RS LWB (F)
- Porsche 911 1974-1977 2.7L / 1976-77 3.0 Carrera
Vendu à l'unité - 6 requis par voiture
Convient à :
Porsche 911 1970-77 Injection mécanique
Numéros de référence associés
Numéros associés, remplacés, de référence croisée ou alternatifs à des fins de comparaison.
90111027100
Le produit que vous consultez fait référence à ces numéros
- Porsche 911 1968-1973 2.2L / 2.4L / 2.7L RS LWB (F)
- Porsche 911 1974-1977 2.7L / 1976-77 3.0 Carrera
Vendu à l'unité - 6 requis par voiture
Convient à :
Porsche 911 3.0 Carrera K-Jetronic
Porsche 911 3.0 SC K-Jetronic
Numéros de référence associés
Numéros associés, remplacés, de référence croisée ou alternatifs à des fins de comparaison.
91111022501
Le produit que vous consultez fait référence à ces numéros
- Porsche 911 1974-1977 2.7L / 1976-77 3.0 Carrera
- Porsche 911 1978-1983 3.0L / SC
Vendu à l'unité - 6 requis par voiture
Convient à :
Porsche 911 3.0 Carrera K-Jetronic
Porsche 911 3.0 SC K-Jetronic
Numéros de référence associés
Numéros associés, remplacés, de référence croisée ou alternatifs à des fins de comparaison.
91111022501
Le produit que vous consultez fait référence à ces numéros
- Porsche 911 1974-1977 2.7L / 1976-77 3.0 Carrera
- Porsche 911 1978-1983 3.0L / SC

Convient :
Porsche 911 TK 1972-73
6 par voiture. Le prix est pour chacun.
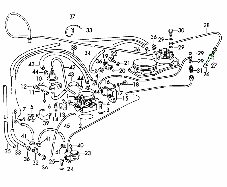
Cliquez sur « Zoomer » pour afficher le diagramme des grandes pièces.
Schéma réf n°27
Numéros de référence associés
Numéros associés, remplacés, de référence croisée ou alternatifs à des fins de comparaison.
91111035501
Le produit que vous consultez fait référence à ces numéros
- Porsche 911 1968-1973 2.2L / 2.4L / 2.7L RS LWB (F)
- Porsche 924S 2.5L 1986-87
- Porsche 924S 2.5L 1988
- Porsche 944 2.5L 8V 1982-87
6 par voiture. Le prix est pour chacun.

Convient :
Porsche 930 Turbo 3.0 1975-83
Porsche 930 Turbo 3.3 1983-89
Numéros de référence associés
Numéros associés, remplacés, de référence croisée ou alternatifs à des fins de comparaison.
93011022502
Le produit que vous consultez fait référence à ces numéros
- Porsche 911 1975-1977 3.0L Turbo (930)
- Porsche 911 1978-1989 3.3L Turbo (930)
Vendu à l'unité - 6 requis par voiture
Convient à :
Porsche 930 Turbo 3.0 1975-83
Porsche 930 Turbo 3.3 1983-89
Numéros de référence associés
Numéros associés, remplacés, de référence croisée ou alternatifs à des fins de comparaison.
93011022502
Le produit que vous consultez fait référence à ces numéros
- Porsche 911 1975-1977 3.0L Turbo (930)
- Porsche 911 1978-1989 3.3L Turbo (930)
ENSEMBLE DE 6.
#Ton#
Convient :
Porsche 911 3.2 Carrera 1984 à 1989
Porsche 964 - 1989 à 1994
Porsche 993 - 1994 à 1997
Porsche 996 - 1997 à 2005
Porsche 997.1 - 2005 à 2008
Pour les voitures à aspiration normale (non turbo)
L'ID1050-XDS est l'évolution de l'ID1050x.
L'ID1050-XDS bénéficie de la fonction Dual Slope Matching, une méthode permettant d'adapter le débit dans la plage de fonctionnement linéaire et non linéaire, offrant une meilleure cohérence cylindre à cylindre à de faibles largeurs d'impulsion.
Les composants internes résistants à la corrosion le rendent compatible avec tous les carburants connus, capables d'une durée de vie prolongée avec les carburants corrosifs.
Le corps compact permet une installation dans plus de 200 applications, y compris les moteurs actuels et futurs utilisant des injecteurs à corps court.
Un circuit magnétique plus puissant offre un fonctionnement stable jusqu'à 10 bars.
Le filtre d'entrée remplaçable prolonge la durée de vie.
Spécifications du socle :
• Débit nominal – 1 065 cc/min à 3,0 bars (43,5 psi) avec de l'essence à 52 degrés C (125 degrés F)
• Pression différentielle maximale de carburant – 10,0 bars (145,0 psi)
• Compatibilité des carburants – Compatible avec tous les carburants connus
• Connecteur électrique – USCAR
Numéros de référence associés
Numéros associés, remplacés, de référence croisée ou alternatifs à des fins de comparaison.
1050.60.14.14.6
Le produit que vous consultez fait référence à ces numéros
- Porsche 911 1984-1986 3.2L
- Porsche 911 1987-1989 3.2L G50
- Porsche 964 (911) C2 1989-93
- Porsche 964 (911) C4 1989-93
- Porsche 964 (911) RS 3.6L 1991-93
- Porsche 964 (911) RS 3.8L 1991-93
- Porsche 993 (911) C2 1994-97
- Porsche 993 (911) C4 1994-97
- Porsche 993 (911) RS 1994-97
- Porsche 993 (911) C2S 1994-97
- Porsche 993 (911) C4S 1994-97
- Porsche 996 C2 3.4L 1997-08/01
- Porsche 996 C4 3.4L 1997-08/01
- Porsche 996 C2 3.6L 09/01-2005
- Porsche 996 C4 3.6L 09/01-2005
- Porsche 996 C4S 3.6L 09/01-2005
- Porsche 997 MK1 Carrera 2 3.6L 2005-08
- Porsche 997 MK1 Carrera 2S 3.8L 2005-08
- Porsche 997 MK1 Carrera 4 3.6L 2005-08
- Porsche 997 MK1 Carrera 4S 3.8L 2005-08
-
k-jetronic 911 SC 930.03/04, 930.05/06, 930.09/10, 930.13/15, 930.19 1978-83 107-10
-
k-jetronic III 911 TURBO 1978-83 107-35
-
injection system cylinder head and injection pump 911 E/S UPTO 1971 and 911 911 T-E/E/S, CARRERA 2.7 1972 ONWARDS 107-20
-
Système d'injection avec raccord de volet de soupapes de conduite de carburant et soupape de préchauffage 911 TK à partir de 1972 107-40
-
L-JETRONIC II 911 CARRERA 930.20/25/26 1987-89 107-05
-
K-JETRONIC III 911 TURBO 930.66/68 1987-89 107-35
-
L-JETRONIC II 911 CARRERA 930.20/21/26 1984-86 107-05
-
K-JETRONIC III 911 TURBO 930.66/68 1984-86 107-35
-
K - JETRONIC mixture control unit 911 1974-76 107-00
-
K - JETRONIC mixture control unit 911 1977 ONWARDS 107-05
-
Mechanical injection left for Model 911/83 1974-77 107-20
-
Mechanical injection right for Model 911/83 1974-77 107-25
-
injection system cylinder head and injection pump for 911 E/S 1969 onwards 107-20
-
Mixture control unit, air cleaner 911 TURBO 1975-77 107-00
Injecteurs de carburant – Distribution de carburant précise pour les performances Porsche
Les injecteurs de carburant sont des composants essentiels du système de gestion moteur de votre Porsche. Ils délivrent des quantités précises de carburant directement dans la chambre de combustion. Ils assurent une atomisation efficace du carburant et des rapports air-carburant optimaux, essentiels à des performances fluides, une accélération réactive et une réduction des émissions.
Chez Design911, nous proposons une sélection complète d'injecteurs de carburant d'origine et de haute qualité pour les modèles Porsche, notamment la 911, le Boxster, le Cayman, le Cayenne, le Macan et la Panamera. Chaque injecteur est conçu pour offrir précision, régularité de débit et fiabilité, garantissant ainsi à votre Porsche le maintien de ses performances et de son efficacité reconnues.
À quoi servent les injecteurs de carburant ?
Les injecteurs de carburant alimentent le moteur en carburant sous pression à intervalles précis, garantissant une combustion parfaite. Leurs principales fonctions sont les suivantes :
Un injecteur fonctionnant correctement garantit un ralenti régulier, une accélération nette et une puissance de sortie optimale, essentielles à la fois pour la conduite quotidienne et pour les applications hautes performances.
Pourquoi les injecteurs de carburant tombent-ils en panne ?
Les injecteurs de carburant fonctionnent sous haute pression et à une chaleur extrême, ce qui les rend sujets à une usure progressive ou à une contamination. Les causes courantes de défaillance sont les suivantes :
- Contamination du carburant par des débris ou de l'essence de mauvaise qualité.
- Buses obstruées ou restreintes en raison d'une accumulation de carbone.
- Fuite des joints ou des joints toriques provoquant une perte de pression.
- Défauts électriques dans les bobines ou les connecteurs des injecteurs.
- Corrosion due aux carburants mélangés à l’éthanol ou à l’humidité.
Les symptômes d'injecteurs défectueux comprennent un ralenti irrégulier, des ratés d'allumage du moteur, une consommation de carburant accrue, une perte de puissance ou un voyant de contrôle du moteur.
Pourquoi remplacer les injecteurs de carburant défectueux ?
Le remplacement des injecteurs usés ou endommagés restaure l'efficacité et la réactivité du moteur de votre Porsche. De nouveaux injecteurs garantissent un apport précis de carburant et des performances équilibrées sur tous les cylindres.
Les avantages du remplacement comprennent :
- Douceur et performances du moteur restaurées.
- Réponse de l'accélérateur et puissance améliorées.
- Émissions réduites et meilleure économie de carburant.
- Combustion fiable avec une précision de qualité fabricant.
Notre gamme d'injecteurs est conçue à l'aide d'une ingénierie de haute précision et de matériaux résistants à la corrosion, garantissant des modèles de pulvérisation, des débits et une longue durée de vie constants dans toutes les conditions.