Saisissez votre numéro de TVA ici et cliquez sur Vérifier :
Il n'est pas nécessaire de saisir la partie code pays de votre numéro de TVA car elle a déjà été sélectionnée dans votre adresse de facturation ci-dessus.
Vos coordonnées ont été vérifiées. Numéro de TVA enregistré au nom de:
,
.
Votre commande sera désormais détaxée au titre de la TVA. Nous nous réservons le droit de vérifier ces détails une fois votre commande passée et de rétablir la TVA si nécessaire.
Vos données de TVA n'ont pas été reconnues ou n'étaient pas valides. Votre numéro de TVA doit correspondre à votre pays de facturation tel que spécifié ci-dessus. Il est actuellement spécifié comme . Vous n'avez pas besoin de saisir la partie code pays de votre numéro de TVA car elle a déjà été sélectionnée dans les détails de votre adresse de facturation ci-dessus.
Le service de vérification du numéro de TVA est actuellement hors ligne. Veuillez indiquer votre numéro de TVA dans le champ « Commentaires ou instructions spéciales » ci-dessous et nous appliquerons une remise de TVA après avoir passé votre commande.
Plaques de couverture de disque de frein
Plaque de protection du disque de frein avec barre de retenue et fixations de barre.
LOT DE 2

Porsche 914-6 - 1970 à 1976
Diagramme de référence n° 3, 4, 5 et 6
Ce qu'il fait :
• Protège les disques de frein arrière de la saleté, des débris et des projections de la route
• Aide à maintenir un refroidissement efficace et protège les surfaces du rotor
Au fil du temps, les plaques de protection d'origine peuvent se corroder, se déformer ou être endommagées par des fixations cassées. Un kit de remplacement restaure la protection, préserve l'intégrité des composants de freinage et préserve leur aspect d'origine.
Numéros de référence associés
Numéros associés, remplacés, de référence croisée ou alternatifs à des fins de comparaison.
90135280121
Le produit que vous consultez fait référence à ces numéros
- Porsche 914 (1970-1976)


Porsche 911 1969-89
Porsche 930 1975-77
Porsche 914-6 1970-76
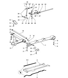
Cliquez sur « Zoom avant » pour un schéma de pièces de grande taille.
Diagramme de référence n° 5
Numéros de référence associés
Numéros associés, remplacés, de référence croisée ou alternatifs à des fins de comparaison.
90135180117
Le produit que vous consultez fait référence à ces numéros
- Porsche 911 1968-1973 2.2L / 2.4L / 2.7L RS LWB (F)
- Porsche 911 1974-1977 2.7L / 1976-77 3.0 Carrera
- Porsche 911 1978-1983 3.0L / SC
- Porsche 911 1984-1986 3.2L
- Porsche 911 1987-1989 3.2L G50
- Porsche 911 1975-1977 3.0L Turbo (930)
- Porsche 914 (1970-1976)
S'adapte à l'avant et à l'arrière.


Porsche 911/912 1965-69
Porsche 911 1970-89
Porsche 930 1975-89
Porsche 914 1970-76
Schéma Ref No 6
- Porsche 911 1965-1968 2.0L / 912 SWB (F)
- Porsche 911 1968-1973 2.2L / 2.4L / 2.7L RS LWB (F)
- Porsche 911 1974-1977 2.7L / 1976-77 3.0 Carrera
- Porsche 911 1978-1983 3.0L / SC
- Porsche 911 1984-1986 3.2L
- Porsche 911 1987-1989 3.2L G50
- Porsche 911 1975-1977 3.0L Turbo (930)
- Porsche 911 1978-1989 3.3L Turbo (930)
- Porsche 914 (1970-1976)
Ce kit de plaque de protection de disque de frein arrière est fourni avec des plaques de protection, une barre de retenue et du matériel de montage. Il restaure la protection appropriée du soubassement aux normes d'usine.

Porsche 914-6 - 1970 à 1976
Diagramme de référence n° 3, 4, 5 et 6
Ce qu'il fait :
• Protège les disques de frein arrière de la saleté, des débris et des projections de la route
• Aide à maintenir un refroidissement efficace et protège les surfaces du rotor
Au fil du temps, les plaques de protection d'origine peuvent se corroder, se déformer ou être endommagées par des fixations cassées. Un kit de remplacement restaure la protection, préserve l'intégrité des composants de freinage et préserve leur aspect d'origine.
Numéros de référence associés
Numéros associés, remplacés, de référence croisée ou alternatifs à des fins de comparaison.
90135280121
Le produit que vous consultez fait référence à ces numéros
- Porsche 914 (1970-1976)

#de face#
Porsche 911 1969-89
Porsche 930 1975-77
Porsche 914 1970-76
Cliquez sur "Zoom avant" pour le schéma des grandes pièces.
Schéma Ref No 5
Numéros de référence associés
Numéros associés, remplacés, de référence croisée ou alternatifs à des fins de comparaison.
90135180117
Le produit que vous consultez fait référence à ces numéros
- Porsche 911 1968-1973 2.2L / 2.4L / 2.7L RS LWB (F)
- Porsche 911 1974-1977 2.7L / 1976-77 3.0 Carrera
- Porsche 911 1978-1983 3.0L / SC
- Porsche 911 1984-1986 3.2L
- Porsche 911 1987-1989 3.2L G50
- Porsche 911 1975-1977 3.0L Turbo (930)
- Porsche 914 (1970-1976)

Porsche 911 1969-89
Porsche 930 1975-77
Porsche 914-6 1970-76
Schéma de référence n° 5
Numéros de référence associés
Numéros associés, remplacés, de référence croisée ou alternatifs à des fins de comparaison.
90135180117
Le produit que vous consultez fait référence à ces numéros
- Porsche 911 1968-1973 2.2L / 2.4L / 2.7L RS LWB (F)
- Porsche 911 1974-1977 2.7L / 1976-77 3.0 Carrera
- Porsche 911 1978-1983 3.0L / SC
- Porsche 911 1984-1986 3.2L
- Porsche 911 1987-1989 3.2L G50
- Porsche 911 1975-1977 3.0L Turbo (930)
- Porsche 914 (1970-1976)
Convient à :
Porsche 911 1969-73 ARRIÈRE
Porsche 914-6 1970-76 ARRIÈRE
Schéma de référence n° 5
Numéros de référence associés
Numéros associés, remplacés, de référence croisée ou alternatifs à des fins de comparaison.
91435208500
Le produit que vous consultez fait référence à ces numéros
- Porsche 911 1965-1968 2.0L / 912 SWB (F)
- Porsche 911 1968-1973 2.2L / 2.4L / 2.7L RS LWB (F)
- Porsche 928GT 5.0L 1989-91
- Porsche 914 (1970-1976)
-
Carter moteur 914 1970-76 111-005
-
Culasse 914 1970-76 113-000
-
Refroidissement par air 914 1970-1976 115-000
-
Raccord d'admission / Tuyau d'admission / Arbre de commande 914-1,8V 1970-76 117-005
-
Système d'injection 914-4/1,7 et 914-1,8/2,0 1970-76 117-010
-
Pompe à essence 914-1,8V 1970-76 201-020
-
Transmission de remplacement / Boîtier de transmission 914 1970-76 302-000
-
Train avant / Stabilisateur 914 1970-76 401-000
-
Jambe d'amortisseur / Lubrifiants 914 1970-76 402-000
-
Frein à disque - Avant - 914 1970-76 602-000
-
Frein à disque - Arrière - (Modèle : SB) 914 1970-76 603-000
-
Moteur électrique 914 1970-76 901-015
-
Générateur / Pièces détachées 914 1970-76 902-005
Caches de disques de frein Porsche | Design911 : pièces de rechange de haute qualité pour la protection, le refroidissement et la longévité
Les plaques de protection des disques de frein, aussi appelées plaques d'appui ou pare-poussière, sont des composants essentiels qui protègent les disques et les étriers de frein de votre Porsche de la saleté, des débris et de la chaleur excessive. Placées derrière le disque de frein, elles contribuent à maintenir une performance de freinage constante en protégeant le système de freinage des contaminants et en améliorant le flux d'air de refroidissement. Que ce soit pour la restauration ou l'entretien, le remplacement des plaques de protection usées contribue à préserver l'efficacité du freinage et à prolonger la durée de vie des composants.
Chez Design911, nous proposons une gamme complète de caches de disques de frein, conçus avec précision pour un ajustement parfait et une durabilité accrue. Fabriqués à partir de matériaux résistants à la corrosion et conçus pour supporter des charges thermiques élevées, nos caches garantissent une fiabilité et une protection durables, aussi bien sur route que lors de vos déplacements sportifs. Idéals pour l'entretien, la restauration ou les projets de modernisation, ces composants préservent la puissance de freinage et l'intégrité de votre Porsche.
À quoi servent les plaques de protection des disques de frein ?
Les plaques de protection des disques de frein jouent un rôle crucial de protection et de gestion thermique au sein du système de freinage de votre Porsche.
Fonctions principales :
• Protégez les disques de frein et les étriers des débris de la route, de l’eau et de la poussière.
• Aide à la dissipation de la chaleur lors du freinage.
• Réduit la corrosion en empêchant l’accumulation de contaminants.
• Maintenir une efficacité et des performances de freinage constantes.
• Contribue à un flux d’air adéquat pour le refroidissement sous charge de freinage.
Grâce à des plaques de recouvrement efficaces, les composants de freinage de votre Porsche restent plus propres, plus frais et plus fiables pendant de plus longues périodes.
Pourquoi les plaques de protection des disques de frein tombent-elles en panne ou se dégradent-elles ?
En raison de leur position à proximité de la surface de la route et des composants de freinage, les plaques de recouvrement sont constamment exposées à l'humidité, à la saleté et aux changements de température extrêmes.
Les causes courantes d’échec comprennent :
• Corrosion ou rouille causée par le sel de voirie et l’humidité.
• Dommages physiques causés par des débris de la route ou du gravier.
• Fissuration ou déformation due à la chaleur et aux vibrations.
• Flexion due à une mauvaise installation ou à un impact.
• Usure générale au fil du temps due à l’exposition environnementale.
Lorsque les plaques de recouvrement se détériorent, elles perdent leur fonction protectrice, ce qui permet à la saleté et à l'humidité d'affecter le système de freinage, ce qui peut entraîner une usure prématurée ou une réduction des performances.
Pourquoi remplacer ou mettre à niveau vos plaques de protection de disque de frein Porsche ?
Le remplacement des plaques de protection endommagées ou corrodées restaure la protection essentielle de votre système de freinage et préserve des performances constantes. Les pièces de rechange de haute qualité de Design911 sont conçues pour durer, résister à la chaleur et s'adapter parfaitement à tous les modèles Porsche.
Principaux avantages :
• Restaure la protection complète des disques de frein et des étriers.
• Améliore l’efficacité du refroidissement et la stabilité du freinage.
• Empêche la corrosion et la contamination des composants clés.
• Fabriqué à partir de matériaux durables et résistants à la corrosion.
• Conception à ajustement direct pour une installation simple.
• Convient aux véhicules Porsche classiques et modernes.
Les plaques de protection de disque de frein Porsche de Design911 offrent fiabilité, précision et performances durables — la solution parfaite pour maintenir l'excellence du freinage de votre Porsche.
Points forts
• Plaques de protection et pare-poussière pour disques de frein Porsche de qualité supérieure.
• Fabriqué en acier ou en aluminium à haute résistance et résistant à la corrosion.
• Protège les composants de freinage des débris et de l’humidité.
• Aide au flux d’air de refroidissement pour des performances optimales.
• Idéal pour la restauration, l’entretien ou les améliorations de performances.
• Convient à une large gamme de modèles Porsche pour une compatibilité parfaite.